Занятие №4 (ВчУ) (1039406), страница 5
Текст из файла (страница 5)
Конфигуратор чтения состоит из следующих узлов:
-
схемы выработки управляющих сигналов сдвига информации;
-
коммутатора приёма, сдвига и выдачи информации;
На схему выработки управляющих сигналов сдвига информации поступает признак полуслова (или младший разряд адреса А1, А’2) и код конфигурации 5-7р Кф с регистров конфигураторов чтения РКфЧ1 и РКфЧ2, расположенных в ТЭЗе ЛУС-2-056.
3-х разрядный код конфигурации и признаки полуслова обеспечивают выработку восьми управляющих сигналов сдвига информации :1б1б, 2б1б, 3б1б, 4б1б, 1б2б,2б2б,3б2б,4б2б.
Управляющие сигналы обеспечивают сдвиг информации в зависимости от кода конфигурации и признаков полуслова . Для конфигурирования информации используются коды 000, 001, 010, 011, 110, 111. Код конфигурации 100 используется для передачи полноразрядных слов. Код конфигурации 101 в конфигурировании информации не участвует, а используется как признак записи информации ПОУ СВ.
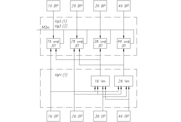
Конфигуратор записи (КфЗ). Запись информации в ОЗУ осуществляется всегда через конфигуратор записи (КфЗ) при участии конфигуратора чтения первого (КфЧ1) по командам пересылки информации П2 и П3.
Рис. 10. Структурная схема конфигурирования информации при записи.
Источником информации является 1-4 байты ОР, а потребителем — блок ОЗУ.
Запись осуществляется в три этапа:
-
чтение информации из ячейки на ВР;
-
формирование полноразрядного слова;
-
запись в ОЗУ.
При чтении информации из ячейки памяти на ВР с конфигурацией (кроме КфЧ=4) можно разделить информацию на пассивную часть и активную.
Активная часть при записи заменяется, а пассивная остается без изменения.
Формирование полноразрядного слова для записи в ОЗУ осуществляется конфигуратором записи (КфЗ). Полноразрядное слово состоит из 2-х частей:
-
1-я часть, выделенная КфЧ1 (активная);
-
2-я часть с входного регистра (ВР) (пассивная), которая не изменяется.
Это действительно для значений кода конфигурации числа 0,1,2,3,6,7.
Конфигуратор записи состоит из 2-х частей ТЭЗов ЛУС-2-017 ( КфЗ(1) и КфЗ(2)).
КфЗ 1 формирует 1,3-й байт информации, а КфЗ 2 — 2,4 байт.
Структурная схема конфигурирования информации и формирование полноразрядного слова для записи в память (конфигуратор записи) по командам пересылки П2, П3 представлена на рис. 10. На структурной схеме представлены следующие узлы:
-
конфигуратор чтения (КфЧ1), конфигурирующий информацию, поступающую из ОР;
-
конфигуратор записи (КфЗ1, КфЗ2), формирующий полноразрядное слово в зависимости от кода конфигурации и признака полуслова;
-
регистр ОР, с которого нужно переслать информацию в ОЗУ;
-
регистр ВР (где хранится информация ячейки памяти, которую надо сохранить при записи).
Работу схемы целесообразно рассмотреть при одном из значений кода конфигурации числа.
Например при записи в память целого слова из оперативных регистров используется код конфигурации 100. признак полуслова при этом в анализе не участвует.
4, 4б ОР подаются на КфЗ через КфЧ1, а 1,2б — непосредственно.
При остальных видах конфигурации активная часть поступает с КфЧ1, а пассивная с ВР. Конфигуратор чтения при этом выделяет два байта информации 1бЧт и 2бЧт (рис 43. л.110), поступающие на коммутаторы.
Схемы выработки управляющих сигналов формирования 1,3б и 2,4б информации вырабатываю по пять управляющих сигналов, которые также поступают на коммутаторы. Управляющие сигналы вырабатываются не используя коды конфигурации и 2.
На коммутаторы также подается информация с ОР, ВР и управляющий сигнал с УК — ВдС.
Коммутатор 1,3го байта выделяет на место 1го байта информации, выдаваемой в МЗп (ВМК), 1б Чт v 1б ОР v 1б ВР, на место 3го байта — 1б Чт v 3б ВР под действием соответствующих управляющих сигналов, при клапанировании сигналом Вд.С.
Коммутатор 2го и 4го байтов выделяет на место 2го байта информации — 2б Чт v 2б ОР v 2б ВР, а на место 4го байта информации — 2б Чт v 4б ВР.
Таким образом, сформированная 36-разрядная информация через усилители-согласователи СНШ 182-07 выдается в магистраль записи (МЗп) и по признаку модифицированной записи (ПрЗп) поступает в ОЗУ для записи.
3.7. Схема взаимодействия с ЗУ (Сх В ЗУ).
Схема взаимодействия с ЗУ осуществляет:
-
анализ вида обращения (к ЗУ или ОР);
-
формирует адрес блока ЗУ (адрес модуля АМ);
-
формирует сигналы, управляющие обращением к ЗУ;
-
управляет выдачей адреса блока ЗУ в магистраль адреса (МА).
Для решения вышеперечисленных задач схема состоит из следующих устройств:
-
схемы анализа обращения;
-
схемы формирования адреса блока ЗУ;
-
схемы формирования сигналов, управляющих обращением к ЗУ;
-
схемы выдачи адреса блока ЗУ в магистраль адреса (МА).
Адрес второго операнда (А2) в формате команды 16 разрядный и по нему может осуществляться обращение как к ОР так и к ЗУ. При обращении к ОР адрес находится в 27-31-м разрядах, в остальных одиннадцати разрядах должны быть нули.
Схема анализа обращения представляет собой сборку из одиннадцати разрядов и размещается в ТЭЗе ЛУС-2-О54. На входы ее заведены 16-26-й разряды первого регистра результата (РР1). При наличии хотя бы одной единицы в этих разрядах обращение будет осуществляться к ЗУ.
Схема формирования адреса блока ЗУ вырабатывает 4-разрядный адрес блока, который формируется из приращений баз ДЗУ команд и чисел (Б ДЗУ К, Б ДЗУ Ч), баз ОЗУ команд и чисел (Б ОЗУ К, Б ОЗУ Ч) и значений 16,17,18-разрядов второго адреса (А2’), находящегося в РР1.
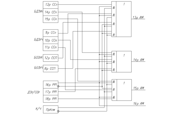
Условная схема выработки адреса блока ЗУ представлена на рис. 11.
В качестве сигналов, управляющих получением АМ, используется информация в 16-м разряде РР1, указывающая тип обращения («0» — к ОЗУ, «1» — к ДЗУ), и сигнал Пр КОМ (Пр обращения за командой): 0 за числом («0» — обращение за числом, «1» — за командой). Схема работает только в том случае, если 7-й разряд регистра ССП (признак авторазрыва) равен нулю. В противном случае базы в формировании адреса блока ЗУ не участвуют и считаются равными нулю.
Разряды адреса блока ЗУ обозначаются как 13-16р АМ и выдаются в УК через усилители -согласователи СНШ 182-09 в инверсном коде.
Одновременно АМ выдается на схему приема информации с ПОУ для формирования сигнала ОСТ.2. Конструктивно схема формирования АМ размещена в ТЭЗе ЛУС-2-083.
Рис.11 .Условная схема выработки адреса модуля ЗУ.
Схема формирования сигналов, управляющих обращением к ЗУ, формирует сигналы ТрОбр 1 при чтении из памяти и сигналы ТрОбр 2 и УЗП, управляющие записью в память.
Конструктивно схема формирования сигналов, управляющих обращением к ЗУ, расположена в ТЭЗе ЛУС-2-083.
Работу схемы целесообразно рассмотреть на общем случае записи в память.
Временная диаграмма, иллюстрирующая работу схемы, изображена на рис 12.
Исходное состояние после прихода сигнала НУ следующие:
-
триггер Т2 — в «единичном» состоянии;
-
триггера Т1, Т3, Т5 — в «нулевом» состоянии;
-
триггер Т4 — в неопределенном состоянии до момента поступления сигнала Авх со схемы управления ВчУ, который вырабатывается сразу после пуска (устанавливается в «нулевое» состояние при наличии Авх по СНС 4 и сигнала ТрОбрII становится равными единице);
-
сигнал Тобр1 равен единице;
-
сигнал УЗП равен нулю.
Рис. 12. Временная диаграмма управляющая выработкой сигналов, управляющих взаимодействием с ЗУ.
При обращении на запись схема управления ВчУ вырабатывает сигналы Обр. и Пр.3п, которые поступают на -входы триггеров Т1 и Т3 соответственно и по СИС 1 устанавливают эти триггеры в «единичное» состояние.
Если обращение осуществляется в ЗУ (т.е. сигнал со схемы анализа обращения в ЗУ/ОР равен единице), то формируется сигнал ТрОбр.1 равный нулю, который по КШУ1 выдается в УК.
В очередном такте работы УК в ответ на ТрОбр.1 выдает сигнал Вд.А, по которому вырабатывается сигнал УЗП равный единице. Состояние триггера Т2 подтверждается.
Единица на выходе триггера Т2 обеспечивает срабатывание триггера Т1 по окончании сигнала ОБР по К – входам (устанавливается в «нулевое» состояние по СИС1) тем самым сигнал ТрОбр.1 устанавливается в «единицу», запрещая тем самым повторное обращение в данный блок ЗУ. Если данный блок ЗУ занят или есть обращение от более приоритетного процессора, то сигнал Вд.А УК не вырабатывает. В этом случае триггер Т2 «обнуляется», сигнал Тр.Обр.1 остается в нуле и обращение повторяется.
В очередном такте работы, УК выдаст в КШУ сигнал Пр.С, по которому, при отсутствии сигнала Сб. Зу триггер Т4 по СИС1 устанавливается в «единичное» состояние (условия для срабатывания этого триггера были подготовлены триггером Т3 — единичное состояние). С прямого выхода триггера Т4 высокий уровень поступает через схему «ИЛИ» на вход К триггера Т3 и по СИС устанавливает его в «нулевое» состояние. Если обращение на запись осуществлялось к ОР, то ТЗ сбрасываются сигналом Пр.КОМ из устройства управления ВчУ.
Со второго (инверсного) выхода триггера сигнал ТрОбр.2 низкого уровня выдается по КШУ 1 в УК. В ответ на него УК выдает сигнал Вд.С, который по СИ 4 устанавливает в «единичное» состояние триггер Т5.
Сигнал с выхода Т5 по следующему СИС1 сбрасывает Т4 в «нулевое» состояние, сигнал ТрОбр2 становиться равным единице, тем самым предотвращает повторное обращение к ЗУ.
На этом работа схемы в режиме записи заканчивается.
В общем случае работа схемы взаимодействия с ЗУ происходит следующим образом:
При любом обращении к памяти на запись или чтение, устройство управления ВчУ (УУ ВчУ) выдает сигнал Обр. Схема взаимодействия с ЗУ (Сх В ЗУ) постоянно производит анализ обращения (к ОР или к ЗУ) и формирует адрес блока ЗУ (АМ). Если обращение осуществляется к ЗУ, то по сигналу Обр схема взаимодействия с ЗУ (Сх В ЗУ) вырабатывает сигнал ТрОбр 1. В ответ УК выдает сигналы ВдА, управляющий выдачей адреса в магистраль адреса (МА) и завершающий формирование ТрОбр 1. Далее УК вырабатывает сигнал ПрС, сопровождающий число из магистрали чтения (МЧт) на ВР. Так происходит работа схемы взаимодействия с ЗУ (Сх В ЗУ) при считывании информации из внешней памяти.
При записи устройство управления ВчУ дополнительно к сигналу Обр выдает сигнал ПрЗп (признак записи информации). В ВчУ осуществляется только модифицированная запись, то есть сначала вся информация считывается из ячейки, а лишь затем производится запись в нее нужной информации. При записи информации во входной регистр (ВР) по сигналу ПрС в схеме взаимодействия с ЗУ формируется сигнал ТрОбр 2. В ответ УК выдает сигнал ВдС, по которому вновь сформированное слово передается в магистраль записи (МЗп) и завершается формирование сигнала ТрОбр 2.
3.8. Схема прерывания программ (Сх Пр)
Схема прерывания программ (Сх Пр) предназначена для:
-
приема и хранения заявок на внешние (по заявкам от абонентов), внутренние (от схем аппаратного контроля) и программные прерывания;
-
программного маскирования принятых заявок;
-
выработки сигнала Подм. АВР, управляющего прерыванием;
-
прерывания выполняемой программы и организации выполнения вклинивающейся подпрограммы, соответствующей сигналу, вызвавшему данное прерывание;
-
сброса заявок на прерывание по окончании их обслуживания.
В ВчУ выбрана одноуровневая система прерываний (то есть прерывание в прерывании не происходит) с линейным приоритетом обслуживания. Часть функций прерывания программ выполняются аппаратными, а часть программными средствами.
Схема прерывания программ состоит из (рис 13):
-
регистра заявок (РЗ);
-
регистра масок (РМ);
-
схемы сборки;
-
схемы формирования сигнала Подм.АВР;
-
схемы подмены адреса;
-
схемы поразрядного сравнения.
16-разрядный регистр заявок (РЗ) служит для приема и хранения запросов на прерывания. Собран РЗ на JК- триггерах. Канальные (внутренние и внешние) заявки синхронизируются (СИ4) и поступают на единичные установочные входы соответствующих (согласно установленному приоритету) разрядов регистра. Для установки и исключения программных заявок на вход регистра заявок заведены 16-31-й разряды регистра РР1. Запись на РЗ управляется сигналами установки заявок (УЗ) и сигналами исключения заявок (ИЗ). Размещен в ТЭЗе ЛУС-0-032.
Регистр масок (РМ). В схеме прерывания программ предусмотрена возможность программно управлять (разрешать или запрещать) прерыванием от каких-либо запросов. Для этой цели существует специальный 16-разрядный регистр масок (РМ). Каждому разряду РЗ соответствует свой разряд РМ. На вход РМ заведены также разряды с 16 по 31-й первого регистра результата (РР1) для установки и исключения маски соответственно. Размещен РМ в ТЭЗе ЛУС-0-032.
Запись на РМ и РЗ осуществляется по СИ2 при наличие управляющих сигналов Упр.б РМ/3, УЗ, ИЗ, УМ и ИМ. Данные сигналы формируются в дешифраторе кода записи (ТЭЗы ЛУС-2-060 и ЛУС-0-032) в командах загрузка оперативных регистров (ЗОР) при значениях кода конфигурации записи КфЗ=001,010,011 и 100 соответственно.
Обобщенный управляющий сигнал Упр.б. РП/РЗ вырабатывается в ТЭЗе ЛУС-2-080 во всех командах загрузки регистров заявок и масок.















