Пат2263886 (1033223)
Текст из файла
ФРИКЦИОННЫЙ ВАКУУМЕТР.
Изобретение относится к вакуумной технике, в частности к приборам для измерения степени вакуума и может быть использовано при измерении давлений в диапазоне 105…10-10 Па.
Известны вакуумметры с вращающимися элементами, в которых используется зависимость коэффициента вязкости разреженного газа от давления [1]. Использование вакуумметров этого типа ограничено наличием трения в подвесе, так как при уменьшении давления момент трения вращающегося тела о газ уменьшается и становится соизмеримым с моментом трения в подвесе. Наиболее близким к изобретению по технической сущности является роторный вакуумметр и магнитным подвесом [2]. Основным недостатком прототипа является сложность изготовления используемых в нем опор, связанная с большой нестабильностью магнитного поля постоянного магнита в радиальной и осевой плоскостях. Кроме того, при низких давлениях взаимодействие ротора с молекулами газа мало, что приводит к невозможности его использования при низких остаточных давлениях окружающей среды.
Для преодоления указанных недостатков, в данном вакуумметре применяется способ измерения давления и степени вакуума, основанный на измерении коэффициента трения в контактной паре, приведенный в [3], что позволяет значительно расширить диапазон измеряемых давлений.
Предполагается измерять силу трения вращающегося кольца о измерительное кольцо по углу поворота измерительного кольца относительно его статического положения. Затем по углу поворота определяется остаточное давление газа. Данная конструкция позволяет использовать для подвески вала стандартные опоры вращения на шарикоподшипниках, поскольку угол поворота измерительного кольца относительно мал, и коэффициент трения в опорах не вносит большой погрешности в работу устройства.
По принципу действия наиболее близким к изобретению является способ измерения чистоты поверхности подложки, описанный в [4]
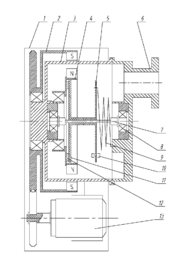
Фрикционный вакуумметр рис.1 состоит из корпуса 3, магнитного ввода вращения 2, первичного ротора 4 с фрикционным кольцом 12, подвешенного в вакууме на подшипниках 8, измерительного ротора 5 с фрикционным кольцом 11, подвешенного на валу 7, оптронной пары 10, закрепленной непосредственно на корпусе, калиброванной пружины кручения 9, связанной с измерительным ротором, присоединительный фланец 6 для присоединения к испытуемой вакуумной системе и привод 13. Основными рабочими элементами вакуумметра являются два кольца из заданного материала, поверхность которых обработана с заданной точностью 12 и 13, которые соединены с прижимным и измерительным роторами. На одном из колец имеются окна, обеспечивающие доступ окружающей газовой среде к паре трения и образовывать на поверхности трения такое количество сорбата, которое соответствует равновесному состоянию или близко к нему.
Вместо подшипников скольжения можно использовать упругие пружинные опоры, поскольку угол поворота ротора не превышает 90 градусов. В этом случае необходимость в пружине 9 отпадает
Для того, чтобы вакуумметр имел малую инерционность необходимо, согластно [1], чтобы, окружающая газовая среда могла образовывать на поверхности трения такое количество сорбата, которое соответствует равновесному состоянию или близко к нему. Для этого на одной из поверхностей трения должны быть предусмотрены окна, предназначенные для обеспечения доступа окружающей газовой среды к поверхности трения.
Критической областью давлений, с точки зрения обеспечения чувствительности, является область, при которой газовая среда образует на поверхности трения один монослой сорбата, что соответствует переходу от высокого к сверхвысокому вакууму. Поэтому соотношение длинны окна к скорости вращения ротора должно находиться из условия образования одного монослоя сорбата на поверхности трения.
Представленный ниже фрикционный вакуумметр сконструирован с учетом данных требований.
Формула изобретения.
Устройство для измерения вакуума, содержащие корпус, присоединяемый к испытуемой вакуумной системе, первичный ротор, приводимый во вращение привода через ввод вращения в вакуум, расположенный в атмосфере, измерительный ротор, подвешенный на опорах с малым собственным моментом сопротивления и связанный с корпусом с помощью упругого торсиона, измерительное устройство (например оптронное), измеряющее угол закручивания торсиона связанного с измерительным ротором, отличающийся тем, что с целью расширения диапазона измеряемых давлений и измерения степени вакуума в областях сверхвысокого и ультравысокого вакуума фрикционное кольцо измерительного ротора прижат фрикционному кольцу первичного ротора с заданной осевой силой с помощью тарированной пружины сжатия а зоны контакта измерительного и первичного роторов имеют окна открытые в область вакуума, за счет которых происходит стабилизация коэффициентов покрытия контактирующих поверхностей измерительного и первичного роторов; при этом угол кругового сектора, занимаемого окном определяется выражением:
где L – длинна окна, D – средний диаметр дорожки трения; V – максимальная скорость трения, допускающая образование равномерного слоя сорбата на поверхностях трения
; N1п – количество молекул газа на единице поверхности, T – температура поверхности, К.
- коэффициент прилипания;
- «критическое» значение давления, соответствующие переходу системы от высокого к сверхвысокому вакууму PК 10-4Па.
Такое окно позволяет при критическом давлении PК полностью (в зоне кармана) восстановиться исходному слою сорбата на поверхности трения, то есть обеспечить ярко выраженный максимум силы трения при измерении давления и степени вакуума.
рис. 1
1) С.Дешман «Научные основы вакуумной техники», М. 1964, изд. «Мир», стр. 219-231
2). Авторское свидетельство №720348 (СССР). Б.И. – 1979-№43
3). E.A Deulin, A.A. Gatsenko, B.A. Loginiv. Friction force of smooth surfaces of SiO2-SiO2 as a function of residual pressure. Surface Science, 433-435 (1999) 288-292.
4). Авторское свидетельство №161293 (СССР). Б.И. – 1980-№21
Характеристики
Тип файла документ
Документы такого типа открываются такими программами, как Microsoft Office Word на компьютерах Windows, Apple Pages на компьютерах Mac, Open Office - бесплатная альтернатива на различных платформах, в том числе Linux. Наиболее простым и современным решением будут Google документы, так как открываются онлайн без скачивания прямо в браузере на любой платформе. Существуют российские качественные аналоги, например от Яндекса.
Будьте внимательны на мобильных устройствах, так как там используются упрощённый функционал даже в официальном приложении от Microsoft, поэтому для просмотра скачивайте PDF-версию. А если нужно редактировать файл, то используйте оригинальный файл.
Файлы такого типа обычно разбиты на страницы, а текст может быть форматированным (жирный, курсив, выбор шрифта, таблицы и т.п.), а также в него можно добавлять изображения. Формат идеально подходит для рефератов, докладов и РПЗ курсовых проектов, которые необходимо распечатать. Кстати перед печатью также сохраняйте файл в PDF, так как принтер может начудить со шрифтами.
















