книга в верде после распозна (1024283), страница 51
Текст из файла (страница 51)
Отклонения от уставок и возврат в норму фиксируются дополнительно устройством регистрации (с указанием номеров параметров и времени наступления событий).
0
Ъ1_
Ж.
т ст
из т ст
>ВЫХ1
=ттз,
| I | СТ | _ |
| '. > | ||
>Вых2
d6
Гис. 5.40
Если в системе используется экранный пульт (дисплей), то сигнализация отклонений от уставок может выводиться на него. При этом он либо дополняет, либо вовсе исключает мнемосхему со световым табло.
Устройства буквенно-цифровой регистрации. Эти устройства предназначены в ИИС для выдачи печатных ведомостей, отражающих ход контролируемых процессов во времени (с заданной периодичностью), сведения о нарушениях нормальных режимов работы, данные статистического характера об объекте, результаты обработки информации, отчеты о хозяйственно-экономической и финансовой деятельности предприятий и т. п. При наличии ЭВМ в системе используется универсальное быстродействующее устройство широкой печати. В простых ИИС для печатания документов используют канцелярские пишущие машинки рычажно-сегментного типа с электрическим приводом, оборудуя их дополнительными узлами для автоматического управления.
Блоки кодирования времени. Эти блоки формируют кодированные сигналы, соответствующие текущему времени. Такие сигналы используются различными устройствами программного управления в тех случаях, когда выполнение определенных действий связано с текущим значением времени. Кроме того, значение времени регистрируется печатающим устройством вместе со сведениями о всяких событиях, например о выходе параметров за пределы нормы.
Блок кодирования времени (рис. 5.40) содержит: высокостабильный генератор Dl\ делитель частоты D2, у которого импульсы на выходе имеют период 1 мин (практически это счетчик импульсов); счетчик минут D3; счетчик часов D4. Счетчики выдают значение текущего времени в виде двоично-десятичного кода на выходах Вых1, Вых2. В устройстве управления цифровой регистрацией эти коды преобразуются в единично-десятичные с помощью дешифраторов, подобных изображенному на рис. 5.34. 316
Рис. 5.41
Блок снабжен двумя группами клю- f К ЭВМ чей D5 и D6 для ручной корректировки состояний счетчиков минут и часов на случаи их сбоев или перерывов в работе из-за отказов в системе электропитания.
Электронные пульты (дисплеи). Это
устройства отображения информации на экранах электронно-лучевых трубок (ЭЛТ), способные работать в диалоговом режиме (т. е. в режиме оперативного обмена сообщениями) с ЭВМ. На экране может отображаться как буквенно-цифровая, так и графическая информация, притом не только в черно-белом, но и в цветном варианте.
По способу формирования изображения на экране ЭЛТ устройства отображения делятся на растровые и координатные. В первых изображение формируется путем последовательного (по строкам и внутри ,строк) задания яркости точек телевизионного растра. Во вторых изображение формируется из отрезков прямых (или кривых), задаваемых координатами начала и конца отрезка.
На рис. 5.41 приведена структурная схема диалогового устройства отображения буквенно-цифровой информации. Блок сопряжения БС связывает устройство с ЭВМ. Коды отображаемых сообщений хранятся в буферном запоминающем устройстве БЗУ, в котором адрес слова однозначно связан с позицией знака (буквы или цифры) на экране ЭЛТ. Код знака преобразуется генератором знаков ГЗ в управляющие сигналы, с помощью которых на ЭЛТ формируются требуемые изображения. Устройство снабжено средствами редактирования отображаемой информации: буквенно-цифровой клавиатурой БЦК, функциональной клавиатурой ФКи световым пером СП. С помощью БЦК вводятся стандартные знаки и символы. Функциональная клавиатура вместе со световым пером позволяет смещать или стирать элементы изображений, устанавливать режимы работы и т. д.
Световое перо приставляют к выбранной точке экрана, задавая этим координаты места редактирования информации, а функциональной клавиатурой указывают содержание вводимой корректировки изображения. Внутри светового пера содержится светочувствительный элемент, который выдает сигнал в момент, когда бегущий по экрану ЭЛТ электронный луч попадает в точку напротив пера. По времени получения сигнала от светового пера ЭВМ определяет координаты указываемой им точки экрана.
Работой всех блоков и регенерацией изображений на экране ЭЛТ с такой частотой, чтобы они воспринимались глазом как непрерыв
0
ные, управляет блок управления БУ. В качестве БУ может быть применен микрокомпьютер, тогда его оперативная память заменяет буферное запоминающее устройство.
Каналы связи. Для передачи сообщений на расстояния, превышающие несколько километров, в ИИС редко выделяются самостоятельные линии связи, поскольку стоимость их сооружения высока. Каналы большой протяженности для передачи сообщений в ИИС организуются обычно на линиях связи, используемых в основном для телефонирования и телеграфирования. На одной линии создают множество каналов, разделяя их по частоте с- помощью амплитудной или частотной модуляции. Кроме линий связи для организации каналов используются высоковольтные линии электропередачи. Каналы го этим линиям создаются путем наложения высокочастотных сигналов. Наконец, для организации каналов ■ используются радиолинии направленного действия, работающие в диапазоне ультракоротких волн. Такие линии называют радиорелейными. Реже используются радиолинии ненаправленного действия. В последнее время получают распространение оптические каналы связ*и, отличающиеся высокой помехоустойчивостью и пропускной способностью.
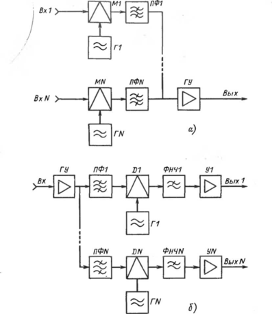
На рис. 5.42,я Приведена структурная схема передающей части ка-налообразующей аппаратуры, предназначенной для частотного уплотнения проводной линии связи. Аппаратура создает N узкополосных каналов в диапазоне звуковых частот. Она содержит N идентичных цепей модуляции и фильтрации, каждая из которых работает на своей несущей частоте. В первую цепь, например, входят модулятор Ml, генератор несущей частоты Г1 и полосовой фильтр ПФ1. Последний необходим потому, что в общем случае диапазон частот модулированного сигнала может быть чрезвычайно широким. Если его не ограничить, то он перекроет области частот, отведенные для работы других каналов. Тогда после суммирования Модулированных сигналов их не удастся разделить на приемной стороне. Границы частотной полосы каждого фильтра задаются так, чтобы между соседними голосами оставался защитный диапазон порядка нескольких десятков герц.
Сигналы с выходов полосовых фильтров суммируются- и через групповой усилитель ГУ подаются на выход, в линию связи.
Схема приемной части каналообразующей аппаратуры приведена на рис. 5.42,б. Входной сигнал из линии связи пропускается через групповой усилитель ГУ и поступает на N идентичных цепей демодуляции. Первая цепь, например, содержит на входе полосовой фильтр ПФ1, выделяющий модулированный сигнал первого канала. Далее следует демодулятор D1, работой которого управляет генератор несущей частоты данного канала П. Сигнал от демодулятора сглаживается фильтром нижних частот ФНЧ1 и через усилитель У1 поступает на-выход данного канала, т. е. к приемнику сообщений.
0
Рис. 5.42
С помощью одной цепи модуляции, показанной на рис. 5.42,с, и одной цепи демодуляции, показанной на рис. 5.42,6", организуется симплексный канал, т. е. канал для передачи сообщений в одном направлении. Для обеспечения двустороннего обмена сообщениями по одной линии связи необходимо организовать на каждой стороне линии идентичные цепи модуляции и демодуляции, используя для них различные несущие частоты. Сумма двух симплексных каналов, работающих во встречных направлениях на разных частотах, образует один дуплексный канал.
0
5.6. СТРУКТУРЫ ИИС
Структура ИИС в укрупненном виде обычно соответствует схеме рис. 5.43. Связанные с объектом контроля или исследования О блоки сбора информации БСИ вводят ее в устройство обработки УО, а результаты обработки выдаются на аналоговые приборы АП, цифровые приборы ЦП (те и другие могут быть как показывающими, так и регистрирующими), блоки сигнализации отклонений от нормальных режимов БС, экранные пульты индикации (дисплеи) ЭПИ.
Однако каждая из перечисленных крупных частей ИИС может строиться по весьма различным схемам в зависимости от выполняемых функций, характеристик контролируемых (исследуемых) параметров объекта, имеющихся датчиков, нормализующих преобразователей, коммутаторов, аналого-цифровых и цифро-аналоговых преобразователей, приборов воспроизведения и т. д., а также от возможностей устройства обработки.
На рис. 5.44 показаны три варианта структур входной части ИИС, обозначенной БСИ на рис. 5.43. В схеме рис. 5.44,я используются индивидуальные нормализующие преобразователи НП, каждый из которых связан со Своим датчиком Д (индексы при обозначениях соответствуют номерам каналов). Далее следуют входной переключатель аналоговых сигналов ВхП и аналого-цифровой преобразователь АЦП, выход которого связан с устройством обработки УО.
В схеме рис. 5.44,6 используются групповые нормализующие преобразователи ГНП Индексы при их обозначениях соответствуют номерам групп. Индексы при обозначениях датчиков Д — двойные: первый означает номер группы, второй — номер канала в группе. При большом числе входных величин в ИИС применение групповых преобразователей вместо индивидуальных дает существенный экономический эффект, но и связано с некоторыми дополнительными трудностями. Входные переключатели ВхП{ — ВхПт должны быть рассчитаны на коммутацию сигналов различных видов и уровней. Групповые нормализующие преобразователи должны обладать достаточно малым временем Т обработки одного параметра. Это время исчисляется от момента подключения переключателем ВхП очередного датчика ко входу ГНП до момента достижения установившегося значения сигнала на его выходе. Значение Т задается исходя из заданного цикла опроса и числа датчиков. Очевидно, к индивидуальным нормализующим пре-
Г"
1~*
БСИ
УО
I______J
АП
ЦП
-*[бс
ЭПИ
Рис. 5.43
0
А
н>0-
KHZ
ВхП АЦП
К УО
An
гнп-,
An
| 0 | / | |
| Йх/?А | Г///7т | |
| 0 | / |
|_Г
| fo | |||
д1\ АП1 ^Щ. ! ВхП
















