ЛР1. Методические рекомендации по созданию трехмерных моделей деталей и их ассоциативных чертежей. (1016890), страница 7
Текст из файла (страница 7)
Размеры, мм
| Номинальный диаметр резьбы d | Шаг резьбы Р | |||
| Диаметр отверстия | ||||
| 4 |
0,5
| 3,50 | 3,52 | |
| 6 | 0,5 | 5,50 | 5,52 | |
|
8
| 0,5 | 7,50 | 7,52 | |
| 10 | 0,5 | 9,50 | 9,53 | |
|
12 | 0,5 | 11,50 | 11,52 | |
| 14 | 0,5 | 13,50 | 13,52 | |
| 16 | 0,5 | 15,50 | 15,52 | |
| 18 | 0,5 | 17,50 | 17,52 | |
| 20 | 0,5 | 19,50 | 19,52 | |
| 22 | 0,5 | 21,50 | 21,52 | |
| 24 | 0,75 | 23,20 | 23,23 | |
| 27 | 0,75 | 26,20 | 26,23 | |
| 30 | 0,75 | 29,20 | 29,23 | |
| 36 | 1 | 34,95 | 35,00 | |
6.6. Соединения деталей с помощью болтов, винтов и шпилек.
При соединении деталей болтом, соединяемые детали имеют гладкие сквозные отверстия под болт (рис.1).
Рис.1. Резьбовое соединение болтом, гайкой и шайбой.
При соединении деталей винтами и шпильками гладкое сквозное отверстие выполняется в притягиваемой детали 1. В сопряженной с ней детали, участвующей в данном соединении, выполняется резьбовое отверстие (рис.2) с соответствующим конструктивным исполнением, например, с отверстием под головку винта. Эти конструктивные элементы называют опорными поверхностями.
а) б)
Рис.2. Резьбовое соединение с применением: а) винта;
б) шпильки, гайки и шайбы.
6.7. Расчет параметров шпилечного соединения.
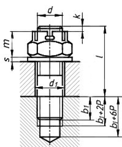
Начнем работу с расчета шпилечного соединения, так как от его параметров зависит конструкция деталей поз.2 и 3. Шпилечное соединение состоит из шпильки, гайки и шайбы (рис.1).
а) б) в)
Рис.4. Конструктивное (а), упрощенное (б), с размерами (в) изображение
-
Расчет параметров стандартных крепежных изделий.
Ш
пилька представляет собой цилиндрический стержень, имеющий с обоих концов резьбу (рис.5).
Рис.5. Шпилька
Одним резьбовым концом (коротким) длиной b1 шпилька ввинчивается в резьбовое отверстие в одной из скрепляемых деталей. На второй конец с резьбой длиной b навинчивается гайка, соединяя детали. Размеры шпильки стандартизованы. По условию материал деталей поз.2 и 3 - сталь 45 ГОСТ 1050-88. Для ввинчивания в сталь предназначены шпильки, выполненные по ГОСТ 22032-76 (табл.5).
Таблица 5. Область применения шпилек.
| ГОСТ | Класс точности | Шероховатость поверхности резьбы, Ra | Материал деталей, в резьбовые отверстия которых ввинчивается шпилька | Длина ввинчиваемого конца b1 |
| ГОСТ 22032-76 | В | 6,3 | Сталь, бронза, латунь, титановые сплавы | b1 = d |
| ГОСТ 22033-76 | А | 3,2 | ||
| ГОСТ 22034-76 | В | 6,3 | Ковкий и серый чугун | b1 =1,25d |
| ГОСТ 22035-76 | А | 3,2 | ||
| ГОСТ 22036-76 | В | 6,3 | b1 =1,6 d | |
| ГОСТ 22037-76 | А | 3,2 | ||
| ГОСТ 22038-76 | В | 6,3 | Легкие сплавы | b1 =2 d |
| ГОСТ 22039-76 | А | 3,2 | ||
| ГОСТ 22040-76 | В | 6,3 | b1 =2,5 d |
По условию шпилька имеет резьбу М12. Из-за повышенной вибрации выбираем мелкий шаг. Для шпильки М12 значение мелкого шага 1.25 мм (табл. 6).
Таблица 6. Размеры шпилек в миллиметрах ГОСТ 22032-76.
| Диаметр резьбы шпильки d | 2 | 2,5 | 3 | 4 | 5 | 6 | 8 | 10 | 12 | 16 | 20 |
| Шаг резьбы крупный | 0,4 | 0,45 | 0,5 | 0.7 | 0.8 | 1 | 1,25 | 1.5 | 1,75 | 2 | 2,5 |
| Шаг резьбы мелкий | _ | _ | _ | _ | _ | _ | 1 | 1,25 | 1,25 | 1,5 | 1,5 |
| b | Х | Х | Х | Х | Х | 18 | 22 | 26 | 30 | 38 | 46 |
| l | 10-80 | 15-160 | 15-160 | 18-160 | 20-160 | 25-160 | 28-200 | 35-200 | 38-200 | 45-240 | 48-240 |
1. Размер(l) выбирается из ряда: 10; 12; 15; 18; 20; 25; 28; 30; 35; 38; 40; 45; 50; 55; 60; 65; 70; 75; 80; 85; 90; 100; 110; 120; 130…
2. Знаком «Х» отмечены шпильки с длиной гаечного конца b = l - 0,5d - 2P.
Конец шпильки длиной b1 называют ввинчиваемым резьбовым концом. Длину ввинчиваемого конца шпильки b1 выбирают, исходя из материала детали, в которую ввинчивают шпильку.
Как видно из Таблицы 5, для шпилек ГОСТ 22032-76
b1=d=12 мм, где d – диаметр резьбы.
Рассчитаем длину шпильки (под длиной шпильки понимается длина стержня без длины ввинчиваемого резьбового конца) по формуле:
l = H + m + sш + K,
где Н - толщина присоединяемой детали, m - высота гайки, sш - толщина шайбы, К - запас резьбы, выступающей над гайкой.
Применяем шестигранные гайки (рис.6) нормальной точности по ГОСТ 5915 - 70 (табл.7).
Рис. 6
Таблица 7. Размеры гаек в миллиметрах ГОСТ 5915-70.
| Диаметр резьбы гайки d | 1,6 | 2 | 2,5 | 3 | 4 | 5 | 6 | 8 | 10 | 12 | 16 | 20 | 24 |
| Шаг резьбы крупный | 0,35 | 0,4 | 0,45 | 0.5 | 0,7 | 0,8 | 1 | 1,25 | 1,5 | 1,75 | 2 | 2,5 | 3 |
| Шаг резьбы мелкий | __ | __ | __ | __ | __ | __ | __ | 1 | 1,25 | 1,25 | 1,5 | 1,5 | 2 |
| S | 3,2 | 4 | 5 | 5,5 | 7 | 8 | 10 | 13 | 16 | 18 | 24 | 30 | 36 |
| e | 3,3 | 4,2 | 5,3 | 5,9 | 7.5 | 8,6 | 10,9 | 14,2 | 17,6 | 19,9 | 16.2 | 33 | 39,6 |
| m | 1,3 | 1.6 | 2 | 2,4 | 3,2 | 4,7 | 5,2 | 6,8 | 8,4 | 10,8 | 14,8 | 18 | 21,5 |
Согласно ГОСТ 5915 - 70 высота гайки при d = 12 мм составляет m=10,8 мм.
















