ЛЕКЦИИ по УФиГС (1001699), страница 7
Текст из файла (страница 7)
1 . Энергетические параметры:
- Рвых - выходная мощность (средняя мощность несущих колебаний в отсутствии модуляции, выделяемая на сопротивлении нагрузки - антенны);
- Р0 - потребляемая мощность (от источника питания);
- КПД
- коэффициент полезного действия;
2. Частотные, или спектральные параметры:
- f0 – несущая (рабочая) частота;
- ∆f0=f0max – f0min - диапазон несущих (рабочих) частот;
- необходимая полоса частот НПЧ;
- занимаемая полоса частот ЗПЧ;
- полоса передаваемых частот информационного сигнала;
Часто вместо нестабильности частоты δf в качестве параметра РПУ используется стабильность частоты, определяемая как (δf) ˉ¹.
Для Тнабл<<1c отклонения частоты имеют быстрый шумоподобный характер, и флюктуации частоты выходных колебаний вызывают «размывание» спектра выходного сигнала РПД, в результате чего в окрестности каждой дискретной составляющей спектра сигнала излучения появляются две боковые шумовые полосы, как показано на рис. 54, и дискретный спектр излучения преобразуется в непрерывный.
Рис.54 Спектр излучения передатчика
При детектировании такого сигнала в приемнике канала связи, появляется продетектированный НЧ-шум, который в случае применения амплитудного детектора рассматривается как результат АМ колебаний несущей частоты – амплитудный шум (АШ), а в случае частотного детектора – как результат ЧМ колебаний несущей частоты – частотный шум (ЧШ). Наличие шума на выходе детектора приемника приводит к уменьшению количества передаваемой информации.
Лекция №11
Для характеристики кратковременной стабильности частоты КСЧ используются «шумовые» параметры передатчика: отношение «шум/сигнал» NΔF(F) [дБ], спектральная плотность шума Sш [дБ/Гц], среднеквадратическая девиация шума Δfш [Гц²], которые связанны между собой соотношением
где F и ΔF – частота отстройки от несущей и полоса, для которых определяется средняя мощность шума Pш. «Необходимая» и «Занимаемая» полосы частот, определяются спектром излучения РПД в широком диапазоне частот, показанном на рис. 55.
Рис.55 Спектральная характеристика РПД
Необходимой полосой частот называется полоса, равная ширине спектра РС, в пределах которой мощность излучения не падает ниже некоторого определенного уровня , достаточного для обеспечения заданного необходимого количества информации.
Уровень внеполосного и побочного излучения определяется соответственно коэффициентами:
где РF – средняя мощность внеполосного излучения в полосе ∆F=1Гц при отстройке на F кГц от несущей, см. рис.55;
Рi - мощность соответствующей составляющей побочного излучения.
Заметим, что для маломощного передатчика P<100 Вт проблемы электромагнитной совместимости отодвигаются на второй план, требования к нестабильности частоты могут быть сформулированы на основании условия обеспечения заданного количества информации или необходимой полосы частот. При этом кратковременная стабильности частоты имеет второстепенное значение.
Классификация РПУ по мощности:
-
Очень малой мощности (Pвых<3 Вт)
-
Малой мощности (Pвых<100 Вт)
-
Средней мощности (Pвых<3 кВт)
-
Мощные (Pвых<100 кВт)
-
Сверхмощные (Pвых>100 кВт).
Возбудители РПУ - синтезаторы частот
Назначением возбудителя является формирование радиосигнала заданной временной формы, синтез которого осуществляется путем генерации гармонического несущего колебания и модуляции этого колебания по закону передаваемого информационного сигнала. Одним из основных требований, предъявляемым к возбудителю, являются обеспечение заданной несущей частоты
и ее нестабильности
. Эти требования определяют метод синтеза несущего колебания и функциональную структуру возбудителя. В настоящее время применяются два метода синтеза колебаний несущей частоты и, соответственно, два типа возбудителей, часто называемых синтезаторами частот:
-
Синтезатор прямого когерентного синтеза – ПКС,
-
Синтезатор частот косвенного некогерентного синтеза – КНС.
Синтезатор частот прямого когерентного синтеза
Синтезатор частот прямого когерентного синтеза осуществляет формирование колебаний путем серии линейных преобразований когерентных гармонических колебаний с частотой, кратной частоте высокостабильного опорного генератора fОГ. Сущность линейных преобразований сводится к выполнению алгебраических операций умножения, деления, сложения и вычитания, таким образом, что частота выходного сигнала f0 связана с частотой опорного генератора (ОГ) дробно-рациональным соотношением:
где mi, ni – целые числа, коэффициенты умножения и деления соответственно.
Функциональная схема синтезатора частот ПКС показана на рис. 56, для которого частота выходного сигнала определяется как:
Рис. 56 Синтезатор частот ПКС.
В диапазонных РПУ с перекрытием заданного диапазона при помощи сетки фиксированных частот с шагом перестройки используются синтезаторы частот ПКС с управляемыми переменными коэффициентами деления и умножения ni, mi. В простейшем случае целого М=
, схема синтезатора частот ПКС реализуется в виде цепочки каскадов умножителей частоты, как показано на рис. 57.
Рис. 5
7 Упрощенная схема СЧ ПКС.
В качестве ОГ синтезатора используются высокостабильные автогенераторы (термостабилизированные, кварцевые, молекулярные).
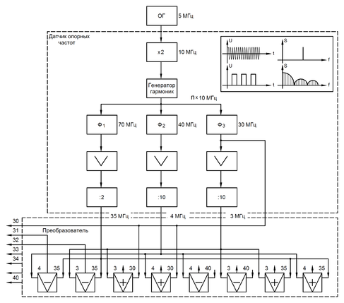
Схема синтезатора частот ПКС, работающего в диапазоне частот
МГц с шагом перестройки
МГц, показана на рис. 58.
Рис. 58. Схема синтезатора частот прямого когерентного синтеза в диапазоне
МГц с шагом перестройки
МГц
Лекция № 12
Синтезаторы частот косвенного некогерентного синтеза (КНС)
Выполняется по схеме синхронизации колебаний перестраиваемого генератора (ПГ) колебаниями высокостабильного опорного генератора (ОГ) при помощи систем фазовой автоподстройки частоты (ФАПЧ) как показано на рисунке 59.
Рис. 59 синтезатор частот КНС
Где на рисунке обозначено:
-
ФД – фазовый детектор
-
ДПКД – делитель частоты с переменным коэффициентом деления
-
ГГ – генератора гармоник
-
Ф – фильтр
-
УПТ – усилитель постоянного тока;
-
ФНЧ – фильтр НЧ;
-
ni – коэффициент деления частоты перестраиваемого генератора f0
-
mi – коэффициент умножения частоты ОГ fОГ
Основным элементом схемы является фазовый детектор, характеристика которого представлена на рисунке 60. Перестраиваемый генератор представляет собой генератор управляемый напряжением, или ПГ-ГУН, в колебательный контур который включен варикап, обеспечивающий перестройку частоты при изменении действия на него постоянного управления напряжения UУ. Колебания с выхода перестраиваемого генератора, после деления их частоты в ni раз, в делителе ДПКД , подающий на вход ФД, а на другой его вход подаются колебания ОГ, частота которых умножена в mi раз с выхода ГГ – умножителя частоты. Выходное напряжение ФД UУ – пропорционально разности частот на его выходах, которые определятся соотношением:
Рис. 60 Характеристика ФД
UУ
0, когда частоты на входе ФД Δf
0. Следовательно, если Δf=0, то f0=fог=0, и частота, соответствующая условию: fСР=mi fОГ – частота сравнения, следовательно:
f0=mi
ni
fОГ Перестройка частоты перестраиваемого генератора – либо за счет изменения mI либо nI. При этом fOI для значения nI: fOi=fСР
ni
fi+1=ni+1
fcp
шаг перестройки:
Δf0i=f0(i+1)
f0i=[ni+1 - ni]
fcp
Шаг перестройки = частоте сравнения;
Δf0i=f0(i+1)-f0i=[( mi+1)- mi]
fcp=fcp
Для уменьшения шага перестройки, необходимо уменьшить частоту сравнения, что обеспечивается в схеме синтезатора заменой ГГ делителем частоты с коэффициентом деления N<n, при этом схема синтезатора частот НКС с 2 делителями частоты на рис. 61:
Рис. 61
Все схемы синтезаторов выполняются на основе интегральных схем (любой степени интеграции), примеры интеграции синтезаторов частоты:
Синтезатор частоты на монопитаемой ИС выполняется следующим образом:
Рис. 62
Рис. 63 СЧ на интегральной схеме ADF 4II3:
Синтезатор выполняется на основе ИМС ADF 4II3, который включает в себя частотно – фазовый детектор, делители частоты с переменными коэффициентами деления N, M, A, R, ЦАП и интерфейс программирования. Синтезатор работает в диапазоне частот Δf0=(1500:4000)МГц. С частотой ОГ f0Г=(5:550)МГц. ЦОС ФАПЧ включает в себя ФНЧ и ОУ на МС AD 820. Широкополосный ГУМ на МС М 3500 2235 – синхронизатор на частотах f0i: f0i=(NM+A)
for/R полосе синхронизации 40МГц, при этом выбор значений N, M, A, R – осуществляется в соответствии с соотношениями:
N=8/9; 16/17; 32/33; 64/65; M=3+8191; A=0+63; R=1+16383.
По заданным значениям ОГ. Пример: спектральная плотность фазовых шумов на выходе синтезатора – соответствует коэффициентом подавления шума: Lш=-173дБ/Гц (F
1МГц) или Lш=-89дБ/Гц (F=(1:10)кГц). Уровень побочного излучения LF=-70дБ; ПС=40кГц. Нестабильность частоты
и уровень шума
на выходе синтезатора – определяются соответствующими параметрами ОГ, заметим, что для синтезов частот прямого когерентного синтеза, эти параметры возрастают в М раз: М=f0/for
Синтезатор частот на гибридной ИС:















