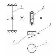
Устройство, предназначенное для создания избыточного давления воздуха или другого газа (до 15 кппри организации воздухообмена, транспортировании аэросмесей по трубопроводам и пр
Вентилятор, в котором воздух (или газ) перемещается вдоль оси рабочего колеса, приводимого в движение электродвигателем
Вентилятор, который предназначен для перемещения воздуха и других газовых смесей, агрессивность которых по отношению к углеродистым сталям обычного качества не превышает агрессивность воздуха с температурой до 80"С
Вентилятор, который предназначен для работы в агрессивных средах
Устройство, предназначенное для создания избыточного давления воздуха или другого газа (до 15 кппри организации воздухообмена, транспортировании аэросмесей по трубопроводам и пр
Вентилятор, в котором воздух (или газ) перемещается вдоль оси рабочего колеса, приводимого в движение электродвигателем
Вентилятор, который предназначен для перемещения воздуха и других газовых смесей, агрессивность которых по отношению к углеродистым сталям обычного качества не превышает агрессивность воздуха с температурой до 80"С
Вентилятор, который предназначен для работы в агрессивных средах
Устройство, предназначенное для создания избыточного давления воздуха или другого газа (до 15 кппри организации воздухообмена, транспортировании аэросмесей по трубопроводам и пр
Вентилятор, в котором воздух (или газ) перемещается вдоль оси рабочего колеса, приводимого в движение электродвигателем
Вентилятор, который предназначен для перемещения воздуха и других газовых смесей, агрессивность которых по отношению к углеродистым сталям обычного качества не превышает агрессивность воздуха с температурой до 80"С
Вентилятор, который предназначен для работы в агрессивных средах
Проанализируйте данные ниже: Уставный капитал – 50 000 руб. Прибыль до налогообложения – 20 000 руб. Налог на прибыль – 5 000 руб. Рассчитайте рентабельность собственного капитала.
Составьте подробный фрагмент плана-конспекта урока математики в начальной школе по изучению величины (площади, периметра или времени – по выбору студента) с использованием наглядных и практических методов обучения. Этапы урока: изучение нового материала и его первичное закрепление. Важно! Фрагмент должен содержать только указанные этапы урока. Последовательность выполнения задания: 1. Проанализируйте программу: Федеральная рабочая программа начального общего образования «Математика» 1–4, раздел «Тематическое планирование»: ФРП_Математика-1-4_классы.pdf 2. Продумайте содержание урока: 1) Выберите класс. 2) Выберите и сформулируйте тему урока, место темы в учебном курсе, ведущие понятия, на которые опирается данный урок. 3) Сформулируйте прогнозируемые результаты урока. 4) Спланируйте учебный материал, подберите учебные задания, целью которых является:
узнавание нового материала, его воспроизведение,
применение знаний в знакомой ситуации,
применение знаний в новой ситуации,
творческий подход к знаниям.
5) Продумайте деятельность учителя и обучающихся (см. наименование разделов и тем, программное содержание, характеристику деятельности обучающихся). Обратите внимание на последовательность работы «от простого к сложному» и смену деятельности учащихся. 6) Продумайте уникальность урока. Каждый урок должен содержать что-то, что вызовет эмоциональный отклик учеников. Это может быть интересный факт, неожиданное открытие, новый опыт, нестандартный подход к уже известному материалу. 7) Укажите планируемые результаты урока. Для указания планируемых результатов можно использовать материал рабочей программы. 8) Подберите необходимые дидактические, наглядные или мультимедийные материалы. 9) Укажите время каждого этапа. 10) Продумайте вид классной (или электронной) доски, чтобы весь новый материал остался на доске в виде опорного конспекта. 3. Составьте фрагмент плана-конспекта урока и оформите его в виде технологической карты урока. Шаблон технологической карты урока представлен в приложении 1. 4. Подготовьте к отправке файл письменного ответа с названием: Ф. И. О. студента_Изучение величин_Вариант 4 5. Загрузите файл письменного ответа в систему дистанционного обучения и отправьте на проверку.
Файл письменного ответа должен включать: 1. Фрагмент плана-конспекта урока, оформленный в виде технологической карты.
Определите, какие из рекомендаций по ситуации корректны. Ситуация: На родительском собрании по выбору модуля, который учащиеся будут осваивать в рамках курса ОРКСЭ, часть родителей негативно отнеслась к преподаванию религиозного курса в рамках школьной программы. Какие аргументы будут верными и помогут поменять точку зрения родителей?
a.Умение вести себя в церкви, знать религиозные обряды необходимо любому жителю нашей страны.
b.В общеобразовательной школе дети не применяют свои знания на практике, а только знакомятся в теоретической форме со всеми разновидностями религиозных направлений и светской этики.
c.Курс ОРКСЭ способен сконцентрировать весь опыт системы воспитательной работы образовательных организаций, направленный на воспитание патриотизма, любви к своей малой родине, к ее людям, их труду, усвоение нравственных ценностей.
d.Дети учатся не столько выражать свою религиозную принадлежность, сколько уважительно и этично относится ко всем культурным сообществам и их представителям.
e.Луше будет, если в рамках одного класса все учащиеся будут одной религиозной конфессии. Занятия ОРКСЭ помогут познакомить весь класс с основами исламской культуры, показать положительные стороны этой религии.
f.Данный модуль стоит в учебном плане, его выбрала администрация школы. Этот вопрос не обсуждается.
Рассмотрите два способа решения представленной задачи на движение в противоположном направлении. Какое новое понятие вводится во втором способе решения? Задача Из одного пункта одновременно в противоположных направлениях отплыли два катера. Один плыл со скоростью 25 км/ч, другой — со скоростью 30 км/ч. Какое расстояние стало между ними через 2 часа? Решение 1-й способ: 1) 25 x 2 = 50 (км) — прошел первый катер за 2 часа. 2) 30 x 2 = 60 (км) — прошел второй катер за 2 часа. 3) 50 + 60 = 110 (км) — расстояние между катерами через 2 часа. Ответ: 110 км расстояние между катерами. 2-й способ: 1) 25 + 30 = 55 (км/ч) 2) 55 x 2 = 110 (км) Ответ: 110 км расстояние между катерами.
Соотнесите названия подходов к преподаванию религии в школе с их описанием.
изучение религиозных традиций реализуется в форме дискуссионного форума, где каждый учащийся должен быть восприимчив и в то же время критичен к рассматриваемым проблемам религиозной культуры
педагоги создают условия для самопознания и поддержки уникального развития каждого ученика, предоставляют как можно больше свободы выбора и условий для реализации ребенком своих природных потенциалов
позволяет ученикам с различными религиозными и мировоззренческими установками совместно участвовать в работе класса и формировать собственные взгляды и точки зрения
изучение истории, возникновения, развития и функционирования религии как социокулътурного явления
По данным Бухгалтерского баланса за 20ХХ год имеются следующие показатели: основные средства – 200 000 руб.; нематериальные активы – 100 000 руб., сырье и материалы – 500 000 руб., денежные средства на расчетном счете – 700 000 руб. Рассчитайте величину внеоборотных активов.
Расположите этапы решения текстовых задач в верной последовательности: 1) _______, 2) ______, 3) _______.
А) Вычленение важных для решения данных, определение неизвестных величин и выражение взаимосвязи между ними с использованием математического аппарата Б) Внутреннее решение модели, то есть вычисление значения выражения, выполнение необходимых операций или решение уравнения В) Перевод математического решения обратно на язык, на котором была сформулирована оригинальная задача
Укажите соответствие между этапами инвентаризации и мероприятиями, им соответствующими:
A. Подготовительный этап
B. Основной этап
C. Заключительный этап
D. формирование инвентаризационной комиссии
E. взвешивание, обмеривание, подсчет, выявление и проверка фактического наличия имущества и обязательств, а также составление инвентаризационных описей
F. сопоставление данных инвентаризационных описей с данными бухгалтерского учета, выявление расхождений, составление сличительных ведомостей оформление результатов инвентаризации
Установите соответствие между счетами и их предназначением:
A. Счет 62
B. Счет 63
C. Счет 69
D. Счет 70
E. предназначен для обобщения информации о расчетах с покупателями и заказчиками
F. предназначен для обобщения информации о резервах по сомнительным долгам
G. предназначен для обобщения информации о расчетах по социальному страхованию, пенсионному обеспечению и обязательному медицинскому страхованию работников организации
H. предназначен для обобщения информации о расчетах с работниками организации по оплате труда, а также по выплате доходов по акциям и другим цен
Коммерческая кредитно-финансовая организация, действующая на основании специального разрешения, для которой законодательно установлены как специфичные возможности по операциям с денежными средствами, так и ограничения на виды деятельности – это …
Расстояние от людей и применяемых ими инструментов до токоведущих частей электроустановок напряжением 220 кВ, находящихся под напряжением должно быть не менее …
Расстояние от людей и применяемых ими инструментов до токоведущих частей электроустановок напряжением 110 кВ, находящихся под напряжением должно быть не менее …
Отгружена продукция покупателю на сумму 120 000 руб., в т. ч. налог на добавленную стоимость (НДС) – 20 000 руб. Фактическая себестоимость отгруженной продукции составляет 70 000 руб., расходы на продажу продукции – 10 000 руб. Рассчитайте результат от продажи продукции.
Braniff Airlines got in trouble in 1987 when it promoted its new leather seats in Mexico with the same campaign it used in the United States: “Fly in leather.” While the Spanish translation, “Vuela en cuero,” was alright throughout much of Latin America, it had a different meaning in Mexico, where the expression translated as “fly nakeD. ” The promotion may have appealed to some flyers, but it was far from the message the airline intended to senD. What should the company have done before launching the campaign?
They should’ve done more market research to know what their competitors’ slogans arE.
They should’ve translated the slogan more carefully, without making grammar mistakes.
They should’ve hired a local (Mexican) marketer for a consultation.
система наблюдения и обобщения фактов хозяйственной деятельности
система наблюдения и контроля за отдельными хозяйственными операциями и процессами с целью получения данных в ходе их совершения
формирование в соответствии с установленными требованиями документированной систематизированной информации об объектах учета и составление на ее основе бухгалтерской (финансовой) отчетности
упорядоченная система наблюдения, сбора, регистрации и обобщения в денежном выражении информации об имуществе, обязательствах организации и их движении
Что является целью закона №261-ФЗ «Об энергосбережении и о повышении энергетической эффективности, и о внесении изменений в отдельные законодательные акты Российской Федерации»?
создание правовых, экономических и организационных основ стимулирования энергосбережения и повышения энергетической эффективности
снижение доли энергоресурсов в себестоимости продукции
повышение энергоэффективности экономики Российской Федерации
Установите соответствие между названиями принципов бухгалтерской (финансовой) отчетности и их содержанием:
A. Принцип начисления
B. Принцип соответствия (увязки)
C. Принцип продолжающейся (непрерывной) деятельности
D. Принцип имущественной обособленности
E. данный принцип заключается в том, что факты хозяйственной жизни отражаются в бухгалтерском учете на момент их совершения, а не по факту получения или перевода денежных средств
F. данный принцип важен для определения финансового результата, так как при его формировании учитываются те расходы, которые привели к образованию дохода в данном учетном периоде
G. данный принцип предполагает, что организация будет продолжать свою деятельность в будущем, что у нее нет намерения сократить операции или прекратить свою деятельность, а обязательства организации будут погашаться в установленном порядке
H. данный принцип означает, что организация, составляющая отчетность, является самостоятельным хозяйственным субъектом и факты хозяйственной жизни собственника не включаются в учетные данные его организации
Imagine you are running a startup that sells organic beauty products onlinE. To promote your products and attract customers, you spend money on various marketing activities such as online ads, social media promotion, content marketing, and SEO. In a specific month, you spent: $5000 on Google Ads $3000 on VK Ads $2000 on influencers $1000 on content creation for your blog $1000 on SEO During this month, you managed to acquire 200 new customers. What is the customer acquisition cost?
Что является законодательной основой современной государственной политики России в сфере энергоэффективности?
постановления Правительства РФ
закон № 261- ФЗ «Об энергосбережении и о повышении энергетической эффективности, и о внесении изменений в отдельные законодательные акты Российской Федерации»
Юридическое лицо, учредители (участники) которого обладают правом участия (членства) в нем и формируют его высший орган, т.е. форма организации деятельности, основанная на долевой собственности и раздельной функции собственника и управления:
О какой модели поведения в конфликте идет речь: «Пассивна, склонна к уступкам; непоследовательна в оценках, суждениях, поведении; легко соглашается с точкой зрения соперника; уходит от острых вопросов Пассивна, склонна к уступкам; непоследовательна в оценках, суждениях, поведении; легко соглашается с точкой зрения соперника; уходит от острых вопросов»
А знаете ли Вы, что из года в год задания практически не меняются? Математика, преподаваемая в учебных заведениях, никак не менялась минимум 30 лет. Найдите нужный учебный материал на СтудИзбе!
Да! У нас любой человек может выложить любую учебную работу и зарабатывать на её продажах! Но каждый учебный материал публикуется только после тщательной проверки администрацией.
Вернём деньги! А если быть более точными, то автору даётся немного времени на исправление, а если не исправит или выйдет время, то вернём деньги в полном объёме!
Да! На равне с готовыми студенческими работами у нас продаются услуги. Цены на услуги видны сразу, то есть Вам нужно только указать параметры и сразу можно оплачивать.
Отзывы студентов
Ставлю 10/10 Все нравится, очень удобный сайт, помогает в учебе. Кроме этого, можно заработать самому, выставляя готовые учебные материалы на продажу здесь. Рейтинги и отзывы на преподавателей очень помогают сориентироваться в начале нового семестра. Спасибо за такую функцию. Ставлю максимальную оценку.
Лучшая платформа для успешной сдачи сессии Познакомился со СтудИзбой благодаря своему другу, очень нравится интерфейс, количество доступных файлов, цена, в общем, все прекрасно. Даже сам продаю какие-то свои работы.
Студизба ван лав ❤ Очень офигенный сайт для студентов. Много полезных учебных материалов. Пользуюсь студизбой с октября 2021 года. Серьёзных нареканий нет. Хотелось бы, что бы ввели подписочную модель и сделали материалы дешевле 300 рублей в рамках подписки бесплатными.
Отличный сайт Лично меня всё устраивает - и покупка, и продажа; и цены, и возможность предпросмотра куска файла, и обилие бесплатных файлов (в подборках по авторам, читай, ВУЗам и факультетам). Есть определённые баги, но всё решаемо, да и администраторы реагируют в течение суток.
Маленький отзыв о большом помощнике! Студизба спасает в те моменты, когда сроки горят, а работ накопилось достаточно. Довольно удобный сайт с простой навигацией и огромным количеством материалов.
Студ. Изба как крупнейший сборник работ для студентов Тут дофига бывает всего полезного. Печально, что бывают предметы по которым даже одного бесплатного решения нет, но это скорее вопрос к студентам. В остальном всё здорово.
Спасательный островок Если уже не успеваешь разобраться или застрял на каком-то задание поможет тебе быстро и недорого решить твою проблему.
Всё и так отлично Всё очень удобно. Особенно круто, что есть система бонусов и можно выводить остатки денег. Очень много качественных бесплатных файлов.
Отзыв о системе "Студизба" Отличная платформа для распространения работ, востребованных студентами. Хорошо налаженная и качественная работа сайта, огромная база заданий и аудитория.
Отличный помощник Отличный сайт с кучей полезных файлов, позволяющий найти много методичек / учебников / отзывов о вузах и преподователях.
Отлично помогает студентам в любой момент для решения трудных и незамедлительных задач Хотелось бы больше конкретной информации о преподавателях. А так в принципе хороший сайт, всегда им пользуюсь и ни разу не было желания прекратить. Хороший сайт для помощи студентам, удобный и приятный интерфейс. Из недостатков можно выделить только отсутствия небольшого количества файлов.
Спасибо за шикарный сайт Великолепный сайт на котором студент за не большие деньги может найти помощь с дз, проектами курсовыми, лабораторными, а также узнать отзывы на преподавателей и бесплатно скачать пособия.
Этот сайт использует файлы cookie и рекомендательные технологии для улучшения работы и персонализации контента. Продолжая использовать сайт, вы соглашаетесь с этим.