Ответ на вопрос по этике №737650: Что обозначено цифрой «1» на «Кинематической схеме лифтовых лебедок с КВШ? КВШ Редуктор червячный Колодочный тормоз Электродвигатель Что обозначено цифрой «1» на «Кинематической схеме лифтовых - Ответ на вопрос по этике №737650Что обозначено цифрой «1» на «Кинематической схеме лифтовых - Ответ на вопрос по этике №737650
2025-06-182025-06-18СтудИзба
Что обозначено цифрой «1» на «Кинематической схеме лифтовых - Ответ на вопрос по этике №737650
Вопрос
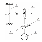
Что обозначено цифрой «1» на «Кинематической схеме лифтовых лебедок с КВШ?
- КВШ
- Редуктор червячный
- Колодочный тормоз
- Электродвигатель
id133069387























