Ответ на вопрос по этике №737641: Что обозначено цифрой «4» на «Кинематической схеме лифтовых лебедок с КВШ? КВШ Редуктор червячный Колодочный тормоз Электродвигатель Что обозначено цифрой «4» на «Кинематической схеме лифтовых - Ответ на вопрос по этике №737641Что обозначено цифрой «4» на «Кинематической схеме лифтовых - Ответ на вопрос по этике №737641
2025-06-182025-06-18СтудИзба
Что обозначено цифрой «4» на «Кинематической схеме лифтовых - Ответ на вопрос по этике №737641
Вопрос
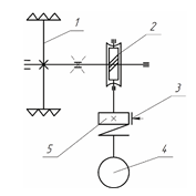
Что обозначено цифрой «4» на «Кинематической схеме лифтовых лебедок с КВШ?
- КВШ
- Редуктор червячный
- Колодочный тормоз
- Электродвигатель
id133069387























