Установки гидравлического транспорта
ЛЕКЦИЯ 21. Установки гидравлического транспорта
План лекции
21.1. Общие сведения о гидротранспортных установках.
21.2. Схемы гидротранспортных установок.
21.3. Элементы гидротранспортных установок.
21.4. Расчет гидротранспортных установок.
21.1. Общие сведения о гидротранспортных установках
Рекомендуемые материалы
На установках гидравлического транспорта (ГТУ) насыпной груз перемещается по трубам или желобам в струе жидкости, как правило, воды. Смесь его с водой называется гидросмесью, или пульпой. Консистенцию пульпы определяет соотношение количества составляющих ее твердого и жидкого компонентов.
Пульпа перемещается по желобам (каналам) самотеком, поэтому желоб должен быть наклонен в сторону движения.
По трубопроводам пульпа транспортируется как самотеком, так и под напором, создаваемым насосом. В последнем случае груз может перемещаться не только вниз, но и по горизонтали или вверх.
Гидравлическое транспортирование насыпных грузов нашло широкое применение. В котельных тепловых электростанций гидравлическим способом производят уборку золы и шлаков, на металлургических заводах – уборку от печей гранулированных шлаков, на предприятиях горной промышленности – транспортирование и подъем на поверхность угля, руд и других полезных ископаемых, а также транспортирование материалов для закладки выработанных пространств, на строительстве – перемещение размытого струей воды грунта.
К преимуществам гидравлического транспорта относятся высокая производительность и большая длина транспортирования без перегрузок по сложной трассе с подъемами под любым углом и по вертикали; отсутствие механического оборудования на трассе трубопровода (за исключением сосредоточенных в отдельных пунктах машинных отделений) и, следовательно, несложное техническое обслуживание; возможность совмещения транспортирования с некоторыми технологическими процессами («мокрым» обогащением полезных ископаемых, гашением и гранулированием шлаков, сортированием по крупности и т. п.); возможность полной автоматизации и, следовательно, невысокая трудоемкость, и пр. Все это определяет во многих случаях более высокие экономические показатели гидротранспорта по сравнению с механическим транспортом – конвейерным, автомобильным, рельсовым.
Недостатками гидравлического транспорта, сужающими область его применения, являются ограничения по роду и характеристикам перемещаемых грузов, в частности по их крупности, что вызывает нередко необходимость предварительного дробления груза; повышенный износ трубопровода и входящих в соприкосновение с гидросмесью механических частей при перемещении абразивных грузов; увеличенный расход энергии; потребность в больших количествах воды; опасность замерзания в зимних условиях; повышение влажности в закрытых помещениях и пр.
21.2. Схемы гидротранспортных установок
Напорные гидротранспортные установки наиболее удобно классифицировать по способу ввода перемещаемого груза в трубопровод, который определяет и применяемое механическое оборудование. Основные схемы установок показаны на рис. 21.1, а и б. В схеме, изображенной на рис. 21.1, а, пульпонасос из резервуара забирает пульпу и нагнетает ее в трубопровод. В схеме, показанной на рис. 21.1, б, водяной насос забирает воду из резервуара и нагнетает ее в трубопровод, а перемещаемый груз вводится в трубопровод специальным устройством, в данном случае представляющим собой камеру с герметичным вращающимся барабанным питателем. Преимуществом первой схемы является отсутствие довольно сложного питающего устройства, а второй – упрощение основного механического агрегата – водяного насоса, работающего на чистой воде, и, главное, уменьшение его износа и повреждений твердыми частицами груза.
В конечном пункте установки пульпа может выбрасываться из трубопровода непосредственно в приемный резервуар (как показано на рис. 21.1, б) или приниматься на водоотделяющий грохот. При необходимости осветленная вода из приемного резервуара отдельным насосом перекачивается в резервуар для пульпы и снова поступает в трубопровод, совершая замкнутый цикл.
В отдельных случаях, если напор может быть создан разностью уровней (например, при спуске в шахту по трубопроводу закладочного материала и последующем транспортировании его под землей до выработанного пространства), насыпной груз и вода подаются в приемную смесительную воронку (рис. 21.1, в).

Рис. 21.1. Схемы гидротранспортных установок: а – с пульпонасосом;
б – с водяным насосом и питателем; в – самотечная; 1 – водопровод;
2 – пульпонасос; 3 – пульпопровод; 4 – насос для осветленной воды;
5 – водоотделительный грохот; 6 – резервуар для пульпы; 7 – водяной насос; 8 – бункер для породы с питателем; 9 – резервуар для воды; 10 – резервуар для пульпы; 11 – бункер для породы; 12 – смесительная воронка
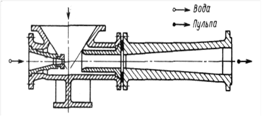
Существуют гидротранспортные установки для шлако- и золоудаления из котельной. Водяной насос нагнетает воду под высоким давлением в водовод, имеющий ответвления к шлаковым и зольным сборникам, из которых шлаки и зола смываются с помощью эжекторов (рис. 21.2) и по сборному пульпопроводу перемещаются в отвал либо передаются в резервуары, а затем грейфером грузятся в вагоны.

Рис. 21.2. Эжекторное устройство
Эжекторное устройство (струйный аппарат) установки работает следующим образом: струя воды под давлением с большой скоростью выходит из конического сопла и, образуя вокруг себя разреженное пространство, засасывает шлак и золу из воронок. Смешение воды и груза и образование пульпы происходит в сменном патрубке, примыкающем к конической трубе, – диффузоре, в котором кинетическая энергия струи снова превращается в потенциальную энергию давления, служащую для дальнейшего транспортирования пульпы по пульпопроводу.
Существуют установки для спуска в шахту и транспортирования к забоям материала (шлак, дробленая порода и пр.), служащего для закладки выработанного пространства, Установка работает по принципу использования естественного напора, образующегося в расположенном в вертикальном стволе трубопроводе. Она включает ленточный конвейер, подающий закладочную породу; неподвижный грохот для породы, на который сверху подается вода из трубопровода; валковую дробилку, дробящую крупные, не прошедшие сквозь грохот куски породы; установленную под грохотом приемную смесительную воронку и расположенный внутри водяной камеры трубопровод. В нижней части трубопровод имеет продольные прорезы, через которые выходит воздух и дополнительно поступает из камеры вода, регулирующая уровень пульпы в трубопроводе. На трубопроводах установлены измерительные приборы, регистрирующие расход воды и пульпы и измеряющие давление в пульпопроводе.
21.3. Элементы гидротранспортных установок
21.3.1. Питатели (загрузочные устройства)
Загрузочные устройства, служащие для ввода насыпного груза в находящийся под высоким давлением трубопровод, не должны при работе пропускать воду из трубопровода. Это достигается одним из двух основных способов загрузки трубопровода: 1) питатель, работающий под открытым бункером или воронкой, преодолевая давление воды, механически вводит груз в полость трубопровода высокого давления; 2) насыпной груз перепускается («шлюзуется») через одну или две последовательно расположенные камеры с попеременно открывающимися и закрывающимися отверстиями в верхней и нижней части. Питатели, работающие по второму способу, называются камерными.
Бескамерные питатели характеризуются непрерывностью действия, а камерные – цикличностью, причем цикл их работы складывается из времени наполнения камеры, ее опорожнения и маневрирования поочередно закрывающимися и открывающимися затворами. Для достижения непрерывного или почти непрерывного действия камерные питатели устраивают обычно из двух рядом стоящих секций, и управление затворами осуществляется на них таким образом, что в период, когда выпускная камера одной секции заполняется грузом, вторая разгружается в трубопровод.
Бескамерный винтовой питатель непрерывного действия (рис. 21.3) состоит из трех узлов: привода 3 (двигатель, турбомуфта и редуктор), винта 2 в цилиндрическом кожухе, входящего с одной стороны в приемную воронку, и трубопровода 1, примыкающего к свободному от винта цилиндрическому патрубку и образующего в этом месте смесительную камеру. Трубопровод снабжен задвижками, которые могут перекрывать его или перепускать воду для промывки в обход смесительной камеры.
Насыпной груз, в данном случае уголь, подается ленточным конвейером в воронку и из нее перемещается винтом к цилиндрическому патрубку и далее – к смесительной камере, в которой образуется гидросмесь, перемещаемая по рабочему трубопроводу. Создающееся в цилиндрическом патрубке уплотнение угля (для чего винтовой питатель выполняют иногда с уменьшающимся к выходному отверстию шагом винта) препятствует проникновению воды через винт в воронку. Однако надежная герметизация достигается только при условии, что скорость подачи угля в патрубок превышает скорость фильтрации воды через толщу находящегося в нем уплотненного угля. Поэтому винтовые питатели не применяют при транспортировании грузов, состоящих из твердых, несминающихся кусочков, так как вода под давлением быстро проникает через промежутки между кусками. Нецелесообразно использовать питатели этого типа и при перемещении абразивных грузов, вызывающих повышенный износ винта, кожуха и патрубка.

Рис. 21.3. Бескамерный винтовой питатель непрерывного действия: 1 – трубопровод; 2 – винт; 3 – привод
Расход энергии и износ в винтовых питателях высок. Если считать полезной работу ввода в трубопровод груза и вытеснения воды под давлением (пропорциональную произведению объема груза в единицу времени на давление воды в трубопроводе), то кпд винтового питателя, подсчитанный по установленной мощности двигателя, не превышает 20…30 %.
Преимуществом винтового питателя являются непрерывность его действия и относительно небольшие размеры. Однако из-за трудности достижения герметичности и высокой производительности на стационарных установках более широкое применение находят камерные питатели, производящие «шлюзование» насыпного груза из внешнего пространства в трубопровод высокого давления.
В последнее время в установках для транспортирования рядовых и кусковатых грузов под высоким напором все более широкое применение находят камерные трубчатые питатели, характеризующиеся относительной простотой конструкции, автоматичностью действия и приспособленностью для работы с кусковатыми грузами. Трубчатый питатель состоит из двух камер-труб с соответственной арматурой. Концы труб соединяются с одной стороны с подающим пульпу трубопроводом и подающим воду трубопроводом, а с другой – с транспортным магистральным трубопроводом. Ввод в камеры-трубы пульпы и вымывание ее водой в магистральный трубопровод регулируются четырьмя автоматически управляемыми обратными клапанами, а подвод и слив воды производятся по программе при помощи задвижек, управляемых с пульта. Таким образом, процессы попеременного заполнения одной камеры пульпой и подачи пульпы в магистральный трубопровод из другой камеры происходят одновременно и почти непрерывно.
21.3.2. Пульпонасосы и водяные насосы
Пульпонасосы, применяемые в установках, как правило, центробежные и в редких случаях при перемещении неабразивных грузов из мелких фракций – поршневые. Недостатками поршневых пульпонасосов являются повышенный износ, большие габаритные размеры, а также пульсирующее действие, в результате которого из пульпы в трубопроводе могут выпадать частицы твердых фракций. К их преимуществу относится возможность создания высоких давлений.
По конструкции и принципу действия центробежные насосы для пульпы мало отличаются от насосов для воды. В зависимости от числа рабочих колес в одном кожухе различают одно-, двух– или многоступенчатые насосы. Для пульпы обычно применяют одноступенчатые насосы, в редких случаях для получения более высокого давления – двухступенчатые. Однако двухступенчатые насосы имеют недостатки – сложность конструкции и большой износ, а при перемещении таких грузов, как уголь, – сильное его измельчение. Специфическими требованиями, предъявляемыми к пульпонасосам, являются обеспечение транспортирования достаточно крупных кусков (практически до 100 мм), возможно большая износостойкость частей и удобство ремонта и замены наиболее быстро изнашивающихся элементов, особенно уплотнений, а также несильное измельчение частиц груза от ударов при входе пульпы на колесо и при дальнейшем движении внутри насоса. Для повышения срока службы колеса и других подверженных изнашиванию деталей применяют специальные стали и высокохромистый чугун, производят наплавление слоя металла высокой твердости или армирование навулканизированной резиной.
Наибольший расход и давление имеют грунтовые насосы: до
4000 м3/ч и 0,66 МПа, а по специальному заказу – до 7000 м3/ч и 0,71 МПа.
Для увеличения напора одноступенчатые насосы иногда монтируют по два в одной установке и соединяют между собой последовательно. На длинных трубопроводах или при большой высоте подъема трубопровод делят на участки с промежуточными перекачными насосами. Это осуществляют одним из двух способов: либо трубопровод предыдущего участка соединяют непосредственно с всасывающим патрубком последующего участка, либо в местах сопряжения участков устанавливают промежуточные резервуары (зумпфы), из которых насосом засасывается пульпа. Первый способ связан с меньшими гидравлическими потерями, но требует более согласованной работы всех находящихся на значительном расстоянии друг от друга насосов.
21.4. Расчет гидротранспортных установок
Расчет гидротранспортных установок состоит в том, что по заданным объемной или массовой производительности, характеристике груза (его плотности, гранулометрическому составу и др.), длине и конфигурации трубопровода определяют: необходимую для обеспечения транспортного процесса скорость движения несущей среды (воды); потребное количество воды; диаметр трубопровода; сопротивления движению смеси на различных участках трубопровода и потребный напор или давление для их преодоления; мощность двигателя насосного агрегата. При этом обычно для определения характеристик потока, обеспечивающих устойчивый режим транспортирования грузов в зависимости от их крупности, плотности, формы частиц, пользуются накопленными опытными данными. Поэтому часть из приводимых в литературных источниках расчетных формул и рекомендаций имеет эмпирический или полуэмпирический характер. В связи с громоздкостью этих материалов ниже приведен только метод приближенного расчета.
При определении скорости, напора или давления несущей среды первостепенное значение имеют крупность частиц и плотность перемещаемого груза. Для разных групп характерны различные гидромеханические процессы при перемещении в потоке несущей среды.
Нередко насыпные грузы представлены смесью из двух или нескольких групп крупности, например, кусковой или крупнозернистой и грубо- или тонкодисперсной. В этом случае наличие в потоке мелких частиц улучшает процесс перемещения более крупных. В горизонтальном трубопроводе мелкие частицы движутся обычно во взвешенном состоянии, средние и крупные совершают скачкообразные движения частично во взвешенном состоянии и частично соприкасаясь с нижней стенкой трубопровода, а наиболее крупные при гидротранспортировании иногда перемещаются только скольжением по нижней части трубопровода.
Перемещение по горизонтальному трубопроводу во взвешенном или частично взвешенном состоянии происходит благодаря турбулентному движению потока с градиентом скоростей (т. е. при изменении скоростей в поперечном сечении от минимальных значений у стенок до максимальных ближе к оси). Силы, поддерживающие частицы при турбулентном движении, являются функцией продольной скорости потока и возрастают с ее увеличением. Поэтому скорость потока гидросмеси в трубах в общем случае должна быть не меньше некоторого определенного значения, и тем выше, чем больше размеры и плотность частиц груза.
Критерием для установления скорости потока служит критическая скорость vкр, т. е. наименьшая скорость, при которой груз не скапливается в трубопроводе. Кроме того, для наклонных трубопроводов исходной величиной при назначении скорости может служить для гидротранспорта скорость осаждения частиц или кусков в воде (так называемая гидравлическая крупность). Гидравлическая крупность определяется обычно временем, при котором равномерно движущаяся под действием силы тяжести частица в сосуде с водой проходит определенный отрезок пути. Для обеспечения нормального режима транспортирования скорость потока для максимального по размеру куска должна быть
v ≥ (1,1…1,2)vкр.
Вместе с тем она не должна быть излишне большой во избежание непроизводительного увеличения расхода энергии, повышенного износа трубопровода и измельчения перемещаемого груза. Кроме того, нормальный режим транспортирования зависит от относительного количества воды, определяющего концентрацию смеси, которую обычно выбирают по имеющимся опытным данным.
Различают объемную и массовую концентрации смеси. Первой обычно пользуются при расчетах установок гидротранспорта, а второй – пневмотранспорта.
Под объемной концентрацией гидросмеси понимают отношение объемной производительности установки V, м3/ч, к расходу гидросмеси Vг, м3/ч, за тот же период времени:
S = V / Vг = V / (V+ Vв) = (ρг – ρв)/(ρ – ρв) < 1,
где ρг, ρв, ρ – плотность транспортируемого груза, воды и гидросмеси соответственно, т/м3, Vв – расход воды, м3/ч.
Установив, согласно опытным данным, концентрацию смеси и диаметр трубопровода, определяют скорость смеси vкр. Затем проверяют выполнение условия v > vкр по расходу гидросмеси.
Зная характеристики потока смеси (скорость, концентрация) и диаметр трубопровода, определяют сопротивление движению. Оно состоит из сопротивления подъему на вертикальных или наклонных участках трубопровода и гидравлических потерь вдоль всего трубопровода и на отдельных участках (повороты, разветвления и пр.).
Местные (сосредоточенные) сопротивления приравнивают к линейным сопротивлениям на эквивалентной длине трубопровода и учитывают местные сопротивления введением коэффициента 1,05…1,1 при определении общего напора для гидротранспорта.
Рекомендация для Вас - 4 Особенности производства некоторых видов хлебобулочных изделий.
По значению потребного напора и производительности установки выбирают водяной насос; затем рассчитывают мощность двигателя силовых агрегатов.
КОНТРОЛЬНЫЕ ВОПРОСЫ И ЗАДАНИЯ
1. Назовите назначение и область применения гидротранспортных установок.
2. Опишите конструкции гидротранспортных установок различных типов.
3. Назовите типы загрузочных устройств гидротранспортных установок. Опишите их действие.
4. Сформулируйте методику расчета гидротранспортных установок.



















