Для студентов МГТУ им. Н.Э.Баумана по предмету Сопротивление материаловСтатически определимые балкиСтатически определимые балки
5,00512
2022-04-162024-09-03СтудИзба
ДЗ 3: Статически определимые балки вариант 14
-55%
Описание
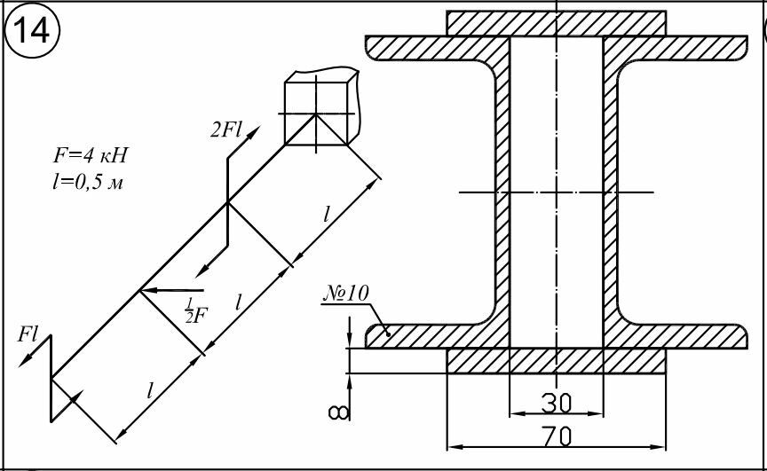
2022г Вариант 14 - ДЗ №4 - Статически определимые балки - Задача 1 + Задача 2
Задача 2
Зачтено на максимальный балл
Задача 1

Задача 2



Характеристики домашнего задания
Предмет
Учебное заведение
Семестр
Номер задания
Вариант
Теги
Просмотров
683
Качество
Фото рукописных листов
Размер
12,94 Mb
Список файлов
1.jpg
2.jpg
3.jpg
4.jpg
5.jpg
6.jpg
7.jpg

Друзья, спасибо за доверие! Если вам понравилась работа – поставьте 5⭐ и напишите отзыв. Это поможет другим студентам, а мне даст силы делать ещё больше качественных материалов для вас 🔥