Для студентов МГТУ им. Н.Э.Баумана по предмету Теоретическая механикаКолебания линейной системы с одной степенью свободыКолебания линейной системы с одной степенью свободы
5,00532
2022-04-162024-09-03СтудИзба
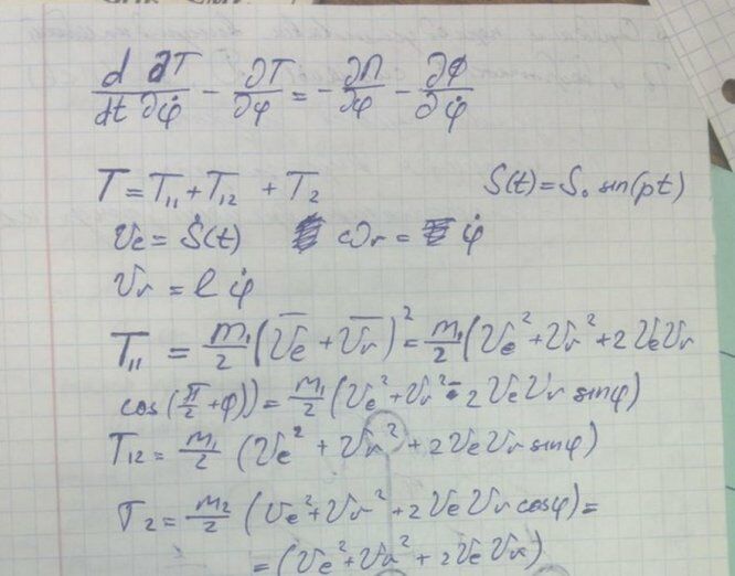
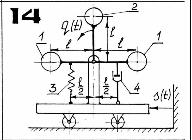
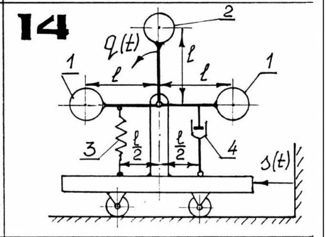
ДЗ 2: Колебания линейной системы с одной степенью свободы вариант 14
-66%
Описание
2022г Варниант 14 - ДЗ №2 - Колебания системы с одной степенью свободыЗачтено на максимальный балл
Зачтено на максимальный балл
![]()

Характеристики домашнего задания
Предмет
Учебное заведение
Семестр
Номер задания
Вариант
Просмотров
903
Качество
Фото рукописных листов
Размер
2,55 Mb
Список файлов
Варниант 14 - ДЗ №2 - Колебания системы с одной степенью свободы
Ответ
1.jpg
2.jpg
3.jpg
4.jpg
5.jpg
1.JPG
Capture.JPG
Pzigk-0PgyE.jpg
fOZzp7XpieM.jpg
kolebaniya_s_1_st_svobodi.pdf

Друзья, спасибо за доверие! Если вам понравилась работа – поставьте 5⭐ и напишите отзыв. Это поможет другим студентам, а мне даст силы делать ещё больше качественных материалов для вас 🔥