Курсовая работа: Нормирование точности и контроль деталей сборочной единицы
Описание
Содержание
- Задание курсовой ……………………………………………………...……2
- Нормирование точности гладких соединений…………………....…….....5
-
- Соединения гладких валов и отверстий..………………………......…5
- Контроль размеров гладкими калибрами…………………………....15
- Допуски и посадки подшипников качения на вал и корпус………..22
- Нормирование точности соединений сложного профиля…………….....28
-
- Нормирование точности шпоночных соединений…………………...28
- Нормирование точности шлицевых соединений…………………....32
Список используемой литературы....................................................................38
Тема курсовой работы: «Нормирование точности и контроль деталей сборочной единицы».
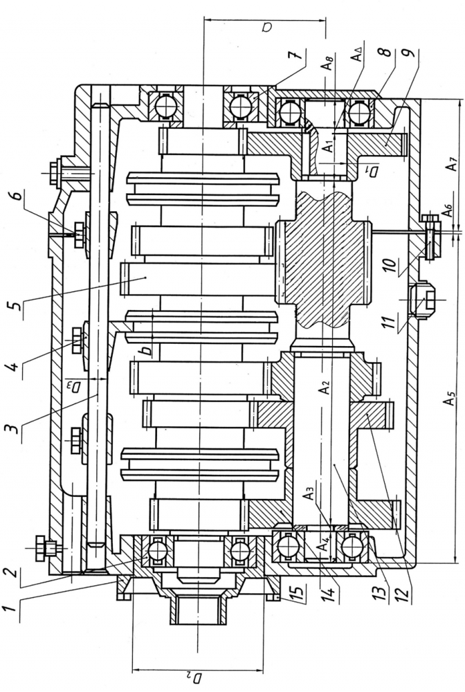
На рис.8 изображена часть коробки перемены передач автомобиля, которая имеет несколько пар зубчатых колес, вводимых в зацепление в разных сочетаниях для изменения крутящего момента и скорости.
С помощью вилки 4 производится переключение 1, 2, 3, 4 передач. Вилка 4 закреплена неподвижно болтами с нормальной длиной свинчивания на штоке переключения передач 3, который рычагом свободно перемещается вдоль оси в отверстиях D3 корпуса коробки передач. Предельные значения зазора даны в задании.
Промежуточный вал 13 с блоком шестерен свободно вращается в подшипниках.
Крышка 1 подшипника 2 крепится к корпусу болтами 15 с нормальной длиной свинчивания и по размеру D2 сопрягается с основным корпусом, обеспечивается точное центрирование.
Подшипники качения испытывают толчки и вибрации и при работе имеют перегрузки до 300%, режим работы тяжелый.
Шпоночное соединение используется при установке зубчатого колеса 9 на вал 13; по D1 обеспечивается хорошее центрирование.
Зубчатые колёса 12 и 14 имеют направляющую шпонку. Зубчатые передачи среднескоростные имеют закалённые венцы и могут нагреваться до +65ºС, а корпус силуминовый с нагревом до +50ºС.
Гайка 11 имеет короткую длину свинчивания. Болт 10 с нормальной длинной свинчивания.
Зазор между ступицей зубчатого колеса 9 и торцом наружного кольца подшипника 8 указан в задании и обеспечивается на производстве согласно расчету размерной цепи.
Перечислим звенья размерной цепи:
A1 – ширина ступицы зубчатого колеса 9;
A2 – длина ступени вала-шестерни 13;
A3 – высота стопорного кольца;
A4 и А8 – ширина подшипников;
A5 – размер корпуса;
A6 –толщина прокладки;
A7 – высота крышки корпуса.
Примечание. Шлицевое соединение на чертеже не показано, принять, что шлицы в отверстии колеса не закаливаются, соединение неподвижное.

Рис. 8. Часть коробки перемены передач автомобиля
Исходные данные к рисунку
№ варианта | Гладкие цилиндрические соединения | Подшипники качения | Шпоночное соединение | |||||||||||||||||||
D1 | D2 | D3 | Smax | Smin | Отв. ITD1 σтех | № поз | Условное обозначение | Радиальная нагрузка, кН | d | b | ||||||||||||
мм | мкм | мм | ||||||||||||||||||||
6 | 30 | 75 | 16 | 120 | 40 | 4,5 | 2 | 6-60108 | 10,0 | 30 | 8 | |||||||||||
№ варианта | Шлицевое соединение | Резьбовое соединение | Зубчатая передача | |||||||||||||||||||
Z | d | D | № поз. | Обозн. резьбы | d2 изм | DРп | Da/2пр | Da/2лев | № поз. | а | m | Z | V, м/с | |||||||||
мм | мм | мкм | мин | мм | ||||||||||||||||||
6 | 10 | 36 | 45 | 11 | М22 | 21,2 | 6 | +5 | -5 | 14 | 150 | 4,0 | 40 | 10 | ||||||||
| | | | | | | | | | | | | | | | | | | | | | | |
НГТУ им. Р.Е. Алексеева
all_at_700
















