Курсовая работа: Нормирование точности и контроль деталей сборочной единицы вариант 9
Описание
Исходные данные
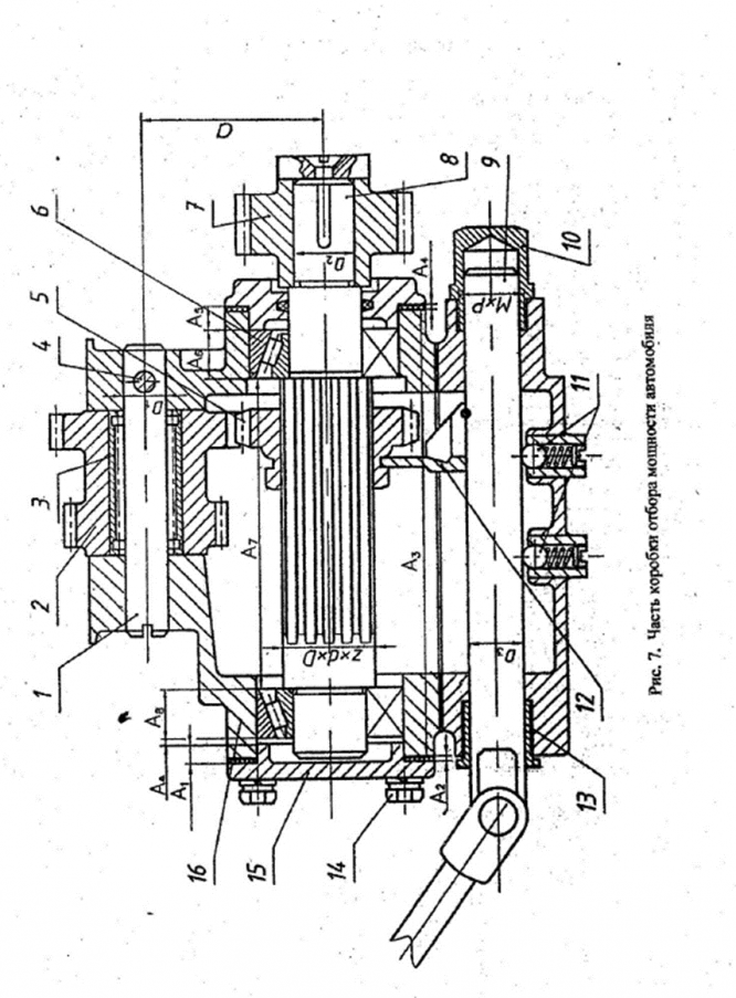
Часть коробки отбора мощности автомобиля.
На рисунке показана часть коробки отбора мощности автомобиля, которая устанавливается в тех случаях, когда автомобиль имеет дополнительные агрегаты, получающие привод от двигателя.
Блок зубчатых колес 2 смонтирован на оси 1 на игольчатом подшипнике. Неподвижность оси 1 в корпусе D1 обеспечивается штифтом 4. На конце вала 8 установлено по D2 с точным центрированием зубчатое колесо 7, имеющее шпоночное соединение, оно закреплено шайбой с винтом.
Зубчатое колесо 5 перемещается вдоль шлицевой части вала 8 вилкой 12. Шлицы в отверстии зубчатого колеса закаливаются.
Зубчатые передачи среднескоростные, закаленные венцы, допустимый нагрев до +60°С, корпус силуминовый с допустимым нагревом до +55°С.
Отбор мощности производится с вала 8, смонтированного на двух конических роликовых подшипниках 6. Подшипники качения 6 испытывают умеренные толчки и вибрации, имеют перегрузки до 300%.
Управление коробкой осуществляется водителем из кабины посредством рычага, который перемещает шток 9 в пределах, ограниченных фиксаторами 11. Зазор между штоком 9 и корпусом 16 по D3 оговорен заданием. На шток 9 установлены защитные гайки 10 и 13, имеющие резьбу с мелким шагом.
Крышка 15 крепится к корпусу 16 с помощью винтов 14.
Для вариантов 1-4 резьба нормальной длины свинчивания (N), для вариантов 5-7 резьба короткой длины свинчивания (S), для вариантов 8-10 резьба длинной длины свинчивания (L).
Между крышкой 15 и подшипником предусмотрен тепловой зазор, величина которого определяется расчетом размерной цепи и обеспечивается в производстве.
Перечислим звенья размерной цепи:
А1 и А5 – высота буртиков крышек;
А2 и А4 - толщина прокладок;
А3-корпусный размер;
А6 и А8 –монтажная ширина конических подшипников;
А7 - длина ступени вала 8.

Рис.1. Часть коробки отбора мощности автомобиля
Исходные данные к рисунку
№ варианта | Гладкие цилиндрическиесоединения | Подшипники качения | Шпоночное соединение | ||||||||||||||||||||||||
D1 | D2 | D3 | Smax | Smin | Отв. ITD1 σтех | № поз | Условное обозначе- ние | Радиальная нагрузка, кН | d | b | |||||||||||||||||
мм | мм | мм | |||||||||||||||||||||||||
9 | 12 | 40 | 20 | 85 | 20 | 5 | 6 | 6-7209А | 28 | 40 | 12 | ||||||||||||||||
№ варианта | Шлицевое соединение | Резьбовое соединение | Зубчатая передача | ||||||||||||||||||||||||
Z | d | D | № поз. | Обозначе- ние резьбы | d2изм | ∆Рп | ∆α/2пр | ∆α/2лев | № поз. | а | m | Z | V, м/с | ||||||||||||||
мм | мм | мкм | мин | Мм | |||||||||||||||||||||||
9 | 8 | 46 | 54 | 14 | М8 | 7,14 | 8 | +5 | -8 | 2 | 114 | 3 | 38 | 8 | |||||||||||||
№ варианта | Размерная цепь, размеры в мм | ||||||||||||||||||||||||||
А∆max | А∆min | A1=A5 | A2= A4 | A3 | A6=А8 | A7 |
| ||||||||||||||||||||
9 | 2,5 | 0,5 | 5 | 1,5 | 140 | 20,75 ±0,25 | 92 |
|
Файлы условия, демо
Характеристики курсовой работы
Список файлов
