ЛР-сб-КЛЮЧИ-исп (987986), страница 3
Текст из файла (страница 3)
Решение (2.11) при нулевых начальных условиях (t=0, QИЗБ = 0) дает
QИЗБ = НАС = (IБ+- IБН) (1-exp(-t / НАС)). (2.12)
Длительность входного импульса может быть большой (t >>НАС), и тогда за время t 3НАС процесс накопления избыточного заряда завершится на уровне QИЗБ0 = (IБ+- IБН)НАС. В противном случае (t < 3НАС) накопленный заряд QИЗБ0 определяется соотношением (2.12), и он, естественно, будет иметь меньшую величину.
Этап рассасывания избыточного заряда. При подаче в цепь базы транзистора импульса ЕГ = 0 ключ мгновенно не закроется. Требуется определенное время (tРАСС), чтобы избыточный заряд неосновных носителей QИЗБ0 рекомбинировал, “рассосался”, и p-n - переходы восстановили свои запирающие свойства.
Ток базы транзистора после подачи ЕГ = 0 приобретает значение
IБ– = (0 - U*)/RГ , и вытекает из базы, т.е IБ– 0. Построим зарядовое уравнение для этого процесса и определим время рассасывания. Изменение заряда в базе обозначим QИЗБ. Это изменение происходит под воздействием изменения базового тока (IБ+- IБ–) — в данном случае “скачка”. Уравнение (2.5) примет вид
НАС (IБ+- IБ–) = QИЗБ + НАС (d QИЗБ /dt). (2.13)
Его решение при нулевых начальных условиях (t =0, QИЗБ = 0) дает
QИЗБ = НАС (IБ+- IБ–) (1 – exp(-t / НАС)). (2.14)
Заметим на основании (2.14), что при t = 0, значение QИЗБ = 0 (изменение еще не началось), и с ростом t это значение нарастает. Очевидно, что закон спада концентрации избыточного заряда будет выражаться соотношением:
QИЗБ = QИЗБ0 - QИЗБ(t).
Величина QИЗБ, спадая, приходит к нулю при t = tРАСС. Если принять QИЗБ0 = НАС (IБ+- IБ–), то
tРАСС = НАС ln ((IБ+- IБ–) / (IБН - IБ–)). (2.15)
Этап спада тока. Спад тока коллектора наблюдается после выхода транзистора из режима насыщения. Этот процесс описывается уравнением (2.4), в левой части которого IБ+ следует заменить на значение IБ–. Решая уравнение при начальных условиях (t = 0, IК = IКН), получим
IК (t) = IКН - 0 (IБН- IБ–) (l - exp(-t/ОЭ)). (2.16)
Если конечное значение базового тока IБ– = (ЕГ– - U*)/RГ < 0 (этот случай показан на рис. 2.3, б), то ток IК спадает до 0 и время спада tФ- можно найти из соотношения (2.16), полагая в нем t = tФ-, IК(tФ-) = 0
tФ- = ОЭ ln ((IБН- IБ–) / (- IБ–)). (2.17)
Подчеркнем, что формула (2.17) “работает” лишь для IБ– < 0.
Напряжение на коллекторе транзистора в течение времени tФ- (это время часто обозначают как t0-1), нарастает до значения UК = EК (рис. 2.3, г).
Рассмотрим другой крайний случай, когда емкость СН велика. Емкость СН велика так, что время перезарядки этой емкости существенно больше времени включения и выключения транзистора. В этом случае можно считать, что транзистор включается и выключается мгновенно. Допустим, что в исходном состоянии транзистор заперт. На выходе сформирован высокий уровень потенциала, и емкость CН заряжена до напряжения EК. При подаче на вход ключа отпирающего сигнала EГ+ транзистор через время задержки (tЗД) откроется, и в цепи коллектора установится ток 0IБ+. Поскольку напряжение на емкости СН мгновенно измениться не может, рабочая точка на семействе выходных характеристик (рис. 2. 5, а) переместится вертикально вверх, и емкость СН будет разряжаться постоянным током 0IБ+.
| Рис. 2.5. а – перемещение рабочей точки по семейству выходных характеристик транзистора; б – эквивалентная схема для расчёта процесса разряда ёмкости нагрузки. |
Схема замещения, соответствующая этому процессу, дана на рис. 2.5, б, и переходной процесс описывается выражением, построенным на основе баланса токов в коллекторном узле схемы
(EК – UВЫХ) / RК = СН (d UВЫХ / d t) + 0IБ+. (2.18)
Решением уравнения (2.18) является выражение
UВЫХ = EК - 0IБ+RК (1 – exp(- t / )), (2.19)
где = CНRК.
Из (2.19) следует, что если 0IБ+EК/RК, то переходной процесс займет время t << . При этом экспоненту ехр (- t / ) можно разложить в ряд
Тейлора, ограничиваясь двумя членами, и формулу (2.19) упростить
UВЫХ = EК - 0IБ+t / СН. (2.20)
Напряжение на выходе ключа в этом случае будет уменьшаться по линейному закону.
При подаче на вход транзистора запирающего напряжения, транзистор после этапа рассасывания быстро закроется, и емкость нагрузки будет заряжаться от источника питания EК через резистор RК. Если пренебречь остаточным напряжением UКЭН, то напряжение на выходе будет определяться выражением
UВЫХ = EК (1 – exp( -t / )). (2.21)
В общем случае, когда времена переключения собственно транзистора и перезарядки емкости СН соизмеримы, описание переходного процесса существенно усложняется.
Таким образом, видно, что во всех случаях ключ на биполярном транзисторе имеет конечное время переключения как при открывании, так и при его закрывании.
Методические указания по проведению измерений
Переходные процессы в каскаде, работающем в режиме ключа, наблюдаются с использованием осциллографа (типа С1-94).
|
|
| Рис. 2.6. Схема включения измерительных приборов для наблюдения переходных процессов в ключе. |
Управление ключом осуществляется с помощью генератора прямоугольных импульсов (типа Г5-54) (рис. 2.6). Вход осциллографа и входной кабель характеризуются значительной емкостью (40 и 100 Ф, соответственно), так что непосредственное присоединение осциллографа к исследуемой цепи может существенно увеличить емкость в схеме и исказить переходной процесс. В связи с этим следует использовать кабель с входным делителем напряжения. Это существенно уменьшит емкость, вносимую в схему в процессе измерения. Тем не менее, величину этой емкости необходимо учитывать. Кроме того; при чтении показаний осциллографа следует учитывать коэффициент деления напряжения входным делителем.
В процессе измерения длительности переходных процессов желательно использовать внешнюю синхронизацию осциллографа. Это обеспечивает независимость уровня синхронизации от амплитуды импульсов сигнала EГ и повышает точность отсчета длительности исследуемого процесса.
Задание
1. Теоретически рассчитать длительность tФ+, tФ-, tЗД и tРАСС, используя параметры транзистора и элементов схемы, указанные на стенде.
2. Исследовать процесс включения транзистора для нескольких значений импульса тока базы IБ+(EГ+). Измерения провести при минимальной величине емкости нагрузки. Построить зависимости tФ+ от IБ+.
3. Исследовать процесс выключения транзистора для нескольких значений тока базы IБ+(EГ+). Измерения провести при минимальной величине емкости нагрузки. Построить зависимости tРАСС, tФ- от IБ+.
4. Подключить значительную емкость нагрузки (указывается преподавателем). Повторить измерения п.2 и п.3.
Библиографический список
1. Степаненко И. П. Основы теории транзисторов и транзисторных схем. М.: Энергия, 1977.
2. Степаненко И. П. Основы микроэлектроники. М.: Сов. Радио, 1980.
3. Преснухин Л. И. и др. Расчет элементов цифровых устройств:
Учебное пособие./Под ред. Л. И. Преснухина. М.: Высш. шк., 1982.
Лабораторная работа № 3
Работа ключа на биполярном транзисторе
на активно-индуктивную нагрузку
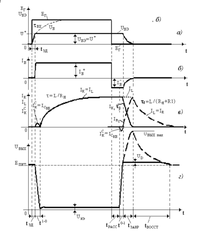
Цель работы: изучение переходных процессов при включении и выключении ключа на биполярном транзисторе. Оценка длительности всех этапов переходного процесса, сравнение с оценочными расчетами.
Объектом изучения является ключ на основе биполярного транзистора, включенного по схеме с общим эмиттером (рис. 3.1). Транзистор работает в режиме большого сигнала. Входное напряжение изменяется так, что транзистор переходит из закрытого состояния в активную область, насыщенное состояние и наоборот.
При скачкообразном изменении входного сигнала ток коллектора и напряжение коллектора изменяются с конечной скоростью, что обусловлено инерционностью транзисторного клю-ча, связанной с конечной длительнос-тью установления рекомбинационных процессов в базе транзистора и конеч-ным временем перезарядки барьерных емкостей эмиттерного и коллектор-ного переходов. В соответствии с этим в схему замещения транзистора введе-ны емкости CБЭ, CБК и учтено конечное время жизни неосновных носителей тока в базе ().
Отыскание точного аналитического решения для переходного процесса представляет сложную задачу, тем более что параметры, входящие в модель (CКБ, CБЭ, N, aN), сами зависят от токов и напряжений в схеме, т. е. модель транзистора является нелинейной (см. лб. работу № 2, рис. 2.2). Ниже представлены приближенные решения для отдельных этапов процесса переключения транзистора. На каждом этапе, исходя из физических соображений, транзистор представляется упрощенной моделью, имеющей несложное математическое описание.
Нагрузкой ключа является активное сопротивление RН и индуктивность L. Назначение диода VD1 - предохранение транзистора от повышенных напряжений, и об этом будет сказано ниже. Примем, что активное сопротивление катушки индуктивности (rL) мало, так что RН + rL RН.
На рис. 3.2 представлено семейство выходных характеристик транзистора, здесь же нанесены линия статической нагрузки RН и вольтамперная характеристика диода VD1. Для понимания и правильного описания происходящих процессов при переключении ключа будем следить за перемещением рабочей точки на семействе выходных характеристик транзистора. Переходные процессы будем рассматривать поэтапно. Положим, что емкость нагрузки CН = 0. На входе ключа действует источник управляющего напряжения ЕГ, имеющего идеальную прямоугольную форму.
Этап включения ключа. Этап имеет две составляющие
(рис. 3.3, а, б): – формирование времени задержки (tЗД) и формирование фронта включения (t1-0). Пусть транзистор закрыт. Исходное положение рабочей точки на семействе выходных характеристик соответствует точке “A”
(рис. 3.2). Ток коллектора равен нулю (пренебрегаем током IК0), напряжение
UВЫХ EПИТ.
| Рис. 3.2. Перемещение рабочей точки по семейству выходных характе-ристик транзистора: 1– в отсутствии резистора R1, 2 – при наличии резистора R1 (начиная с точки D). |
Формирование времени задержки (tЗД). При поступлении открывающего импульса (EГ) транзистор откроется не мгновенно – требуется время (tЗД), связанное с процессом заряда емкости CЭБ через резистор (RБ + rБ) в соответствии со схемой замещения (рис. 3.4, а), для достижения на входе транзистора напряжения UБЭ = U 0,7В.
















