[11] Методы Выращивания Кристаллов В Электронной Технике (987513), страница 27
Текст из файла (страница 27)
Во второй зоне пары мышьяка взаимодействуют с расплавом галлия до полного насыщения. Критерием насыщения служит появление на поверхности расплава галлия пленки арсенида галлия, а избыточные пары мышьяка выводятся ич нагретой части реактора. Процессы, происходящие в этой зоне при T=800°С можно описать следующими уравнениями:
2Ga+2HCl→2GaCl+H2;
4Ga+As4→4GaAs.
После достижения состояния насыщения галлия мышьяком во второй зоне в третью зону, где температура может поддерживаться в интервале от 750°С (рост пленки) до 900°С (травление пленки), вводятся подложки арсенида галлия GaAs. Именно насыщенный расплав галлия обеспечивает постоянный состав паровой фазы в зоне осаждения пленки арсенида галлия GaAs, где протекают следующие реакции:
6GaCl+As4→4GaAs+2GaCl3;
3GaAsTB+AsCl3→3GaCl+As4.
Изменяя температуру в третьей зоне можно осуществить процесс травления подложек непосредственно перед нанесением слоя. Скорость травления при Т==900°С порядка 1 мкм/мин, скорость роста пленки при T=750° С — 0,5 мкм/мин.
Особенностью системы, включающей гидрид мышьяка, является тот факт, что при комнатной температуре гидрид мышьяка AsGa находится в газообразом состоянии, что позволяет легко обеспечить постоянство газовой фазы в зоне осаждения и легкость регулирования этого состава. Более того, гибкость регулирования состава в этом случае допускает получение монокристаллических пленок состава GaAs1-xPx, GaAs1-xSbx, Ga1-xInxAs, Ga1-xAlxAs и, что еще более важно, многослойных структур, включая р—n-переходы.
К принципиальным технологическим преимуществам гидридов, обусловливающих их применение в технологии микроэлектроники, можно отнести;
1. Возможность получения летучих гидридов большинства элементов, применяющихся в полупроводниковой микроэлектронике.
2. Удачное сочетание свойств гидридов, способствующих их сравнительно легкой очистке от примесей, основанной на фазовых переходах жидкость—пар, твердое тело—пар и твердое тело—жидкость.
3. Наибольшее, по сравнению с любым другим химическим соединением, содержание основного компонента.
4. Малая реакционная способность гидридов по отношению к конструкционным материалам технологической аппаратуры, что резко снижает вероятность загрязнения исходной смеси.
В то же время высокая токсичность гидридов, их взрывоопасность, склонность к спонтанному распаду в газовой фазе при определенных условиях значительно усложняют аппаратуру, в которой они используются.
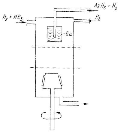
Схема выращивания арсенида галлия GaAs по гидридному методу приведена на рис. 11.6.15. В зонах 1 и 2 происходит смешение реагентов в парогазовой смеси, причем газообразный реагент, содержащий, галлий, образуется при пропускании соляной кислоты НС1 через жидкий галий по реакции
2Ga+2HCl→2GaCl+H2.
Эпитаксиальный слой образуется в зоне 3 по реакции
12GaCl+4AsH3+2As2+As4→12GaAs+12HCl
Р
ис.11.6.15 Схема выращивания SaAs по гидридному методу.
В реактор могут одновременно вводиться легирующие добавки. В случае необходимости получения гетеропереходов одновременно с арсенидом может вводиться фосфин (РН3), обеспечивая получение состава, отвечающего формуле AsxP1-xGa, где х может меняться от 0 до 1. В реальных структурах, используемых для микроэлектроники обычно наносится минимум два авто- или гетероэпитаксиальных слоя. Скорость роста твердых растворов GaP1-xAsх на подложках из арсенида галлия GaAs обычно лежит в интервале 0,1—10 мкм, причем состав твердого раствора изменяется для подложек, находящихся при различных температурах.
Весьма интересен для получения эпитаксиальных слоев метод малых промежутков или сэндвич-метод. Основной идеей метода является близкое расположение источника и подложки (порядка 0,1 диаметра источника) с заполнением промежутка газовой смесью (транспортным агентом), обеспечивающим протекание процесса в условиях, близких к равновесным. Малый промежуток, на практике обычно не превышающий 1 мм, затрудняет попадание в него посторонних примесей, т. е. практически исключается взаимосвязь между реакционным пространством и окружающей средой. Квазиравновесные условия переноса вещества и осаждение пленки обеспечивают нужный состав последней при правильном выборе источника и транспортного агента. Обычно в качестве последнего при росте эпитаксиальных слоев арсенида галлия используются парогазовые смеси (Н2О+Н2), (HCl+H2) и др., в которых арсенид галлия выступает в обратимые реакции с образованием летучих соединений, например:
2GaAs+H20↔Ga2O+As2+H2.
Градиент температур в зазоре обычно находится в диапазоне 100—500° С/см, что обеспечивает высокие скорости роста благодаря малой величине зазора. Скорость роста зависит от ориентации пластин источника и подложки и не пропорциональна величине зазора, поскольку определяется не только параметрами молекулярной диффузии, но и наличием конвективных потоков и влиянием условий на границах системы подложка—источник. Хотя сэндвич—метод в настоящее время еще не получил должного развития, хотелось бы сформулировать его основные достоинства.
1. Возможность получения эпитаксиальных и гетероэни-таксиальных слоев заданного состава при малых давлениях ларогазовой смеси.
2. Возможность селективного нанесения эпитаксиальных и гетероэпитаксиальных слоев на заданных участках будущей микросхемы, воспроизведение контура рисунка на пластине источника.
3. Возможность легирования пленки может осуществляться как путем подбора состава парогазовой смеси, так и состава источника.
4. Возможность резкого уменьшения загрязнений растущей пленки материалами технологической аппаратуры системы.
Развитие микроэлектроники потребовало создания технологии наращивания эпитаксиальных слоев в строго определенных местах подложки — селективного наращивания — с последующим получением объемных твердых схем. Для успешного проведения этого процесса необходимо, во-первых, чтобы энергия образования зародыша на подложке была меньше, чем аналогичная величина на материале маски, и. во-вторых, необходимо создание условий, при которых число зародышей пропорционально величине пересыщения в системе. Было показано, что при небольших величинах пересыщения (порядка 0,2) рост пленки арсенида галлия GaAs происходит только на подложке арсенида галлия GaAs, причем степень структурного совершенства пленки увеличивается с уменьшением величины пересыщения. С целью получения пленок в заданных местах на предварительно полированную подложку арсенида галлия GaAs наносится маскирующая пленка окиси кремния SiO2, в которой методами литографии вскрывают окна нужной конфигурации. Обнажившуюся поверхность кристалла протравливают непосредственно в системе выращивания пленок, после чего наносятся эпитаксиальные слои, например из системы (Ga—AsCl3—Н2). Условия выращивания зависят от ориентации подложки, причем установлено, что влияние границ окон минимально при ориентации поверхности подложки (100).
Важнейшей проблемой любой технологической операции с арсенидом галлия GaAs является обеспечивание отсутствия загрязнений материала во время технологического процесса, поскольку лишь при высокой чистоте кристаллов арсенида галлия GaAs (99,99999) обеспечивается проявление его уникальных свойств. Особые меры должны предприниматься к устранению источников загрязнения арсенида галлия GaAs кремнием. При контакте арсенида галлия GaAs с кварцем возможна суммарная реакция
2Gaж+SiО2тв↔Ga2Ог+SiО2г
'
Однако и в условиях отсутствия прямого контакта, т. е. при обработке арсенида галлия GaAs на подложках из нитрида алюминия, стеклографита или нитрида бора, загрязнение кремнием все-таки происходит через газовую фазу за счет летучих оксидов галлия и паров самого галлия. Причиной загрязнения может быть и вода, содержащаяся в кварце в связанном виде, которая при нагревании может выделяться и взаимодействовать с галлием в расплав. Источником воды может быть и реакция водорода с оксидами на поверхности арсенида галлия. Особенно сильно влияет на свойства арсенида галлия медь. Следует отметить, что медь не используется для данного материала в качестве активатора, а попадает в арсенид галлия из изделий аппаратуры и, обладая большим коэффициентом диффузии в этом материале, сравнительно быстро легирует его, образуя как дефекты внедрения, так и дефекты замещения. Медь в арсениде галлия способна вступать во взаимодействие практически со всеми видами дефектов в этом материале и сильно влияет на основные электрофизические параметры арсенида галлия GaAs.
11.6.8. Молекулярно-лучевая эпитаксия
Описание процесса
Молекулярно-лучевая эпитакция (МЛЭ) представляет собой процесс получения эпитаксиальных пленок методом конденсации молекулярных пучков на подложке в вакууме. Источником молекулярных пучков является полупроводниковый материал, в основном кремний. Испарение материала происходит в результате воздействия на полупроводник сфокусированного электронного пучка или в результате прямого разогрева электрическим током кремниевой пластины. В последнем случае образец (источник) не плавятся, а осуществляется возгонка (сублимация) и перенос вещества на подложку.
Наиболее важными требованиями, предъявляемыми к молекулярным источникам, являются следующие: высокая чистота создаваемых молекулярных пучков; высокая чистота поверхности источника; стабильная скорость испарения в рабочем режиме; большой запас рабочего вещества; возможность нагрева испаряемого вещества в широком интервале температур.
Процесс МЛЭ происходит в глубоком вакууме при давлении 1,33*10-6-1,33*10-8Па, и при температуре 400— 800° С. Скорость роста эпитаксиального слоя при этих условиях составляет 0,01—0,03 мкм/мин и практически сравнима со скоростью роста пленки, получаемой в процессе эпитаксии из парогазовой фазы. В то же время молекулярно-лучевая эпитаксия обладает рядом преимуществ по сравнению с процессом эпитаксии из парогазовой фазы, основными из которых являются следующие.
1. Более низкая температура технологического процесса при МЛЭ уменьшает диффузию примесей из подложки и авто-легирование.
2. Получаемый в результате МЛЭ слой обладает высоким удельным сопротивлением, так как вероятность попадания посторонних примесей на подложку в вакуумной камере мала.
3. Отсутствие промежуточных химических реакций и диффузионных эффектов, малая вероятность столкновения частиц в высоком вакууме дают возможность точно управлять процессом МЛЭ путем изменения параметров источника, например температуры и времени испарения вещества.
Процесс роста пленки начинается с появления в различных точках поверхности подложки скоплений атомов набегающего пучка. Поперечные размеры этих скоплений составляют величину, порядка десятков ангстрем. В ходе процесса растет как количество этих скоплений, так и их величина. В результате они смыкаются, образуя первичный слой пленки. Таким образом, первичная непрерывная пленка уже имеет минимальную толщину около 20—100А, а не является одноатомной. Это приводит к тому, что источниками дефектов в ней могут быть как дефекты, существующие в зародыше, так и дефекты, образовавшиеся в результате слияния разросшихся зародышей.
Для получения совершенных монокристаллических пленок важнейшей проблемой является получение одинаково ориентированных зародышей, равномерно распределенных по подложке. Разориентация зародышей даже на малые углы вызывает значительное возрастание концентрации дефектов. Как показали исследования, существует вполне определенная температура эпитаксии, выше которой образуются зародыши одной ориентации, причем значение этой температуры зависит от большого числа параметров, которые можно разделить на три группы.
1. Параметры, характеризующие свойства атомного пучка—химический состав, плотность, значение энергии, набегающих на подложку частиц, геометрия пучка.
2. Параметры, характеризующие свойства подложки — чистота поверхности, степень ее структурного совершенства, ориентация подложки по отношению к молекулярному пучку, совокупность химических, физико-химических и физических свойств подложки.
3. Параметры, характеризующие технологический процесс напыления — температура подложки, концентрация и природа примесей в атмосфере над подложкой, величина вакуума, продолжительность технологических операций.
















