[9] Магнитные Материалы (987511)
Текст из файла
9. МАГНИТНЫЕ МАТЕРИАЛЫ
9.1. Магнитные свойства и классификация магнитных материалов
Первопричиной магнитных свойств вещества являются внутренние скрытые формы движения электрических зарядов, представляющие собой элементарные круговые токи, обладающие магнитными моментами. Такими токами являются электронные спины и орбитальное вращение электронов в атомах. Макроскопическое проявление магнитных свойств материала оказывается заметным при согласованной ориентации элементарных магнитных моментов, которая наблюдается у магнетиков.
Особенности ферромагнетиков
Магнитные домены. Явление ферромагнетизма связано с самопроизвольным образованием под влиянием внутренних полей в структуре, характерной для некоторых веществ при температурах ниже магнитной точки Кюри, макроскопических областей, называемых магнитными доменами, в которых электронные спины ориентированы взаимно параллельно. Таким образом, основным свойством ферромагнитного состояния вещества является самопроизвольная (спонтанная) намагниченность без приложения внешнего магнитного поля. При неупорядоченном расположении доменов в куске материала направления векторов магнитных моментов их различны и равновероятны, а потому магнитный поток такого тела во внешнем пространстве равен нулю.
Размер доменов для некоторых материалов, т. е. их объем, составляет порядка 10-8—10-12 м3 при толщине пограничных слоев между ними в несколько десятков, сотен ангстрем. У особо чистых материалов объем доменов может быть и больше.
Существование доменов удалось установить экспериментально. При очень медленном перемагничивании ферромагнитного образца в телефоне, соединенном через усилитель с катушкой, охватывающей образец, можно различать отдельные щелчки, которые обусловлены скачкообразными изменениями индукции.
При осаждении на полированную поверхность намагниченного образца тончайшего ферромагнитного порошка последний, концентрируясь на границах его доменов, дает характерные узоры, названные фигурами Акулова (рис. 9.1) —советского ученого, впервые обнаружившего это явление. Их можно видеть под оптическим микроскопом на поверхности железа, никеля, кобальта и других ферромагнетиков.
Р
ис. 9.1 Очертания доменов различных ферромагнетиков (фигуры Акулова).
М
агнитная анизотропия монокристаллов ферромагнитных веществ выражается в различной интенсивности намагничивания вдоль разных осей. На рис. 9.2 показаны направления легкого, среднего и трудного намагничивания в монокристаллах трех основных ферромагнитных элементов: железа, никеля и кобальта. Из этого рисунка видно, что направлением легкого намагничивания для ячейки монокристалла железа является ребро куба, а трудного—диагональ через объем; для ячейки никеля направление вдоль ребра куба соответствует, наоборот, направлению трудного намагничивания.
Рис. 9.2 Направления легкого, среднего и трудного намагничивания в монокристаллах:
а—железа; б—никеля; о—кобальта
В тех случаях, когда анизотропия в поликристаллических ферромагнетиках выражена достаточно резко, принято говорить, что ферромагнетик обладает магнитной текстурой, или текстурой доменов. Возможность получения заданной магнитной текстуры имеет большое значение и используется для создания повышенных магнитных характеристик материала в определенном направлении. Процесс намагничивания ферромагнитного материала под влиянием внешнего магнитного поля сводится:
1) к увеличению размеров тех доменов, магнитные моменты которых составляют наименьший угол с направлением магнитного поля, и уменьшению размеров остальных доменов (процесс смещения границ доменов);
2) к повороту векторов магнитных моментов в направлении внешнего поля (процесс ориентации).
Магнитное насыщение заканчивается тогда, когда рост доменов прекращается и магнитные моменты всех спонтанно намагниченных областей оказываются ориентированными в направлении поля.
Схема ориентации спинов в доменах при намагничивании ферромагнетика приведена на р
ис. 9.3.
Рис. 9.3.Схема ориентации спинов в доменах при намагничивании ферромагнетика
Магнитострикция. При намагничивании ферромагнитных монокристаллов наблюдается изменение их линейных размеров; это явление называют магнитострикцией. Величина магнитострикции монокристалла железа различна в разных направлениях. Так, монокристалл железа, намагничиваемый в направлении ребра куба, удлиняется в направлении диагонали, т.е. сжимается в направлении намагничивания. Магнитострикция проявляется и в поликристаллических материалах.
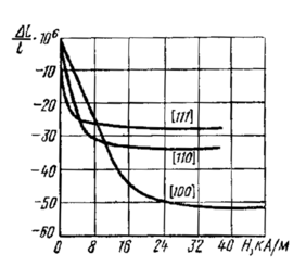
И
з трех основных ферромагнитных элементов (Fe, Ni, Co) наибольшей магнитострикцией обладает никель. На рис. 9.4 приведены зависимости относительного изменения линейных размеров монокристалла никеля по различным осям от напряженности внешнего поля.
Рис 9.4. Зависимости магнитострикционной деформации монокристалла никеля по различным осям от напряженности внешнего поля
Знак магнитострикционной деформации у различных материалов может быть как положительным, так и отрицательным; изменение этого знака может наблюдаться также у одного и того же материала (например, железа) при изменении величины напряженности магнитного поля.
Кривыми намагничивания В =F(H), имеющими качественно общий характер для всех ферромагнетиков, характеризуют протекание процессов намагничивания в ферромагнитных материалах. На рис. 9.5 представлены основные кривые намагничивания некоторых магнитных материалов.
Магнитная проницаемость (относительная) — это отношение величины индукции В к соответствующему значению напряженности магнитного поля Н в данной точке основной кривой намагничивания, деленное на магнитную постоянную вакуума о= 4*10-7 Г/м. На рис. 9.5 в качестве примера построены две кривые зависимости =F1(H). Сказанное подтверждает выражение
так как
1
T=104 Гс; 1 А/м=4 10-3Э=0,01256Э или 1 Э=79,6 А/м 80 А/м.
Р
ис 9.5. Зависимости магнитной индукции В и магнитной проницаемости от напряженности магнитного поля Н:1 — железа особо чистого; 2 — железа чистого <99,98% Fe); 3 — железа технически'чистого (99,92% Fe); 4—пермаллоя (78% Ni); 5—никеля; 6 — сплава железо-никель (26% Ni)
Р
ис 9.6 Зависимость динамической магнитной проницаемости пермаллоя от частоты в слабом поле (Н=0,8 А/м)
Р
ис. 9.7. Типичная зависимость магнитной проницаемости ферромагнитных материалов от температуры
Магнитную проницаемость н при Н0 называют начальной, определяя ее величину при очень слабых полях—порядка 0,1 А/м. Наибольшее значение магнитной проницаемости называют максимальной магнитной проницаемостью mах. При сильных полях в области насыщения магнитная проницаемость стремится к единице.
Магнитную проницаемость, определяемую производной от магнитной индукции по напряженности магнитного поля в данной точке основной кривой намагничивания, деленной на магнитную постоянную, называют дифференциальной магнитной проницаемостью.
Ферромагнетики в переменных магнитных полях характеризуют величиной динамической (амплитудной) магнитной проницаемости , которая представляет собой отношение амплитудного значения индукции к амплитудному значению напряженности магнитного поля:
=Bmax/(0Hmax)
С увеличением частоты поля динамическая проницаемость уменьшается (рис. 9.6) из-за инерционности магнитных процессов. Магнитная проницаемость ферромагнитных материалов зависит от температуры, как показано на рис. 9.7, переходя через максимум при температурах, близких к точке Кюри. Для чистого железа точка Кюри составляет 769°С, для никеля 358°С, для кобальта 1131°С. При температурах выше точки Кюри области спонтанного намагничивания нарушаются в результате теплового движения и материал перестает быть ферромагнитным.
Изменение магнитной проницаемости при изменении температуры характеризуется температурным коэффициентом магнитной проницаемости
=1/t*d/dt [K-1] (9.1)
определяемым так же, как и для других величин.
При использовании ферромагнитных материалов одновременно в постоянном и переменном магнитных полях их характеризуют величиной обратимой, или реверсивной, магнитной проницаемости р.
Понятие реверсивной магнитной проницаемости аналогично понятию реверсивной диэлектрической проницаемости сегнетоэлектриков. Реверсивная магнитная проницаемость уменьшается при росте величины постоянного смещающего поля Н_.
Гистерезис. Если производить намагничивание ферромагнетика во внешнем магнитном поле, а затем, начиная с какой-либо точки основной кривой намагничивания, уменьшать напряженность поля, то величина индукции будет также уменьшаться, но не по основной кривой, а более медленно вследствие явления гистерезиса (отставания). При увеличении поля противоположного направления образец может быть размагничен или перемагничен, а при новой перемене направления поля индукция снова может вернуться в исходную точку, характеризующую состояние намагничивания образца, т.е. будет описана кривая, представляющая собой петлю гистерезисного цикла перемагничивания.
В зависимости от величины напряженности внешнего магнитного поля можно получить семейство петель гистерезиса, как показано на рис. 9.8. Выберем из этих циклов предельный цикл при котором намагничивание материала достигает насыщения Bs. Значение В при Н=0 в процессе размагничивания образца, намагниченного до насыщения, н
азывают остаточной индукцией Вr.
Рис. 9.8. Петли гистерезиса при различных предельных значениях напряженности внешнего магнитного поля
Для того чтобы уменьшить индукцию от значения Вr до нуля,. необходимо приложить обратно направленную напряженность поля Hс, называемую коэрцитивной (задерживающей) силой.
Материалы с малой коэрцитивной силой Нc и большой магнитной проницаемостью называют магнитномягк,ими материалы с большой коэрцитивной силой и меньшей проницаемостью— магнитнотвердыми.
Н
а рис. 9.9 приведены типичные петли гистерезиса длямагнитномягких и магнитнотвердых материалов.
Рис. 9.9. Петли гистерезиса для, магнитномягких (а) и для магнитнотвердых (б) материалов
Магнитные свойства ферромагнетиков зависят от различных механических и термических воздействий, например, от упругих изменений их размеров. При наличии отрицательной магнитострикции в материале и внешних растягивающих напряжениях наблюдается понижение магнитной проницаемости. Так, под действием растягивающего напряжения магнитную проницаемость никеля можно довести до очень низкого значения. При положительной магнитострикции магнитная проницаемость под действием растягивающих напряжений возрастает.
Характеристики
Тип файла документ
Документы такого типа открываются такими программами, как Microsoft Office Word на компьютерах Windows, Apple Pages на компьютерах Mac, Open Office - бесплатная альтернатива на различных платформах, в том числе Linux. Наиболее простым и современным решением будут Google документы, так как открываются онлайн без скачивания прямо в браузере на любой платформе. Существуют российские качественные аналоги, например от Яндекса.
Будьте внимательны на мобильных устройствах, так как там используются упрощённый функционал даже в официальном приложении от Microsoft, поэтому для просмотра скачивайте PDF-версию. А если нужно редактировать файл, то используйте оригинальный файл.
Файлы такого типа обычно разбиты на страницы, а текст может быть форматированным (жирный, курсив, выбор шрифта, таблицы и т.п.), а также в него можно добавлять изображения. Формат идеально подходит для рефератов, докладов и РПЗ курсовых проектов, которые необходимо распечатать. Кстати перед печатью также сохраняйте файл в PDF, так как принтер может начудить со шрифтами.















