[11] Методы Выращивания Кристаллов В Электронной Технике (987513), страница 28
Текст из файла (страница 28)
В результате взаимодействия атомов, попадающих на подложку, с атомами последней происходит захват атомов атмосферы (т. е. ансамбля атомов набегающего пучка) поверхностью подложки. Этот процесс называют адсорбцией, при этом различают хемосорбцию и физическую адсорбцию. При хемосорбции энергия взаимодействия составляет величину порядка одного электрон-вольта на атом, т. е. она приблизительно равна энергии протекания химической реакции. Физическая адсорбция обусловлена слабыми взаимодействий-ми атомов пучка с атомами подложки за счет сил Ван-дер-Ваальса.
Адсорбированный атом, иначе адатом, находясь в возбужденном состояний, мигрирует по поверхности подложки, попадая из одной потенциальной ямы в другую. Через некоторое время он может либо задержаться в одной из таких потенциальных ям, либо провзаимодействовать с другими атомами, образовав устойчивые комплексы на поверхности (кластеры), либо покинуть поверхность, т.е. десорбироваться. Вероятность того, что попавший на поверхность атом будет захвачен ею, характеризуется коэффициентом конденсации. Величину этого коэффициента определяют по отношению числа атомов, сконденсировавшихся на поверхности, к общему числу атомов, достигших поверхности из пучка.
Наряду с коэффициентом конденсации важным параметром, характеризующим свойства поверхности адсорбировать атомы из атмосферы, является коэффициент аккомодации.
Пусть идеальный одноатомныи газ, характеризуемый температурой T1 и энергией частиц E1, находится в контакте с поверхностью, температура которой Т2 а энергия частиц— E2.Атом газа, ударившийся о поверхность подложки, приобретает среднюю энергию 2К(Т2—С1)=Е2—Е1. Если атом сразу после соударения отражается, то средний прирост энергии обычно очень мал, т. е. отразившиеся атомы не приходят в равновесие с атомами поверхности. В этом случае средняя энергия десорбированного атома равна Е′2, а соответствующая ей температура—T′1), но такая, что выполняется условие T2>T′1>T1. Тогда величина α, равная
α =(Е'2—Е1)/(Е2—Е1)
характеризует среднюю долю энергии, которой обмениваются при одном столкновении между собой атомы набегающего пучка и подложки. Эта величина называется коэффициентом аккомодации.
Если часть атомов задержалась на поверхности в результате процессов адсорбции, вошла в равновесие с атомами подложки и затем только десорбировалась с энергией ЕД(ТД), то для такой системы коэффициент аккомодации равен
αТ =(Т1—Тот)/(Т1—ТД)= (Е1—Еот)/(Е1—ЕД)
где Тот и Еот—температура и энергия атомов в отраженной части пучка.
Описанный выше случай наиболее вероятен для процессов напыления, так как обычно температура поверхности подложки меньше усредненной температуры атмосферы. Коэффициент аккомодации зависит от массы налетевшего и ударяемого атомов, причем, если эти массы сравнимы, то захваченный атом теряет свою энергию за время нескольких колебаний атомов подложки.
Легирование пленок в процессе МЛЭ
Легирование в процессе МЛЭ осуществляется двумя различными способами. Первый основан на испарении легирующей примеси и встраивании ее в кристаллическую решетку по механизму, аналогичному процессу роста кремния.
В качестве источников примеси используют сурьму Sb, галлий Ga или алюминий Аl. Имеются данные о получении уровня легирования в диапазоне 1013—1019см-3 с однородностью на подложке ±1%. При выборе легирующих примесей в этом случае определяющими являются значения скорости осаждения атомов и значения коэффициента аккомодации. Малые значения коэффициента аккомодации свидетельствуют о высокой вероятности процесса десорбации примеси с подложки и, следовательно, о трудности образования зародышей на ее поверхности. Наличие температурной зависимости коэффициента аккомодации вызывает необходимость точного поддержания температуры подложки.
При другом способе легирования используется процесс ионной имплантации. В этом случае для легирования растущего слоя применяют слаботочные (1 мкА) ионные пучки с малой энергией (0,1—3,0 кэВ). Низкая энергия имплантации обеспечивает введение примеси на небольшую глубину под поверхность растущего слоя и встраивание ее в кристаллическую решетку. При этом способе легирования наряду с сурьмой, галлием и алюминием возможно использование таких примесей как бор, фтор и мышьяк.
П
рименение ионного внедрения в процессе МЛЭ позволяет получать сложные профили легирования, что практически невозможно осуществить, используя методы эпитаксии из парогазовой фазы (рис. 11.6.16). В то же время внедрение МЛЭ в технологический процесс изготовления интегральных схем и полупроводниковых кремниевых приборов долгое время сдерживалось отсутствием необходимого промышленного оборудования. В последние годы налажен выпуск систем для проведения процесса МЛЭ, которые, однако, отличаются высокой стоимостью и сложностью.
Рис. 11.6.16. Распределение примесей при ионной имплантации
Описание установки для выращивания пленок в процессе МЛЭ
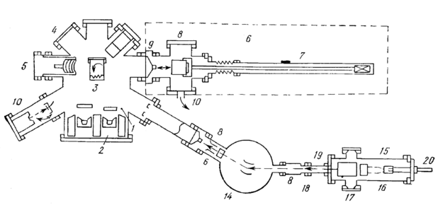
Одна из возможных схем современной установки для осуществления процесса молекулярно-лучевой эпитаксии кремния представлена на рис. 11.6.17. Основой ее является вакуумная камера 1, в которой расположены источники молекулярных пучков кремния и легирующей примеси 2, направленные к нагретой подложке 3. Материал тигля, в котором находится кремний, должен быть термически стойким и химически инертным. В качестве такого материала применяют пиролитический нитрид бора или графит, максимальные рабочие температуры которых составляют соответственно 1800 и 2000° С.
Для нагрева кремния используются два электронно-лучевых испарителя мощностью 14 кВт каждый. Постоянная интенсивность потока атомов обеспечивается строгим контролем температуры испарения. Для более равномерного нагрева подложки должны быть расположёны как можно ближе к нагревателю.
Р
ис. 11.6.17. Установка молекулярно-лучевой эпитаксии.
Контроль температуры процесса осуществляется различными методами (с помощью Термопар, ИК-датчиков, оптических параметров). С целью очистки поверхности образца используют поток ионов инертного газа небольшой мощности, источником которых является ионная пушка 10. Контроль структуры и чистоты как исходной подложки, так и формируемого слоя осуществляют с помощью весьма сложных и информативных устройств. Например, чистота поверхности, ее элементный состав определяются методом ожеспектроскопии, чувствительность, которого составляет величину, равную, примерно, 1012ат/см2).
Кристаллографический анализ подложек и пленок проводят методом дифракции электронов. Пучок электронов, направляемый на подложку под углом, близким к 1°, образует дифракционную картину (электронограмму), по виду которой можно определить параметры элементарной ячейки, выявить в процессе роста слоев нежелательные ростовые структуры и откорректировать в связи с этим рабочие параметры процесса. Для анализа выращиваемых слоев применяют дифракцию быстрых электронов (ускоряющее напряжение 30— 50 кВ), а для анализа выращенных слоев—дифракцию медленных электронов (ускоряющее напряжение от нескольких вольт до 1 кВ), Для химического анализа поверхности используют метод рентгеноэлектронной спектроскопии с разрешением по глубине до 5нм и чувствительностью до 1013 ат/см2 моноатомного слоя. Окна 4, 5 предусмотрены для визуального наблюдения за процессом. В установках МЛЭ помимо основных технологических операций (очистки поверхности подложки, эпитаксиального осаждения, анализа осажденного слоя) выполняются также вспомогательные операции: ввод подложки в зону осаждения; транспортировка подложки из одной камеры в другую; юстировка подложи относительно технологических и контролирующих средств.
Для предотвращения многократных и продолжительных контактов высоковакуумной системы с воздухом предусмотрено использование загрузочного шлюзового устройства 6, в состав которого входят два вакуумных сорбционных насоса и один ионный насос производительностью 30 л/с, устройство для магнитного перемещения загрузочной штанги 7, загрузочное окно 8, клапан 9.
В отличие от эпитаксии из парогазовой фазы использование МЛЭ не связано с принятием особых мер по технике безопасности. Метод МЛЭ является весьма перспективный методом в производстве высокочастотных и оптоэлектронных приборов.
11.6.9. Тенденции развития эпитаксиальной технологии
Эпитаксия, как технологический процесс, несомненно остается неотъемлемой частью производства полупроводниковых приборов и интегральных схем. Этот процесс позволяет получать профили легирования, которые невозможно обеспечить иным путем. Со временем будут широко использоваться автоэпитаксиальные кремниевые структуры. Однако для разработки схем с высокими плотностью элементов и быстродействием необходимо воспользоваться преимуществами КНИ-технологии, метода направленной боковой кристаллизации. Использование МЛЭ в производстве СБИС с применением ионного легирования позволит существенно улучшить параметры приборов. Продолжительность высокотемпературных операций при производстве СБИС невелика, что позволяет использовать возможности легирования, предоставляемые МЛЭ.
Наблюдаемая в настоящее время тенденция к уменьшению толщины эпитаксиальных слоев для создания биполярных и униполярных интегральных схем, несомненно, приведет к дальнейшему совершенствованию эпитаксиальной технологии и более глубокому изучению эффекта автолегирования. Значительным достижением было бы получение эпитаксиальных слоев без загрязнений.
11.7. НАНЕСЕНИЕ ПЛЕНОК
Наиболее существенную роль в микроэлектронике тонкие пленки играют, во-первых, в качестве изоляционных покрытий, масок при процессах диффузии и ионной имплантации, для диффузии из примесно-селикатных слоев, герметизирующих слоев, защищающих поверхность приборов от внешних воздействий, для иттерирования примесей и дефектов и т. д.
Вторым, не менее важным, аспектом применения тонких пленок, является использование их для металлизации с целью реализации межкомпонентных соединений с низким сопротивлением и создания контактов с областями n+ и р+-типа, а также со слоями поликристаллического кремния.
В
технологии изготовления ИС Процессы создания диэлектрических и электропроводных пленок применяются в ряде случаев чаще, чем диффузия и ионная имплантация. На рис. 11.7.1 представлена структура обычного полевого МОП-транзистора с сильнолегированными n+ областями стока и истока, образованными в результате ионной имплантации в кремниевую подложку р-типа.
Рис. 11.7.1. Схема поперечного сечения МОП-транзистора
Электрические контакты к областям стока и истока выполнены из алюминия и проходят через узкие вертикальные окна в слое оксида кремния, выполняющего роль диэлектрика.
Для образования покрытия на поверхности подложки частицы осаждаемого вещества должны вступить с ней в непосредственный контакт. Источник осаждения частиц обычно расположен отдельно от подложки и для доставки этих частиц к ее поверхности, как правило, применяется среда—носитель. После попадания осаждаемых частиц на поверхность подложки значительная их часть либо адсорбируется на ней, либо образует новое химическое соединение, которое затем остается на поверхности. В целом процесс осаждения характеризуется типом осаждения частиц, средой—носителем, способом введения осаждаемого вещества в среду—носитель, типом реакции на поверхности подложки, а также механизмом переноса осаждаемых частиц от источника к подложке.
По типу использования среды—носителя методы осаждения пленок могут быть классифицированы на следующие.
1. Формирование пленок из газовой фазы.
2. Формирование пленок в результате взаимодействия поверхности подложки с химическим реагентом.
3. Осаждение тонких пленок из растворов или расплавов.
4. Формирование пленки из твердой фазы.
5. Осаждение пленки в результате электролитических реакций.
11.7.1. Нанесение пленок в вакууме
















