06 (970697)
Текст из файла
6. Трещины, коробление в отливках. Виды трещин, механизм образования, меры предупреждения.
В отливках в результате неравномерного затвердевания тонких и толстых частей и торможения усадки формой при охлаждении возникают напряжения. Эти напряжения тем выше, чем меньше податливость формы и стержней. Если величина напряжений превысит предел прочности литейного сплава в данном участке отливки, то в ее теле образуются горячие и холодные трещины. Если литейный сплав имеет достаточные прочность и пластичность и способен противостоять действию возникающих напряжений, искажается форма отливки.
Внутренние напряжения:
Термические - при разности стенок или сложности отливки (охлаждение с разной скоростью);
Фазовые – при переходе из одной фазы в другую;
Усадочные
Если σл> σт – искривление отливки.
Если σл> σв – трещины в отливке(горячие и холодные).
σл= σт+ σф+ σус
Горячие трещины в отливках возникают в процессе кристаллизации и усадки металла при переходе из жидкого состояния в твердое, при температуре близкой к температуре солидуса. Горячие трещины проходят по границам кристаллов и имеют окисленную поверхность.
Меры предупреждения:
Необходимо создавать условия, способствующие формированию мелкозернистой структуры; обеспечивать одновременное охлаждение тонких и толстых частей отливок; увеличивать податливость литейных форм; по возможности снижать температуру заливки сплава.
Холодные трещины возникают в области упругих деформаций, когда сплав полностью затвердел. Тонкие части отливки охлаждаются и сокращаются быстрее чем толстые. В результате в отливке образуются напряжения, которые вызывают появление трещин. Образуются: при t<tликв.; от усадочных напряжений; не только в процессе охлаждения, но и в процессе эксплуатации.
Меры предупреждения:
Необходимо обеспечивать равномерное охлаждение отливок во всех сечениях путем использования холодильников; применять сплавы для отливок с высокой пластичностью; проводить отжиг отливок и т.п.
Коробление – изменение формы и размеров отливки под влиянием напряжений, возникающих при охлаждении.
Меры предупреждения:
Н
еобходимо увеличивать податливость формы; создавать рациональную конструкцию отливки и т.п.
14. Центробежное литье и центробежный метод литья
Рис а) –гориз. ось
1- электродвигатель/2- изложница/3 – желоб /4 –ковш/5 – ролики/ 6 – корпус/ 7 – опорные ролики/ 8-песчаный стержень
Рис б) верт. ось
1-шпиндель/2-изложница/3-метал/4-ковш
Рис в)
1,4-крышки/2-стержень/3-сток центробежной машины
Отливки из чугуна, стали, бронзы и алюминия. Центробежным способом можно получить двухслойные заготовки. Плотные отливки.
Преимущество - получение внутренних полостей без применения стержней, экономия сплава.
Преимущества:
-
Высокая износостойкость.
-
Высокая плотность металла.
-
Отсутствие раковин.
-
В продукции центробежного литья отсутствуют неметаллические включения и шлак.
Применение
Центробежным литьем получают литые заготовки, имеющие форму тел вращения:
-
втулки
-
венцы червячных колес
-
барабаны для бумагоделательных машин
-
роторы электродвигателей.
По сравнению с литьем в неподвижные формы центробежное литье имеет ряд преимуществ: повышаются заполняемость форм, плотность и механические свойства отливок, выход годного.
Однако для его организации необходимо специальное оборудование; недостатки, присущие этому способу литья: неточность размеров свободных поверхностей отливок, повышенная склонность к ликвации компонентов сплава, повышенные требования к прочности литейных форм.
21. Получение отливок из сплавов меди. Литейные свойства этих сплавов, способы и особенности изготовления отливок.
Для изготовления отливок используют медные сплавы, которые делят на бонзы(оловянные и безоловянные) и латуни.
Бронзы обозначают, например, Бр05Ц5С5, где первые буквы - принадлежность данного сплава к бронзам, остальные буквы – элементы которые входят в состав бронзы(олово, цинк, свинец, алюминий, железо), цифры стоящие после букв – процентное содержание элементов в данном сплаве.
Латуни обозначают, например, ЛЦ40Мц3А, где буква Л – принадлежность данного сплава к латуням, остальные буквы – элементы которые входят в состав латуни(цинк, алюминий, железо, марганец), а цифры – их процентное содержание.
Медные сплавы(бронзы и латуни) имеют высокие временное сопротивление(196…705 МПа), относительное удлинение (3…20%), коррозионные и антифрикционные свойства.
Оловянные бронзы имеют хорошую жидкотекучесть, достаточно высокую усадку (1,4…1,6%). Затвердевают в большом интервале кристаллизации(150…200°С).
Безоловянные бронзы обладают высокими жидкотекучестью и усадкой (1,6…2,4%), затвердевают в малом интервале кристаллизации.
Латуни имеют удовлетворительную жидкотекучесть, высокую усадку(1,6…2,2%), затвердевают в интервале кристаллизации 30…70°С. Все медные сплавы склонны к образованию трещин.
| Медные сплавы плавят в индукционных канальных низкочастотных печах на воздухе, в среде защитных газов или в вакууме.
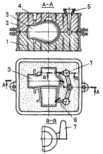
1-металлический сердечник; 2-плавильный канал; 3-первичная обмотка; 4-огнеупорная футеровка. В качестве шихтовых материалов прим. чистую медь, отходы производства, цинк, олово, железо, никель и др. Для предохран. от окисл. и поглощения водорода плавку меди ведут под слоем древесного угля. Нагретый до темп. 1200 °С расплав раскисляют фосфористой бронзой, затем вводят лигатуры или чистые металлы для получения треб. хим. состава. | Отливки из медных сплавов(~80%) изгот. литьем в песчаные и оболочковые формы а так же литьем в кокиль, под давлением, центробежным литьем и др. Схема литейной формы для отливки корпуса из медных сплавов: 1,2-нижня и верхняя полуформы; 3-стержень; 4-открытая прибыль; 5-литниковая воронка; 6-холодильник; 7-закрытая прибыль. Устанавливают прибыли и холодильники для предупрежд. обр. усадочных раковин и пористости в массивных узлах отливок. Для предупр. появл. трещин в отливках исп. форму с высок. податливостью. Для увелич. податливости в формовочную смесь вводят опилки. |
Характеристики
Тип файла документ
Документы такого типа открываются такими программами, как Microsoft Office Word на компьютерах Windows, Apple Pages на компьютерах Mac, Open Office - бесплатная альтернатива на различных платформах, в том числе Linux. Наиболее простым и современным решением будут Google документы, так как открываются онлайн без скачивания прямо в браузере на любой платформе. Существуют российские качественные аналоги, например от Яндекса.
Будьте внимательны на мобильных устройствах, так как там используются упрощённый функционал даже в официальном приложении от Microsoft, поэтому для просмотра скачивайте PDF-версию. А если нужно редактировать файл, то используйте оригинальный файл.
Файлы такого типа обычно разбиты на страницы, а текст может быть форматированным (жирный, курсив, выбор шрифта, таблицы и т.п.), а также в него можно добавлять изображения. Формат идеально подходит для рефератов, докладов и РПЗ курсовых проектов, которые необходимо распечатать. Кстати перед печатью также сохраняйте файл в PDF, так как принтер может начудить со шрифтами.
















