07 (970698)
Текст из файла
7. Газовая раковина и газовая пористость. Причины их появления, меры их устранения.
Газы O2, C2, N2, H2 могут находиться в атом. состоянии или мол. сост. в виде неметалл. включений (FeO, MnO, Al2O3, CO, CO2) Растворимость газов увеличивается с повышением температуры. Расплав может насыщаться газами во время плавки, а так же при заливке формы.
Если ↑ газов => при заливке они стремятся выделиться в виде пузырьков. Когда температура достигает пределы кристаллизации, эти пузырьки остаются в отливке в виде газовой пористости.
Когда происходит. кристаллизация, раствор-ть газов ↓, если сплав охл-ся при t=const, или в небольшом интервале кристаллизаций, то образуются газо-усадочные раковины.
Если в процессе охлаждения сплав охл. в большом интервалеле, то обр. газоусад. пористость (газы оставшиеся в отливке, обр. неметалл. включений)
Газовые раковины, пористости снижают мех. свойства, герметичность отливок.
Для уменьшения вероятности формирования газовых раковин и пористости в
отливках, необходимо:
-
вести плавку под флюсом, в среде защитных газов,
-
подвергать металл дегазации вакуумированием перед заливкой или продувкой инертным газом
-
↑ газопроницаемость форм и стержней,
-
↓ влажность формовочной смеси.
-
↑ давление на отливку
-
подсушивать формы
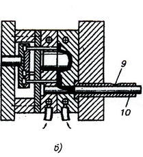
15. Получение отливок методами литья под давлением. Сущность, схема, возможности способа, области применения.
Сущность заключается в изготовлении отливок в металлических формах (пресс-формах) заполнением расплавом под действием внешних сил, превосходящих силы гравитации. Затвердевание отливки протекает под избыточным давлением. После охлаждения отливку извлекают из пресс-формы.
Значительное давление на расплав (100 МПа и >) обеспечивает выс. скорость движения потока расплава в пресс-форме, что ведет к образованию газовоздушной пористости и снижению плотности и герметичности отливок и пластических свойств. Выс. кин. энергия движущегося расплава и статич. давление способствуют получению пов-стного слоя отливки с весьма малой шероховатостью. Давление позволяет регулировать продолжительность заполнения и изменять количество теплоты, отводимой от расплава за время её заполнения.
Недостатки: выс. стоимость пресс-форм и оборудования; ограниченность габаритных размеров и массы отливок; наличие воздушной пористости в массивных частях отливок, снижающей прочность деталей.
Используют: в массовом и крупносерийном производстве отливок с min толщиной стенок 0,8 мм, с выс. точностью размеров и малой шерох-стью пов-сти за счет точной обработки и тщательного полирования рабоч. полости пресс-формы; без мех. обработки или с min припусками, что резко сокращает объем мех. обработки отливок; с выс. производительностью процесса.
Три этапа: а) заливка металла в пресс-форму; б) запрессовка металла в пресс-форму; в) закрытие и извлечение отливки.
2 – неподвижная половина пресс-формы
3 – подвижная половина пресс-формы
4 – металлический стержень
5 – подвижная плита машины
6 – плита выталкивателей
7 – выталкиватель
8 – камера прессования
9 – окно для заливки металла
10 – прессовый поршень
11 – упор
12 – отливка
24. Изготовление отливок из чугуна с вермикулярным графитом.
Маркировка: ЧВГ 30 (35, 40, 45) цифры – временное сопротивление.
Структура(см. рис.):
Графит в сплаве имеет *червеобразную* форму, располагается равномерно, стабильные размеры включений. Содержание феррита значительное (70..90%)
Свойства:
-Высокое временное сопротиление (300-450 МПа).
-Относительное удлинение 3.0%
-Сравнительно высокая твердость (130-290НВ).
-Линейная усадка: 1,1%, объемная усадка в 2 раза меньше чем у высокопр. чуг. с шаровидн. графитом.
-Высокая теплопроводность
-Малая чувствительность к скорости охлаждения – получение однородной структуры отливок. (до 100т, 500мм)
-Склонность к отбелу ниже чем у сер. и высокопрочных чугунов. (Можно получать тонкостенные отливки)
Для получения оптимальных свойств (механ./технологич./эксплуат.) доводят до состава:
3,3...3,8%С; 2,4…2,6%Si; 0,6…0,8%Mn; 0,015%S; 0,02…0,06 P; (0,10…0,15 РедкоЗемельныхМеталов).
Плавка
Производится в электродуговых печах / в индукционных печах / вагранках (редко)
В качестве шихтовых материалов: предельный чугун / возврат собств. производства / лигатуры / ферросилиций.
Отливки из ЧВГ.
Производится в песчаные формы.
Температура отливки 1360..1400 С
Получаемые детали: Опорные детали головок цилиндров, тормозные рычаги, бандажные кольца шестерен грузовиков, несущие кронштейны, соединительные фланцы, тормозные колодки, и,т.д.
Характеристики
Тип файла документ
Документы такого типа открываются такими программами, как Microsoft Office Word на компьютерах Windows, Apple Pages на компьютерах Mac, Open Office - бесплатная альтернатива на различных платформах, в том числе Linux. Наиболее простым и современным решением будут Google документы, так как открываются онлайн без скачивания прямо в браузере на любой платформе. Существуют российские качественные аналоги, например от Яндекса.
Будьте внимательны на мобильных устройствах, так как там используются упрощённый функционал даже в официальном приложении от Microsoft, поэтому для просмотра скачивайте PDF-версию. А если нужно редактировать файл, то используйте оригинальный файл.
Файлы такого типа обычно разбиты на страницы, а текст может быть форматированным (жирный, курсив, выбор шрифта, таблицы и т.п.), а также в него можно добавлять изображения. Формат идеально подходит для рефератов, докладов и РПЗ курсовых проектов, которые необходимо распечатать. Кстати перед печатью также сохраняйте файл в PDF, так как принтер может начудить со шрифтами.
















