122826 (766149), страница 3
Текст из файла (страница 3)
ГИДРОДИНАМИЧЕСКАЯ УСТАНОВКА ДЛЯ ЛОКАЛЬНОЙ СИСТЕМЫ ОТОПЛЕНИЯ И ГОРЯЧЕГО ВОДООБЕСПЕЧЕНИЯ
Разроботана и апробирована в условиях агропроизводства гидродинамическая установка для нагрева жидкостей, позволяющая внедрить энергозберегающие технологии получения тепла.
ВСТУПЛЕНИЕ
В сложившейся ситуации дефицита и дороговизны печного топлива, нет актуальнее проблемы, чем гарантированная поставка тепла для потребителей аграрного сектора. В связи с этим перед наукой стоит важнейшая задача создания и внедрения энергосберегающих технологий и малогабаритного оборудования для обеспечения теплом агроцехов, помещений фермерских и крестьянских хозяйств, сельских дошкольных и школьных учреждений, объектов здравоохранения и быта.
МЕТОДИКА ИССЛЕДОВАНИЙ
Цель работы – обосновать и разработать энергосберегающую гидродинамическую установку, которая обеспечивает эффективное протекание технологических процессов в агропроизводстве, нуждающихся в нагреве жидкостей, а также отоплении производственных, обитаемых социальных помещений и других объектов.
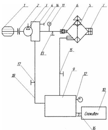
Сообразуясь с целью исследования, нами разработана на уровне патента [1] гидродинамическая установка (теплогенератор), предназначенная для термообработки бытовых и технологических систем теплоснабжения кавитационно-термическим методом и применяемая в составе систем отопления и горячего водоснабжения. На рис. 1 представлена общая схема предлагаемой гидродинамической установки нагрева жидкости.
Установка имеет приводной электродвигатель 1, муфту 2, которая соединяет насос 3, бай – пас 4, излучатель 5, краны 13, 14, 15, 16, 17, которые предназначены для регуляции процесса, манометр 11, емкость 9, термометр 12.
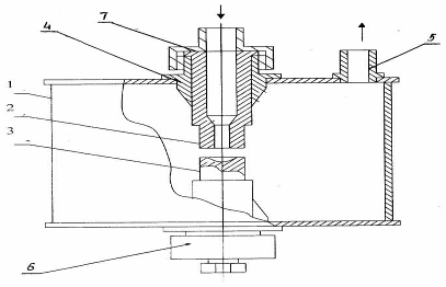
В основу установки нагрева жидкости положен гидродинамический излучатель, который превращает энергию турбулентной затопленной струи жидкости в тепловую энергию, нагревая жидкость. Конструктивная схема гидродинамического излучателя представлена на рис. 2. Наиболее целесообразным является механизм гидродинамического излучения за счет пульсации кавитационной области, которая образуется между соплом 2 и препятствием 3 (рис. 2).
Рис.1. Схема гидродинамической установки нагрева жидкости.
Рис.2. Схема гидродинамического кавитатора.
Отбивающие поверхности могут быть выпуклыми, плоскими и вогнутыми. Лучшим в энергетическом отношении является вогнутый отражатель в виде лунки. Гидродинамический излучатель работает под давлением жидкости, которая создается насосной станцией.
Гидродинамический излучатель имеет входной 4 и выходной 5 штуцер (рис. 2), причем диаметр выходного штуцера 1,5-2,0 раза больше входного (рис. 2).
Гидродинамический излучатель состоит из корпуса 1, в котором расположенные сопло 2 и отражатель 3, регулировочного устройства 6 и завихрителя потока жидкости 7.С помощью механизма регуляции 6 можно изменять величину зазора между соплом и отражателем излучателя.
Излучатель настраивается установкой определенного зазора между соплом и отражателем. Оптимальный зазор – 2,9 мм. Контроль режима работы излучателя осуществляется с помощью специального акустического датчика (гидрофона). В большинстве случаев настраивать излучатель можно на слух по максимуму звучания акустического режима.
Гидродинамический излучатель 5 вмонтированный в нагнетающую магистраль установки (рис. 1), вход которой соединен с насосом 3 через бай-пас 4, а выход подключен трубопроводом к технологической емкости 9. На входе излучателя установлен завихритель 6 для повышения интенсивности закручивания жидкости с целью предыдущего нагрева, выполненный в виде втулки с двухзаходной внутренней резьбой.
Гидродинамическая установка работает таким образом: в режиме нагрева жидкости при включении приводного электродвигателя 1 через муфту 2 начинает работать насос 3 и всасывает жидкость из емкости 9 по магистрали 18 во всасывающую магистраль насоса 3, при этом краны 13, 15, 16 должны быть закрытыми, а краны – 14, 17 открытыми. Краном 14 регулируется предыдущее рабочее давление нагнетающей магистрали, которое контролируется манометром 11. Жидкость под давлением проходит по нагнетающей магистрали 7 и попадает в излучатель 5, где проходит нагревание жидкости. Краном 14 регулируется рабочее давление в излучателе 5.
Жидкость, которая прошла по магистрали через излучатель попадает в емкость 9, при этом кран 15 открытый. Этот режим повторяется несколько раз для нагревания жидкости до определенной температуры, которая контролируется термометром 12.
Нагретая жидкость через открытый кран 16 и магистраль подается к потребителю 10, при этом кран 16 открытый.
Предложенная установка для нагрева жидкости обеспечивает снижение расхода энергии в несколько раз, уменьшение металлоемкости и увеличение производительности оборудования и позволяет повысить качество и пищевую ценность с.х. продукции в условиях мини цехов и фермерских хозяйств.
РЕЗУЛЬТАТЫ ИССЛЕДОВАНИЙ
Предлагаемая гидродинамическая установка изготовлена и апробирована в условиях агропроизводства, получены положительные результаты (см. табл.1).
Таблица 1. Сравнительная характеристика стоимости 1кв.м площади помещения обогреваемого различными топливными агрегатами (по данным Инютина С.В.)
| Топливное устройство | Энерго затраты на 1000 кв. м. | |
| Котел газовый КЧМ - 96 | 46200 м. куб/час | |
| Электрокотлы « Руснит » | 94500 кВт | |
| Теплогенератор | 17300кВт | |
| Жидкотогиивный котел КЧМ-5 с горелкой | 40320 л ДТ |
В процессе испытаний установлено, что в сравнении с классическими нагревателями (тэны, котлы и проч.) гидродинамический излучатель имеет ряд существенных преимуществ, которые обеспечивают его эффективное использование:
- при одинаковой производительности имеет на порядок меньшие габариты;
- за счет высокого КПД превращения энергии потока в энергию ультразвуковых колебаний потребляет значительно меньшую мощность на привод (1,1 кВт при производительности 2,5 м. куб/час.);
- обеспечивает гибкую регуляцию производительности (от 0 до 2,5 м. куб/час);
- не имеет движущихся частей, что обуславливает его высокую надежность в эксплуатации и высокий ресурс;
- затрата электроэнергии снижается на 20-30% в сравнении с классическими теплогенераторами. Нагрев жидкости непосредственно в объеме при ее движении, обеспечивает экологическую чистоту, исключает изменение качества состава жидкости, появление накипи и других неблагоприятных явлений в нагреваемой жидкости. Нагрев жидкости осуществляется в одном узле без применения нагревательных элементов, что обеспечивает простоту системы нагрева, эффективность и безопасность эксплуатации установки. За счет модульности конструкции и широкого типоразмера установок производительность может быть любая. Использование современной автоматики позволяет обеспечить автоматический режим работы установки и полный контроль технических параметров продукта нагрева. Потребитель получает горячую воду по заданным температурным параметрам. За счет автоматизации процесса, отпадает необходимость в постоянном обслуживающем персонале. Оборудование может монтироваться в здании потребителя и включаться в существующую систему подачи горячей воды.
Техническая характеристика установки:
принцип действия- гидродинамический;
рабочая жидкость - вода, масло, другие жидкости;
потребляемая мощность, кВт - 1,7 - 5,5;
напряжение, В - 380;
Тепловая производительность, ккал/час от 6000 до 24000
Скорость нагрева жидкости в установке, град/мин - 2,4 - 4,0
температура нагрева - до 140 *С;
кпд - 99%;
условия работы - пожаробезопасна;
габаритные размеры, мм: 700х300х400
вес, кг - от 18 до 46;
технологический процесс - автоматизирован.
Разработанная установка по патенту [1] может быть использована в системах отопления помещений, прямого горячего водоснабжения, горячего водообеспечения через бойлер или с вентиляционным калорифером. В качестве примеров использования гидродинамической установки на рис.3 и рис.4 приведены характерные схемы соответственно для локального отопления (рис.3) и горячего водоснабжения (рис.4) [2].
Полагаясь на типовые схемы, (рис.3, рис.4) опытно-экспериментальные установки внедрены в МП "МНЗ" и фермерских хозяйствах Беляевского и Савранского районах Одесской области. Одновременно считаем необходимым отметить, что гидродинамический кавитатор по патенту [1], благодаря модульно - блочному конструктивному исполнению может быть широко использован ( кроме получения тепла) в различных процессах, а именно:
диспергирование ( эмульгирование) - ( глубокое измельчение или перемешивание среды или компонентов на молекулярном уровне с сохранением однородности смеси на 90 и более суток);
утилизация жидких нефтешламов и превращение его в топливо (создание стабильных топливных эмульсий из нефтешлама);
обработка обводненного мазута с целью экономии до 18%;
для обеззараживания и очистки воды безреагентными способами;
для обработки дизельного топлива с целью его экономии, уве-личения фильтруемости, снижения зольности, температуры застывания, температуры вспышки;
для обработки нефти с целью увеличения выхода светлых нефте-продуктов;
производства биодизельного топлива;
мойки стеклотары и деталей;
сушки фруктов лекарственных трав и лесоматериалов;
пастеризации молока и соков;
производства лицитина и кормовых добавок;
производства красок, олифы и других строительных смесей.
Рис.3. Схема локального отопления здания. 1-теплогенератор, 2-циркуляционный насос, 3- пульт управления, 4- батареи водяного отопления, 5- бак-накопитель горячей воды.
Рис.4. Схема горячего водоснабжения душевой. 1-теплогенератор, 2-циркуляционный насос, 3- пульт управления, 4- датчик температуры, 5- бойлер-теплообменник , 6- первичный контур теплообменника, 7- бак первичного контура.
ВЫВОДЫ
Гидродинамическая установка по своим техническим характеристикам и функциональным возможностям обеспечивает энергосберегающие требования, предъявляемые к системам локального отопления помещений и горячего водоснабжения, апробирована в реальных условиях эксплуатации, может быть использована в цехах аграрного сектора и в быту.
ЛИТЕРАТУРА
1. Топилін Г.Е.,Умінський С.М. Гідродинамічна установка для нагрівання рідини, Патент на корисну модель UA 31462 F25B29/00 .Заявлено 05.12..2007. Опубл.10.04.2008. Бюл .№7.
ДВОХСТУПЕНЕВА ОЧИСТКА РОСЛИННОЇ ОЛІЇ
Розроблена установка для двохступеневої очистки рослинної олії та приставлені результати досліджень якості сировини та готової продукції.
ВСТУП
Важливим етапом у виробництві рослинної олії слугує процес її очистки від фосфатидів, механічних і інших небажаних домішків. Найбільш ефективним способом очистки олії тонкодисперсних частин є фільтрація. Суть її являється у протіканні олії через досить дрібні отвори фільтруючої перегородки. Олія проходить через отвори фільтруючих елементів, а частинки, розмір яких більше розмірів отворів , затримуються на її поверхні, утворюючи осадок. В залежності від якості фільтруючої перегородки і режиму фільтрації (тиск, температура, час т. д.) можна досягти різного ступеня очистки олії.
Відома існуюча установка для очистки рослинної олії типу „ФП2-3000" [1] за одноразовий прохід через фільтруючі перегородки. Фільтруючі елементи встановлюються у фільтрпресі, який вміщує в собі цілий ряд розміщених послідовно рам і плит. Кожна плита обгортається фільтруючою тканиною так, щоб дві плити з двох сторін і рама, яка знаходиться між ними, утворювала самостійний фільтруючий елемент.
Основні недоліки установки „ ФП2-3000 " :
великі габаритні розміри;
складність конструкції;
висока енергомісткість;
низька надійність роботи із-за постійних неполадок рамок.















