122826 (766149), страница 2
Текст из файла (страница 2)
На нагнетающем трубопроводе после насоса рекомендуется установить манометр для измерения давлении перекачиваемой жидкости, а на всасывающем трубопроводе перед кавитатором -мановакууметр.
Утечки ш уплотнения вала насоса собираются в корьло и отводятся в дренаж. Для отвода утечки должен быть проложен дренажный трубопровод.
Следует проверить действие вентилей трубопроводов и кранов манометров. Исходное положение вентилей и кранов перед пуском закрытое.
Смонтированную систему следует нспы га I ь на герметичность и прочность пробным давлением по ГОСТ 356-80, но не более 0,3 МПа (3 кгс/см2).
Проверить вращение вала насоса. Вал должен проворачиваться ог руки без заеданий. Направление вращения ротора - по часовой стрелке, если смотреть со стороны двигателя. ВНИМАНИЕ: вращение ротора против часовой стрелки (даже кратковременное) не допускается. Предусматриваются следующие виды технического обслуживания:
- повседневное;
- периодическое (один раз в месяц).
При повседневном обслуживании должны осуществляться следуюшие действия: Произведите внешний осмотр.
А дальше все работы проводите при отключенном электродвигателе и наличии таблички
«НЕ ВКЛЮЧАТЬ!» на его автомате пуска.
Убедитесь, что температура корпуса насоса не превышает допусч имую. Уберите ветошью грязь и
посторонние предметы с оборудования.
Убедитесь в отсутствии [ечи по фланцевым соединениям. Проверьте величину утечки через уплотнения. Утечка наружу не должна превышать 2103 мЗ/час.
При периодическом обслуживании должны осуществляться следующие действия:
Все работы проводите при отключенном электродвига1еле и наличии таблички «НЕ
ВКЛЮЧАТЬ!» на его автомате пуска.
Произведите подтяжку всех крепежных деталей установки, а также его
крепления к фундаментной плите.
Через 4000 часов работы произведите ревизию.
При наличии износа деталей узлов и агрегатов установки.
После выработки ресурса установки осуществите его капитальный ремонт.
При этом рекомендуется следующий порядок разборки-сборки агрегата.
Разборку и сборку установки производите только стандартным инструментом с использованием спец. инструмента, Перед разборкой очистите установку, и ее электродвигатель снаружи ог пыли и грязи!
Для ревизии проточной части, уплотнения вала и при текущем ремонте производится частичная разборка установки. Порядок разборки агрегата, следующий:
Закройте вентили на напорной и всасывающей линиях.
Обесточьте агрегат.
Отсоедините трубопроводы от насоса.
Слейте жидкость из кавитатора через штуцер, к которому был присоединен трубопровод, отводящий от теплогенератора нагретую воду.
Отсоедините трубопровод слива утечек
Снимите кожух муфты.
Снимите монтажный приставок соединительной муфты, отвернув гайки крепления проставки и вынув пальцы упругой муфты.
Отверните болты крепления установки к фундаментной плите.
Снимите гидронасос вместе с его валом и корпусом узла уплотнения с фундаменпюй плиты. Дальнейшая разборка установки должна производиться на специализированном участке, исключающем загрязнение ее деталей. Сборка установки производится в порядке, обратном разборке. Перед сборкой все детали должны быть подготовлены к сборке; т.е. очищены от грязи, ржавчины, заусенцев. Острые углы у всех деталей должны быть притуплены.
При сборке необходимо соблюдать чистоту. Все детали перед сборкой необходимо протереть чистыми сухими концами.
Все резьбовые соединения при сборке смазать смазкой по ГОСТ 3333-80. Все гайки в собранной установке должны быть затянуты равномерно. Затяжка гаек не должна вызывать перекоса соединяемых деталей. Концы шпилек должны выступать из гаек на одинаковую высоту (1 ... 4) нитки резьбы) в одном соединении. Утопление в гайке торца шпильки не допускается.
ВИГОТОВЛЕННЯ БІОДИЗЕЛЬНОГО ПАЛИВА ДЛЯ МОБІЛЬНОЇ ТЕХНІКИ
Підсумовані матеріали та розроблено пристрій для виробництва біодизельн6ого палива в умовах агровиробництва.
ВСТУП
Європейські країни (Німеччина, Австрія, Франція й ін.) успішно організують виробництво біодизплива «БДП» для тракторной техніки та автомобілів [1]. Принцип виробництва «БДП» - відбувається етерифікація рапсового масла з метиловим або етиловим спиртом при наявності молочного каталізатора. Результатом етерифікації являється активізована суміш, вміщуюча біодизельне паливо, гліцерин і інші компоненти. За кордоном, наприклад, країнах ЄС, комплекс « виробництво олії - отримання біодизеля » збираеться в єдиному виробничому циклі.
Основні виробники «БДП» в країнах ЄС:
Diester Indastrie (Франція );
INEOS Chlor (Великобританія);
ADM, RVM (Германія );
Novaol , DR Zubrificanti (Італія);
Bionet Europa SC (Іспанія).
В Європі щорічно виробляється 600 тис. т. біопалива. за останні 10 років попит на «БДП» виріс на 5 млн. т. Прогнозується в закордонних країнах виробництво біодизеля до кінця 2010 р. – 12 млн. т. Загальна ж потреба – 25 млн. т. В Україні склались об’єктивно умови для освоєння виробництва «БДП» на основі рапсового масла, перед усім на міні заводах, агро - виробництвах. Такий прецендент уже є, наприклад, Польська компанія «Man – Zoil». Вирішення проблеми виробництва біодизеля передбачено і в Україні ( Указ Президента, України №1094). Згідно указу, міністерством аграрної політики України сформульована концепція державної програми по розробці и впровадженню технологій і обладнання для виробництва альтернативного палива включая «БДП».
МЕТОДИКА ДОСЛІДЖЕНЬ
Покладаючись на закордонний досвід [1] та розробки [2,3] була розроблена – універсальна гідродінамічна установка для виробництва «БДП» на основі диспергування на молекулярному рівні рапсової олії з етанолом в присутністі каталізатору (наприклад, гідроксіду натрію ).
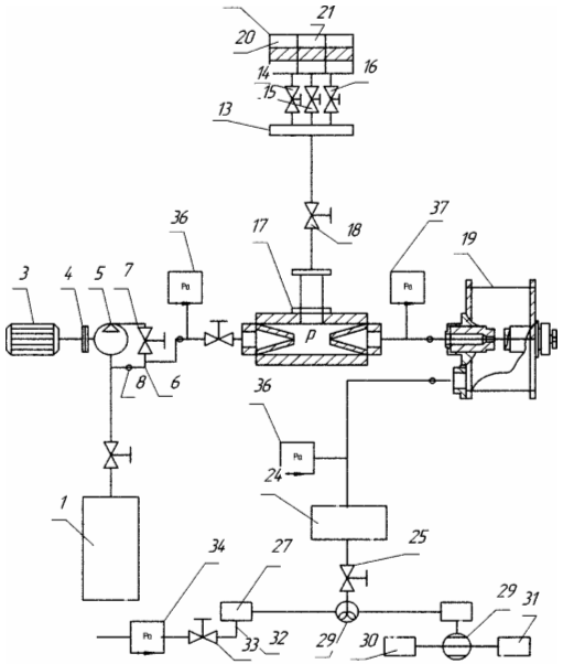
Установка призначена для отримання «БДП»в умовах агропромислового виробництва. Принципова схема універсальної установки для отримання «БДП» представлена на рис.1. Установка включає в себе технологічну ємність 1 для сировини ( рапсове масло), гідростанцію, що складається з електродвигуна 3, муфти 4, насоса 5, бай – паса 6 і вентилятора 7 для регулювання тиску олії в системі. Бай – пас 6 нагнітаючою магістраллю 8 і через кран 9 з’єднаний з дозатором – змішувачем 10 інжекторного типу і гідродинамічним диспергатором 19. Дозатор – змішувач 10 і диспегатор 19 встановлені послідовно, при чому вихід дозатора з’єднаний з виходом диспергатора. Дозатор – змішувач 10 має полость розрідження «Р» між соплом 11 и розширювачем 12, розміщеним в його корпусі назустріч одне одному. Порожнина розрідження дозатора трубопроводом 17 через кран 18, з’єднана з колектором 13. Колектор 13 з’єднаний арматурою через крани 14, 15 і 16 з внутрішніми порожнинами бака 35, що має три секції 20, 21 і 22 для компонентів. Секція 20 призначена для дизельного палива нафтового походження, секція 21 – для метанолу, секція 22 – каталізатора ( гідроксид натрію). Вихід дозатора 10 з’єднаний з виходом гідродинамічного диспергатора 19. Одночасно вихід із диспергатора трубопроводом з’єднаний з технологічною ємністю 24, для гідродинамічної активної суміші рапсового масла з компонентами, що надходять із секції 20, 21 и 22 бака 35 через колектор 13 и дозатор – змішувач 10. Ємність 24 через кран 25 з’єднана з сепаратором 26 для розділення фаз «біодизель» і «водно – гліцеринова суміш», відповідно поступающих в ємності 27 і 28. Ємность 28 для «водно – гліцеринової суміші» з’єднана з фільтром вологоочисником 29, який в свою чергу з’єднаний з ємністю 30 для гліцерину и 31 для збору вологи ( води). Ємність 24 оснащена дренажним трубопроводом 32 з краном 33 для видачі готової продукції. Установка обладнана вимірювальними приборами ( манометром 36, датчиком температури 37, витратоміром біодизеля 34 ).
Установка конструктивно виконана по модульно – блочному типу, універсальна [4]. Універсальність установки передбачується її можливістю працювати в трьох режимах, а саме:
Отримання «БДП» на основі диспергування холодно пресованого очищеного рапсового масла (РМ), дизельного палива (ДП) нафтового походження і метанолу (М), з впливом каталізатора (К).
Отримання «БДП» на основі чистого метилового ефіру (МЕ), з динамічно активізованої суміші (РМ) и (М) обробленого каталізатором (К) .
Отримання «БДП» з суміші «ДТ» и «РМ» диспергуванням компонентів на молекулярному рівні.
Рис.1. Універсальна установка для виробництва біодизельного палива.
РЕЗУЛЬТАТИ ДОСЛІДЖЕНЬ
Універсальна установка працює в режимах 1, 2 и 3 таким чином:
В режимі 1 - крани 14; 15; и 16 бака 35 відчинені для проходження в дозатор змішувач 10 всіх компонентів. При включенні приводного електродвигуна 3 через муфту 4 починає обертати гідронасос 5, який всмоктує «РМ» з ємності 1 в бай – пас 6 и напірну магістраль 8, установки.
Після цього краном 6 бай паса регулюється робочий тиск в магістралі 8, який контролюється манометром 36. Рапсове масло під тиском проходить по напірній магістралі 8 при відкритому крані 9 і попадає в дозатор – змішувач 10. Одночасно при відкритих кранах 14, 15 и 16 із секцій 20, 21 и 22 бака 35 в колектор 13 потрапляють компоненти ( «ДТ», «МТ» И «К» ), які предварительно в ньому змішувавсь, всмоктуються через відкритий кран 18 і трубопровід 17 в порожнину розрідження «Р» дозатора 10.
В дозаторі змішувачі 10 рапсове масло інтенсивно насичується компонентами («ДТ», «М» и «К» ). Попередньо насичена суміш попадає в гідродинамічний кавітатор 19.В кавітаторі 19 виконується глибоке диспергування суміші компонентів з «РМ» на молекулярному рівні.
Активована суміш получая властивості «БДП» поступає по трубопроводу 23 в технологічну ємність 24, а потім – в сепаратор 26 при відкритому крані 25. В сепараторі 26, суміш розділяється на фази «біодизель» и «водно- гліцеринова суміш», потім кожна фаза поступає в відповідності ємності 27 і 28. Далі «водно – гліцеринова суміш» подається з ємності 27 в фільтр вологоочисник 29, де розділяється на гліцерин і воду. Гліцерин зливається в ємність 30, а волога (вода ) в ємність 31.
В результаті готова продукція «БДП» з ємності 27 по трубопроводі 32 при відкритому крані 33 через витратомір 34 видається споживачеві. Гліцерин може бути використаний при виробництві кормових добавок для птиць.
В режимі 2 . Установка працює при закритому крані 14 и відкритих кранах 15 і 16 для потрапляння відповідних компонентів (метанолу і каталізатора ) через колектор 13 в порожнину розрідження «Р» дозатора змішувача 10. Технологічний процес отримання «БДП» аналогічний роботі в режимі 1.
В режимі 3. Установка працює при закритих кранах 15 і 16 бака 35 и відкритому крані 14 для потрапляння «ДТ» нафтового походження через трубопровід 13 порожнину розрідження «Р» дозатора змішувача 10. В подальшому подібним чином, як і по п.п.1 і 2, протікає технологічний процес отримання «БДП» на основі диспергуваня «ДТ» і «РМ».
Установка апробована в умовах агровиробництва, отримані результати наведені у таблиці 1.
Таблиця 1. Показники біодизельного палива та дизельного палива нафтового походження
| Вид палива | Показники | |||
| Цетанове число | Кінематична вязкість при t=20°C, мм2/c | Температура вспышки | Плотность при t=20°C, кг/м3 | |
| Біодизельне паливо з рапсової олії | 40 | 7,83 | 52 | 848 |
| Дизельне паливо нафтового походження | 50 | 6,0 | 40 | 860 |
ВИСНОВКИ
Універсальна установка для виробництва біодизельного палива випробувана в ЮНТЦ (УААН), отримані обнадіюючи результати, а саме:
біодизель по своїм фізико – експлуатаційним властивостям практично не відрізняється від дизельного палива нафтового походження;
викиди відпрацьованих газів значно зменшуються;
викиди твердих частин зменшуються до 50 %;
працездатність дизелів практично не змінюються без конструктивної модернізації основних вузлів і агрегатів;
робота дизельних двигунів на біодизелі екологічно безпечна, що має більше значення для захисту навколишнього середовища;
продуктивність установки 1100 л/год. біодизеля. Установка може бути використана для забезпечення біодизелем агровиробництва, враховуючи простоту її конструкції, продуктивність и невеликі габаритні розміри, а також можливість вирощування рапса в Україні.
Виробництво біодизеля можна легко організувати, в т. ч. умовах фермерського господарства. Вартість біодизеля в даний час не перевищує вартість традиційного нафтового дизельного палива і має тенденцію до зниження. Біодизель отримав широке розповсюдження в багатьох країнах світу. Серед яких, Германія, Австралія, Австрія, Чехія, Франція, Італія, Швеція, США, а також інші країни. Спеціалісти по моторній техніці вважають біодизель кращим паливом для двигунів з самозапалюванням. Спираючись на закордонний досвід, розроблена нами установка буде корисною для вирішення проблем забезпечення агро виробництва України дизельним паливом.
ЛІТЕРАТУРА
1. Білл Вэйзон. Перспективи і задачі постачань олії на біодизельный ринок Єс-Україна.: Олійно-жировий комплекс, №4(7) 2004, с. 70-71.
2.Г.Є. Топілін, С.М. Умінський. Гідродинамічна установка для отримання біодизельного палива. Патент на корисну модель UA 31463 C10L8/00 Заявлено 05.12.2007. Опубл.10.04.2008. Бюл .№7
3.G.Topilin, S.Yminski,Y.Yakovenko. Biodiesel fuel FOR AGRICULTURAL MACHINERY. POLISH ACADEMY OF SCIENCE DEPARTAMENT IN LUBLIN. COMMISSION OF MOTORIZATION AND POWER INDUSTRY IN AGRICULTURE. TEKA. LUBLIN. 2008. Volume 8-7 . p 283-287















