teoret_analiz (746081), страница 8
Текст из файла (страница 8)
ƒб = ∑ ƒ1+ ƒ2+...+ƒ49 + [∑ ƒ1+ ƒ2+...+ ƒ59]·3 (2.20)
ƒj ƒi
Из таблицы следует, что каждая функция имеет свое количество обращений, например: ƒ14 =6; ƒ47 =4 и т.д.
Упростив выражение (2.20), получим:
ƒб = [∑ ƒi]·3 + ∑ƒj, (2.21)
Для подсчета числа обращений отметим, что:
ƒi =Кi; ƒj = Кj,
где Ki – число обращений, которое имеет комплексная боевая функция отделения;
Kj - дополнительное число обращений, которое имеет комплексная боевая функция взвода.
Итоговое число обращений, которое имеется в бою во взводе, слагается из числа обращений трех отделений в бою и дополнительного числа обращений, которое имеет комплексная боевая функция взвода:
К = 3Кi + Кj. (2.22)
Подставив из таблиц 1 и 2 данные в выражение (2.22), получим общее число обращений комплексной боевой функции взвода:
К = 35485+8805 = 16455+4400 = 20855.
Для удобства дальнейших расчетов будем пренебрегать дополнительным числом обращений Кj, имея в виду, что общее число обращений взвода будет состоять из числа обращений трех отделений:
К = 3Кi => К = 16455.
Итак, согласно результатам проведенного анализа и фотографии боя по типу фотографии рабочего дня мы можем предположить, что практическое число обращений отделения и взвода в бою составляет:
(2.23)
К = 5485 (отделение);К = 16455 (взвод).
2.1. Некоторые общие положения моделирования
функций управления и участников управления
боевых подразделений (отделение, взвод)
В данном разделе рассматривается воинское подразделение, в котором нет специального отдела – штаба, координирующего центра, обеспечивающего управление подразделением в автономном режиме, т.е. генерирование управляющих воздействий и их конкретную реализацию. При составлении теоретико-множественной модели воинского (боевого) подразделения необходимо перейти к декомпозиции, т.е. так ее расчленить, чтобы каждая проблема (подсистема) была функционально самостоятельна (по крайней мере настолько, чтобы выявить внешние характеристики, которые можно изучать) и чтобы число связей с другими подпроблемами было не очень велико. Воинское (боевое) подразделение можно рассмотреть как систему элементов-звеньев, моделирующих частные свойства подразделения, а структура системы отражает связь свойств в моделируемом объекте. Отдельные свойства воинского подразделения с позиций системного подхода существенно различны, поэтому их можно рассматривать как частично независимые. Но с учетом их системной целостности эти свойства находятся в субординационной связи между собой, что дает основание рассматривать воинское (боевое) подразделение как иерархическую систему.
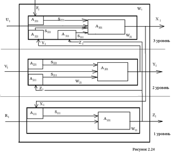
Структуру математической модели воинского (боевого) подразделения можно представить имеющей три уровня. Каждый уровень моделирует определенные свойства боевого подразделения, а взаимосвязь уровней отражает системную целостность. На рисунке 2.24 представлена структурная схема математической модели. В состав структурной схемы входят три звена-уровни иерархии боевого подразделения W11; W21; W31, которые находятся во взаимной иерархической связи с помощью операторов связи Akl1 (k = 1, 2, 3; l = 0, 1, 2, 3). Операторы через внутренние переменные Skm1 (k = 1, 2, 3; m = 1, 2, 3), связывают отдельные уровни модели в единую систему, а с помощью выходных величин X1; Y1; Z1 и входных воздействий U1; V1; R1 – с внешней средой и системой управления, которые оказывают воздействие на моделируемый объект. Моделируемое боевое подразделение входит в состав более крупного подразделения как составляющий элемент большой системы, которая по отношению к моделируемому подразделению W1 является метасистемой Фс:
Фс = {W11 Є Ic}, (2.25)
где Ic – индексирующее множество, по которому организовано подразделение верхнего уровня, т.е. топология построения структуры подразделения.
Как правило, при системном анализе рассматриваемую структуру моделируемого подразделения W1 можно представить состоящей из двух частей: общесистемной и локальной. Общесистемная составляющая W31 входит в модель верхнего уровня метасистемы Фс1, а локальная составляющая, образованная первым и вторым W11; W21 уровнями, входит в модель нижнего уровня метасистемы Фс2:
Фс = Фс1 U Фс2.
С
ледовательно, модель метасистемы Фс – это объединение моделей верхнего и нижнего уровней, т.е. иерархическая двухуровневая система.
Рис. 2.24
Создавая модель низших боевых подразделений именно в боевой обстановке (в бою), можно предположить, что локальной составляющей в данном случае можно пренебречь. То есть при дальнейшем анализе подразделений (отделение, взвод), имеется в виду, что все исполнители и участники управления морально, психологически и физически подготовлены к ведению боя, а также обучены и умеют эффективно использовать вооружение и специальную технику. Другими словами, при создании модели отделения, изображенной на рисунке 3.1, использовались параметры только третьего уровня.
Третий уровень – верхний уровень – является общесистемным уровнем, поэтому управление характеристиками этого уровня должно быть скоординировано с требованиями метасистемы. Как элементы верхнего уровня иерархии данный уровень диктует условия функционирования, т.е. управление нижними уровнями W21; W11, которые образуют локальную составляющую элемента W1 метасистемы. Задачи управления данным уровнем можно сформулировать так:
-
Координационная оптимизация выходной величины Х1 операторов А301, А311, А321, А331 с учетом требования метасистемы W0.
-
Стабилизация выходной величины Х1, операторов А301, А311, А321, А331 в условиях действия внешнего возмущения F1.
Далее все задачи управления можно рассматривать как системные. Системные задачи обеспечивают эффективное функционирование метасистемы (подразделения на ступень выше), в состав которой входит моделируемое подразделение. К ним относятся задачи оптимизации выходных величин и операторов
3-го уровня, решение которых должно осуществляться с учетом доминирования и координации метасистемы со всеми тремя уровнями.
В соответствии с принятым теоретико-множественным подходом к моделированию, запишем модель 3 уровня в понятийном аппарате теории множеств. Операторы будут определяться как отображение входных переменных в выходные, в нашем случае входных воздействий в выходные величины. Если входных воздействий несколько, то воздействия и представляются как декартово (прямое) произведение (суперпозиция). Такой подход дает возможность перейти к аналитическим математическим моделям через векторную алгебру.
Т
ретий уровень W31
A301: U1•S311•S321•S331 → X1
A321: Z1 → S311
A321: Y1 → S321 (2.26)
A331: F1 → S331
Исключив промежуточные переменные S311, S321, S331, получаем:
Х1=А301 (U1; А311 (Z1); А321 (Y1); А331 (F1)) (2.27)
Пренебрегая локальной составляющей, имея в виду, что личный состав отделения (взвода) полностью готов к бою, т.е. все терминалы первого и второго уровня равны единице:
X1 = A301 (U1;A331 (F1)) (2.28)
Исходя из вышеизложенного и учитывая, что третий уровень W31 доминирует над вторым и первым:
W31 >>> W21>W11 (2.29)
Можно предположить, что требования к задачам оптимизации выходных величин и операторов уровней можно представить как условие координированного решения задачи оптимизации третьего уровня Ψ31 с условиями решения задачи оптимизации метасистемы Ψс, доминирующей в этом совместном условии:
(ЭА301opt) (ЭR1opt) (ЭV1opt) (ЭU1opt) [P (A301opt; R1opt; V1opt; U1opt; Ψ31 (A301opt; R1opt; V1opt; U1opt)) ΛP(A301opt; R1opt; V1opt; U1opt; Ψc (A301opt; R1opt; V1opt; U1opt))] (2.30)
Пренебрегая локальной составляющей, имеем:
(ЭA301opt) (ЭU1opt) [P (A301opt; U1opt; Ψ31 (A301opt; U1opt)) ΛP (A301optU1opt; Ψc (A301opt; U1opt))] (2.31)
Оптимальное решение имеет в общем случае вид:
L1opt=R1opt ◦ V1opt ◦ U1opt,
так как элементы локальной составляющей равны единице, имеем:
L1opt=U1opt. (2.32)
Если условие решения задач (2.31) выполняется, то оптимальное решение для случая максимизации будет лежать на границе решений:
L1max=Supl1opt (2.33)
Если условие (2.31) не выполняется, то решение не будет оптимальным и находится внутри области допустимых решений. Условие совместности (2.31) записано в предикатной форме, где Р (...) – предикат. В данном параграфе представлены результаты моделирования боевых подразделений, в которых отсутствует штаб, выполняющий функцию обеспечения обратной связи, т.е. речь идет о моделировании взвода или отделения как объекта управления. Показано, что задачи управления – это автономные задачи стабилизации выходных величин отдельных уровней и взаимосвязанные задачи оптимизации уровней с учетом иерархии, структуры объекта управления и доминирования верхних уровней.
ГЛАВА 3. ТЕОРЕТИЧЕСКИЙ АНАЛИЗ
РАСПРЕДЕЛЕНИЯ ФУНКЦИЙ УПРАВЛЕНИЯ ОТДЕЛЕНИЕМ
И ВЗВОДОМ ОМОН И ВНУТРЕННИХ ВОЙСК
МВД РОССИИ В БОЮ
3.1. Функции управления
Управленческая деятельность заключается в реализации последовательности операций, мероприятий, проводимых командованием совместно с системой управления, которые реализуются во времени в виде автономных этапов.
Проводимые операции, мероприятия являются частью оптимального алгоритма управления воинским подразделением как объектом управления. Реализация мероприятий по управлению возлагается на командование и систему управления, которая может быть штатной или созданной специально для проведения, как правило, широкомасштабных воинских операций.
Мероприятия по управлению в кибернетике называют управляющими воздействиями, они осуществляются во времени в определенной последовательности, которая называется управленческим циклом.
Участники управления в соответствии с алгоритмом управления распределяют между собой реализацию мероприятий по управлению, т.е. функции управления и время их реализации (этап цикла управления). Функции управления, как было отмечено в главе 2 – это сложные многооперационные действия, которые можно представить как многооперационные операторы, осуществляющие все этапы управленческой деятельности: переработки первичной информации, формирования алгоритмов управления, принятия решений и т.д. В системе ОМОН и внутренних войск МВД России, как и в любой другой военной системе, достаточно небольшой перечень решаемых задач управления в мирное время; но довольно большой – в случае сложной оперативной обстановки, очень большой объем необходимой управленческой информации. Причем время для переработки информации в боевой обстановке ограничено, что требует использования в системах управления высококвалифицированных офицеров. Если для отделения на БМП принять предположительно среднее время боя с применением стрелкового оружия и огневых средств машины, равное пяти часам, то интенсивность получения информации за этот промежуток времени в системе управляющему, командиру отделения можно определить по формуле Грейкунаса:
K = n[2n-1+ (n-1)], (3.1)
где К – число обращений, т.е. интенсивность поступления информации;
n – число подчиненных.
Приняв в идеале экипаж машины – десять человек, расчеты по формуле дают возможность определить интенсивность поступления информации.
Таблица 3.1
| n | 3 | 4 | 5 | 10 | 15 |
| K | 18 | 44 | 100 | 5210 | 245970 |
Очевидно, что неумеренное увеличение числа подчиненных может привести к ситуации, когда при большом числе непосредственных исполнителей и минимуме участников управления управление в системе будет затруднено, а подчас и невозможно в резко меняющейся обстановке современного боя.
Для сравнения сопоставим данные из приведенной таблицы 3.1 с данными «фотографии боя» из главы 2 и мы увидим:
Ki = 5485 (из таблицы 1) фактически;
K = 5210 (из таблицы 3.1) по расчету.
















