147811 (692067)
Текст из файла
Министерство науки и образования Российской Федерации
Южно-Уральский государственный университет
Кафедра «Специальные и дорожно-строительные машины»
Курсовая работа
По дисциплине «Шасси машин. Планетарные трансмиссии
многоцелевых гусеничных и колесных машин»
Выполнил студент
Группы АТ-401
Лёгкий Д.Ю.
Проверил доцент
Филичкин Н.В.
Курсовая работа
выполнена и защищена
с оценкой .
дата .
Челябинск 2007
А ннотация
Лёгкий Д.Ю. Анализ и синтез планетарных коробок передач. Курсовая работа по дисциплине «Шасси машин. Планетарные трансмиссии многоцелевых гусеничных и колесных машин». Челябинск, ЮУрГУ, 2007. – 65с., 60 илл., список литературы – 3 наименования.
Курсовая работа состоит из двух разделов – анализ и синтез планетарных коробок передач
Анализ кинематических схем планетарных коробок передач (ПКП), включает в себя: индексацию основных звеньев ПКП, определение значений внутренних передаточных чисел (ВПЧ) и кинематической характеристики планетарных механизмов (ПМ), определение числа степеней свободы ПКП, определение закона управления ПКП, определение кинематических передаточных функций (КПФ), определение передаточных чисел ПКП, определение величин угловых скоростей основных звеньев, относительных угловых скоростей сателлитов и выключенных управляющих элементов, определение величин и направлений крутящих моментов, нагружающих ПКП, построение потоков мощности в ПКП, расчет значений коэффициента полезного действия ПКП.
Синтез кинематической схемы ПКП с двумя степенями свободы включает в себя: формирование исходных данных, построение плана угловых скоростей, образование ПМ из плана скоростей, отбраковки непригодных ПМ и ПКП, составление кинематической схемы, подбор чисел зубьев, анализ полученной кинематической схемы ПКП.
Содержание
Введение
1.Анализ кинематических схем
1.1.Анализ кинематической схемы двухскоростной ПКП «Фурнесс»
1.1.1.Описание ПКП «Фурнесс»
1.1.2.Кинематический анализ ПКП «Фурнесс»
1.1.3.Силовой анализ ПКП «Фурнесс»
1.1.4.Построение потоков мощности ПКП «Фурнесс
1.1.5.Расчет значений коэффициентов полезного действия ПКП «Фурнесс»
1.2.Анализ кинематической схемы двухскоростной ПКП «Форд A4LD»
1.2.1.Описание ПКП «Форд A4LD»
1.2.2.Кинематический анализ ПКП «Форд A4LD»
1.2.3.Силовой анализ ПКП «Форд A4LD»
1.2.4.Построение потоков мощности ПКП «Форд A4LD»
1.2.5.Расчет значений коэффициентов полезного действия ПКП
«Форд A4LD»
1.3.Анализ кинематической схемы двухскоростной ПКП «Сангйонг-муссо»
1.3.1.Описание ПКП «Сангйонг-муссо»
1.3.2.Кинематический анализ ПКП «Сангйонг-муссо»
1.3.3.Силовой анализ ПКП «Сангйонг-муссо»
1.3.4.Построение потоков мощности ПКП «Сангйонг-муссо»
1.3.5.Расчет значений коэффициентов полезного действия ПКП
«Сангйонг-муссо»
2.Синтез ПКП
2.1.Исходные данные для расчета
2.2.Отбраковки ПМ
2.3. Построение символических схем ПКП
2.4. Построение кинематических схем ПКП
2.5. Анализ схемы ПКП «д41 412 1х4 314»
2.5.1. Описание ПКП «д41 412 1х4 314»
2.6. Подбор чисел зубьев
2.7. Кинематический анализ ПКП «д41 412 1х4 314»
2.8. Определение угловых скоростей всех звеньев ПКП
2.9.Силовой анализ ПКП «д41 412 1х4 314»
2.10.Построение потоков мощности в ПКП «д41 412 1х4 314»
2.11.Расчет значений коэффициентов полезного действия ПКП
«д41 412 1х4 314»
Список литературы
Введение
Планетарными коробками передач (ПКП) называют многоскоростные (с числом передач две и более) коробки передач, составленные из планетарных механизмов (ПМ).
Планетарные механизмы (ПМ) – это зубчато-рычажные механизмы, в которых, в отличие от простых зубчатых механизмов, оси некоторых зубчатых колес подвижны, вследствие чего эти зубчатые колеса при работе механизма совершают сложное движение, состоящее из двух простых вращательных движений – относительного и переносного.
Простейший, так называемый элементарный ПМ, состоит из трех основных и нескольких одинаковых вспомогательных (пассивных) звеньев.
Основными звеньями элементарного ПМ, имеющими общую ось вращения, совпадающую с осью самого ПМ, являются два центральных зубчатых колеса и водило.
Если в ПМ имеется в наличии более, чем три основных звена, то такой ПМ называют сложным.
Кинематический анализ выполняем, принимая следующее допущение: предположим угловую скорость ведущего вала д постоянной и равной единице.
Силовой анализ ПКП - определение величин и направлений крутящих моментов, нагружающих основные звенья и управляющие элементы, выполняется в предположении, что входной момент на ведущем валу постоянный и равный единице (Мд = 1,0), потери момента в полюсах зацепления зубчатых колес, в подшипниках, уплотнениях и т.п., при передаче мощности через ПКП отсутствуют, режим работы ПКП установившийся, то есть, дополнительных динамических нагрузок нет.
Потоки мощности в ПКП строятся в предположении, что входная мощность, подводимая к ПКП по ведущем валу постоянна и равна единице (Nд = 1,0), потери мощности в полюсах зацепления зубчатых колес, в подшипниках, уплотнениях и т.п. при передаче мощности через ПКП отсутствуют, режим работы ПКП установившийся, статический, то есть, динамических нагрузок нет.
1.Анализ кинематических схем ПКП
1.1. Анализ кинематической схемы двухскоростной ПКП «Фурнесс»
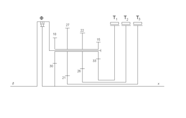
Рис.1.1. Кинематическая схема «Фурнесс»
1.1.1 Описание ПКП «Фурнесс»
Для проведения анализа ПКП проиндексируем основные звенья ПМ, образующих анализируемую ПКП:
Рис.1.2. Индексация основных звеньев ПКП «Фурнесс»
ПКП обеспечивает три передачи переднего хода и одну передачу заднего хода.
Как видно из схемы ПКП состоит из четырёхвенцового сателлита, четырех управляющих элементов:
Т1- ленточный тормоз, установлен между корпусом и звеном 1, предназначен для остановки этого звена;
Т2- ленточный тормоз, установлен между корпусом и звеном 2, предназначен для остановки этого звена;
Т3- ленточный тормоз, установлен между корпусом и звеном 3, предназначен для остановки этого звена;
Ф- многодисковая фрикционная муфта, установлена между звеном д и звеном х, предназначена для жесткого соединения звеньев д и х, то есть для подвода мощности в ПКП.
Определим число степеней свободы ПКП по формуле П.Л. Чебышева:
,
где
- число подвижных звеньев,
- число кинематических пар пятого класса, в нашем случае подшипниковых опор,
- число кинематических пар четвертого класса, в нашем случае число зубчатых зацеплений.
.
Для работы ПКП должна обладать только одной степенью свободы, следовательно, для включения передачи в ПКП достаточно включить один управляющий элемент.
Таблица 1.1. Закон управления и преобразующие свойства ПКП «Фурнесс»
| Передача | Закон управления ПКП | КПФ | iдх | |||||
| Т1 | Т2 | Т3 | Ф | |||||
| ЗХ | + | iз.х.=1/(1-iх1) | -3,125 | |||||
| I | + | iI=-i2x/(1-i2x) | 3,437 | |||||
| II | + | iII=-i3x/(1- i3x) | 1,875 | |||||
| III | + | 1,0 | 1,0 | |||||
1.1.2.Кинематический анализ «Фурнесс»
Таблица 1.2. Внутренние передаточные числа и кинематические характеристики ПМ
| Символическое обозначение ПМ | Внутреннее передаточное число ПМ | Кинематическая характеристика ПМ |
| хд1 | ix1=z1zст-х/zxzст-1= =33·18/(30·15)= 1,3200 | Kx1=z1zст-х/zxzст-1 =33·18/(30·15)=1,3200 |
| 2дх | i2x= zxzст-2/z2zст-x = =30·22/(26·18)=1,4103 | K2x= zxzст-2/z2zст-x= =30·22/(26·18)=1,4103 |
| 3дх | i3x= zxzст-3/z3zст-x= =30·27/(21·18)=2,1429 | К3x= zxzст-3/z3zст-x= =30·27/(21·18)=2,1429 |
Система уравнений кинематической связи основных звеньев ПКП имеет следующий вид:
(1-ix1)·ωд = ωх − iх1·ω1
(1-i2х)·ωд = ω2 − i2х·ωх
(1-i3х)·ωд = ω3 − i3х·ωх
Вычислим значения угловой скорости ведомого вала Х на каждой передаче:
Результаты кинематического анализа сведем в таблицу.
По результатам кинематического анализа строим диаграмму угловых скоростей основных звеньев и сателлитов ПКП
Таблица 1.3. Расчеты кинематического анализа ПКП «Фурнесс»
| Угловые скорости основных звеньев и сателлитов в ПМ | Управляющие элементы | Т3 | 1.8286 | 0.5195 | 0 | 1.0 | ||||
| Т2 | 0.8616 | 0 | 0.3418 | 1.0 | ||||||
| Т1 | 0 | 0.4628 | 0.6464 | 1.0 | ||||||
| Ф | 1.3200 | 0.7091 | 0.4667 | 0 | ||||||
| ПМ 3дх | ωст | 2.2000 | 1.1818 | 0.7778 | 0 | |||||
| ωх | -0.3200 | 0.2909 | 0.5333 | 1.0 | ||||||
| ωд | 1.0 | 1.0 | 1.0 | 1.0 | ||||||
| ω3 | -1.8286 | -0.5195 | 0 | 1.0 | ||||||
| ПМ 2дх | ωст | 2.2000 | 1.1818 | 0.7778 | 0 | |||||
| ωх | -0.3200 | 0.2909 | 0.5333 | 1.0 | ||||||
| ωд | 1.0 | 1.0 | 1.0 | 1.0 | ||||||
| ω2 | 0.8616 | 0 | 0.3418 | 1.0 | ||||||
| ПМ хд1 | ωст | 2.2000 | 1.1818 | 0.7778 | 0 | |||||
| ω1 | 0 | 0.4628 | 0.6464 | 1.0 | ||||||
| ωд | 1.0 | 1.0 | 1.0 | 1.0 | ||||||
| ωх | -0.3200 | 0.2909 | 0.5333 | 1.0 | ||||||
| Передача | З.Х. | I | II | III | ||||||
1.1.3.Силовой анализ ПКП «Фурнесс»
Уравновешивание ПКП на передаче заднего хода:
Характеристики
Тип файла документ
Документы такого типа открываются такими программами, как Microsoft Office Word на компьютерах Windows, Apple Pages на компьютерах Mac, Open Office - бесплатная альтернатива на различных платформах, в том числе Linux. Наиболее простым и современным решением будут Google документы, так как открываются онлайн без скачивания прямо в браузере на любой платформе. Существуют российские качественные аналоги, например от Яндекса.
Будьте внимательны на мобильных устройствах, так как там используются упрощённый функционал даже в официальном приложении от Microsoft, поэтому для просмотра скачивайте PDF-версию. А если нужно редактировать файл, то используйте оригинальный файл.
Файлы такого типа обычно разбиты на страницы, а текст может быть форматированным (жирный, курсив, выбор шрифта, таблицы и т.п.), а также в него можно добавлять изображения. Формат идеально подходит для рефератов, докладов и РПЗ курсовых проектов, которые необходимо распечатать. Кстати перед печатью также сохраняйте файл в PDF, так как принтер может начудить со шрифтами.















