148251 (685557), страница 26
Текст из файла (страница 26)
Их создают за счет:
а) применения ограниченного числа универсальных по типам машин подвесок, включающих вместо рам распорки (или без них) и имеющих минимальную высоту подвеса груза и габариты в плане;
б) использования простых универсальных захватов (в основном стропов) и разных подкладок из подручных материалов (сепарационных досок, металлических уголков и резиновых накладок) (рис. 51, б).
Производительность технологической линии при использовании упрощенных ГЗУ на 50 - 200%, а выработка на одного рабочего на 80 - 250% ниже, чем в условиях применения основных. Всего в портах применяют в настоящее время более 50 вариантов разных ГЗУ для автотракторной техники.
Закрепляет и снимает крепления вся бригада и время на эти операции тратят столько же (или больше), как на погрузку - выгрузку. Железнодорожные грузовые фронты для автотракторной техники обычно имеют один - два пути с универсальными аппарелями и галереями - балконами для разгрузки двухъярусных и универсальных платформ своим ходом, кроме того, ЖГФ имеет два - три пути, которые обслуживают краны с одноярусными или универсальными аппарелями для разгрузки крытых специальных вагонов и универсальных платформ, как своим ходом, так и кранами. Наиболее эффективны в этих условиях козловые краны грузоподъемностью 30 - 35 т.
Перспективы совершенствования технологии перегрузки автотракторной техники связаны с дальнейшим интенсивным развитием перевозок судами - ролкерами и почти полным переходом на производство грузовых работ своим ходом.
45. Малотоннажные контейнеры
К малотоннажным относят контейнеры весом брутто менее 10 т: железнодорожные; резинокордные и прочие мягкие; специальные для концентратов руд цветных металлов и т. д. Их характерные технологические особенности: разнообразие формы и размеров, относительно небольшая масса, плохая приспособленность для автоматической и управляемой застропки и отстропки унифицированными захватами при перегрузке кранами. Малотоннажные контейнеры – это первый промежуточный шаг к современной контейнеризации, базирующейся на использовании крупнотоннажных унифицированных высокоэффективных контейнеров. Однако малотоннажные контейнеры еще длительное время будут использовать из-за острого недостатка крупнотоннажных.
Универсальные контейнеры УУК - 25 и УУК - 5 перегружают кранами с застропкой за рымы, расположенные в верхней части, или кольца крюковыми подвесками и специальными захватами с ручной застропкой и автоматической отстропкой. Погрузчики транспортируют такие контейнеры на двухвилочном захвате с удлинителями. Для внутрипортовой перевозки используют трейлеры и ролл - трейлеры с тягачами.
На складах, не обслуживаемых кранами, контейнеры штабелируют на деревянных брусках, что дает возможность погрузчику взять и поставить контейнер вилами. В просвете люка судна штабель формируют послойно, а в подпалубном пространстве – стенкой на всю высоту.
Мягкие контейнеры и специальные для концентратов руд цветных металлов перегружают аналогичным образом и по тем же технологическим схемам, но при перемещении их кранами полуавтоматически захваты не применяют и погрузчики транспортируют мягкие контейнеры в подвешенном состоянии.
Малотоннажные контейнеры перегружают на портовых комплексах с открытыми складскими площадками большой протяженности. Комплексы оснащены универсальными поворотными портальными кранами.
Перспективы совершенствования технологии перегрузки малотоннажных контейнеров связаны с более широким использованием судов, не имеющих подпалубных пространств, и с созданием и внедрением групповых ГЗУ, обеспечивающих одновременное перемещение четырех, восьми и более контейнеров, а также с оснащением комплексов кранами большой грузоподъемности.
46. Крупнотоннажные контейнеры
Одним из наиболее эффективных и перспективных направлений технической революции на транспорте вообще и на морском транспорте в частности является развитие контейнерной транспортно - технологической системы, которая предусматривает укрупнение грузов в крупнотоннажных универсальных контейнерах международного стандарта, осуществление перевозки морем на судах - контейнеровозах ячеистой конструкции или на специально оборудованных универсальных судах открытого типа и производство перегрузочных работ в портах, в основном, на специальных высокопроизводительных комплексах Эффективность контейнерной транспортной технологической системы базируется на высокой степени укрупнения грузов, максимальной унификации грузовых мест, полной механизации перегрузочного процесса и основного объема вспомогательных операций (крепления на судах, вагонах и автомашинах), создании условий для перевозки грузов в форме УТЕ по схеме «от двери до двери».
Трудоемкость перегрузочных работ при контейнеризации снижается от 2 до 30 раз в зависимости от коэффициента перевалки и процента отправки контейнеров из порта без наполнения и опорожнения. Интенсивность обработки флота повышается в 4—6 раз. В результате резко снижается стояночное время судов под обработкой в портах. Если универсальные сухогрузные суда находятся в море около 40% эксплуатационного времени, то у контейнеровозов ходовое время составляет 70 - 75%. Опыт эксплуатации контейнеровозов на перевозках грузов из Европы на Дальний Восток показал, что один контейнеровоз заменяет 7,5 обычных универсальных судов.
К крупнотоннажным относятся контейнеры весом брутто 10 т и более, однако широко распространены контейнеры только 20 и 30 т (УУК - 20 и УУК - 30, которые по международному стандарту обозначаются 1C и IA, т. е длиной 20' и 40'). Крупнотоннажные контейнеры являются эффективнейшим средством укрупнения для тарно-штучных грузов, металлов, а при определенных условиях их успешно применяют для перевозки наливных и насыпных грузов.
Крупнотоннажные контейнеры разделяют на универсальные и специальные. Первые могут быть закрытыми, с мягкой крышей и открытыми (флеты). Закрытые контейнеры имеют двери с одного из торцов (наиболее распространены) или по бортам.
К специальным относят контейнеры для наливных (танк - контейнер) и насыпных (балк - контейнер) грузов, а также рефрижераторные, изотермические и др.
Загружают и разгружают контейнеры так же, как и вагоны. В морских портах крупнотоннажные контейнеры перегружают на универсальных и специальных комплексах (терминалах). Универсальные комплексы имеют значительно открытые территории, обслуживаемые кранами, и небольшие крытые склады или навесы для использования в качестве склада комплектации с целью загрузки и разгрузки контейнеров. Краны должны иметь грузоподъемность не менее 25 т на крюке для контейнеров 20' и 35 т - для контейнеров 40'. Целесообразно, чтобы они были оборудованы механизмом управляемого поворота груза вокруг вертикальной оси.
Для перегрузки крупнотоннажных контейнеров краны оснащают ГЗУ четырех типов: подвесками с ручными захватами, обеспечивающими застройку за нижние или за верхние фитинги (рис. 52, а, в); захватами с централизованным ручным управлением поворота штыков (рис. 52, б); автоматическими грузозахватными приспособлениями типа ЗКИ - 1С, ЗКИ - 1А (см. рис. 15) и управляемыми спредерами с электрогидравлическим приводом (рис.53).
Подвески с ручными захватами наименее эффективны, требуют участия двух—четырех рабочих в застропке и отстропке, присутствия людей на штабелях, что ограничивает высоту безопасного штабелирования, их нельзя применять для обработки судов - контейнеровозов ячеистой конструкции. Используют такие подвески для перегрузки небольших партий контейнеров на неспециализированных участках. Захваты с централизованным ручным управлением поворота штыков стропятся и отстропливаются с участием одного рабочего. Они обеспечивают большую производительность, чем ручные подвески, и штабелирование контейнеров в два яруса без присутствия людей на штабеле, однако их нельзя применять для обработки судов ячеистой конструкции. В целом эти захваты значительно уступают по эффективности автоматическим ГЗП и управляемым ГЗМ.
Автоматические захваты типа ЗКИ являются наиболее эффективным ГЗУ для перегрузки крупнотоннажных контейнеров к универсальными поворотными кранами. Применение их обеспечивает наибольшую производительность труда, выполнение складских операций крановщиком без участия докеров. Автоматические захваты можно успешно применять без механизма, управляющего поворотом груза, так как выступающие с одного торца и одного бока ловители подводятся к контейнеру и дальнейшими движениями крана захват нацеливается без оттяжек и багров. Единственный недостаток таких захватов — отсутствие механизма смещения центра подвеса, что затрудняет перегрузку некоторых контейнеров при обработке судов ячеистой конструкции. Управляемые спредеры к универсальному поворотному крану тяжелы и требуют, его специального переоборудования, а при наличии механизма смещения центра подвеса можно успешно обрабатывать ячеистые грузовые помещения. Их используют на кранах причальной линии при систематической обработке ячеистых контейнеровозов.
|
|
| Рис. 54. Козловой кран на пневмоколесном ходу для перегрузки контейнеров Рис. 53 Спредер с электрогидравлическим приводом к универсальному портальному крану |
Складские операции на территории, не обслуживаемой рельсовыми кранами, производят, как правило, фронтальными или боковыми погрузчиками с вилами и спредерами.
Крупнотоннажные контейнеры должны перегружать на специальных портовых комплексах, которые в отличие от универсальных обеспечивают: практически полное исключение повреждений контейнеров при перегрузке, максимальную интенсивность обработки дорогостоящих судов - контейнеровозов, максимальную производительность труда в порту, наибольшую пропускную способность причала и комплекса в целом. Кроме того, специальные комплексы создают наилучшие условия труда для портовых рабочих.
Морской грузовой фронт обслуживают причальные перегружатели с подъемной или выдвижной консолью с морской стороны и поступательным перемещением спредера (для обслуживания верхней палубы ролкеров необходим поворотный захват). Железнодорожный грузовой фронт оборудуют козловыми кранами с поступательным и поворотным движением тележки, к которой подвешен спредер. Для обслуживания контейнерного склада применяют три основные схемы механизации: с хранением контейнеров на полуприцепах и транспортированием их между грузовыми фронтами и складами с помощью автотягачей; с транспортированием и штабелированием контейнеров портальными погрузчиками; со штабелированием контейнеров козловыми кранами на пневмоколесном или рельсовом ходу (рис. 54) и транспортированием их автотягачами с полуприцепами.
Первая схема механизации весьма удобна, когда контейнеры завозят и вывозят по суше автотранспортом. Она позволяет снизить до минимума портовые расходы по перегрузочному оборудованию, не требует огромной территории склада, так как контейнеры размещают только в один ярус и между рядами оставляют большие проезды для маневрирования автотягачей.
Вторая схема предусматривает использование весьма дорогих и сложных по конструкции портальных погрузчиков, расходы по которым достаточно велики, они имеют значительный удельный вес в общей стоимости перегрузки контейнеров. Однако при этой схеме значительно лучше используется площадь склада и резко снижаются капитальные затраты на строительство и оборудование территории, а также амортизационные расходы по этой статье. В целом вторая схема много эффективнее первой, особенно при завозе и вывозе груза железнодорожным транспортом и значительном объеме комплектации контейнеров. Почти все действующие отечественные комплексы построены по второй схеме.
Третья схема предусматривает штабелирование и разборку штабелей на складе козловыми кранами, т. е. машинами еще более сложными и дорогими, чем портальные погрузчики, но, во-первых, для обслуживания комплекса их по количеству нужно значительно меньше, чем погрузчиков, так как они только перегружают, но не транспортируют груз, и, во-вторых, их срок службы в 3 раза превышает срок службы погрузчиков, следовательно, процент амортизационных отчислений соответственно снижается в 3 раза. Контейнеры между складом и грузовыми фронтами транспортируют автотягачами с полуприцепами, которые имеют такой же срок службы, как и погрузчики, но многократно проще и дешевле их. Кроме того, штабелирование в этом случае можно производить не в три яруса, как портальными погрузчиками, а в четыре или пять, и площадь необходимых проездов уменьшается. Третья схема весьма перспективна и по ней строятся новые отечественные комплексы.
По железной дороге крупнотоннажные контейнеры перевозят на специальных универсальных платформах. Специальные платформы вмещают по три контейнера 20', имеют стационарные фиксирующие штыки, которые входят в нижние отверстия фитингов, поэтому дополнительно крепить контейнеры не надо. Универсальные платформы вмещают по два контейнера 20', которые необходимо дополнительно крепить упорными брусками, прибиваемыми к полу.
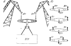
| Рис 55. Спаренная работа кранов: а — балансирная траверса; б — схема распределения усилий между точками подвеса |
В ячеистых грузовых помещениях судов - контейнеровозов контейнеры дополнительно не крепят, в трюмах универсальных сухогрузов, оборудованных для перевозки контейнеров, последние ставят на фиксирующие закладные элементы; поворотные колонки или пластины со штыками, которые устанавливают или снимают рабочие по мере погрузки - выгрузки. Применяют также прижимающие найтовы из специальных элементов. На верхней палубе любых контейнеровозов контейнеры крепят закладными элементами и найтовами, как и в трюмах переоборудованных судов. На каждом судне, предназначенном для перевозки контейнеров, должны быть штатная схема их размещения и крепления и комплект приспособлений.
Перспективы совершенствования технологии перегрузки крупнотоннажных контейнеров связаны с созданием портовых комплексов нового типа — с высокопроизводительными перегружателями и козловыми кранами, многоярусными автоматизированными «сотовыми» складами и транспортированием между грузовыми фронтами и складом с помощью автоматизированных рельсовых тележек и машин непрерывного действия. Такие комплексы будущего уже проектируют и строят.
47. ТЯЖЕЛОВЕСНОЕ ОБОРУДОВАНИЕ.
К тяжеловесному оборудованию относят разные машины, станки, агрегаты, котлы, металлоконструкции, механизмы и прочие грузы (кроме автотракторной техники и контейнеров) в ящиках и без упаковки массой от 3 до 35 т. Наиболее характерная технологическая особенность — исключительно большое разнообразие формы и размеров, длина может достигать 40 м и более (мостовые краны в собранном состоянии, и другие подобные грузы).
По железной дороге такие грузы перевозят на открытом подвижном составе, как правило, на платформах; крепят их деревянными брусьями и проволочными оттяжками в несколько нитей в соответствии с техническими условиями МПС, а если в последних не указан конкретный груз, то согласно чертежам, разрабатываемым грузовладельцами или проектными группами железнодорожных станций или отделений дороги. В необходимых случаях производят специальное сложное крепление, применяя сварочные работы.
На судах тяжеловесное оборудование перевозят как во внутренних грузовых помещениях, так и на палубе; крепят его тросом с зажимами и талрепами или проволокой в. несколько нитей.
Тяжеловесное оборудование перегружают на универсальных портовых комплексах с открытыми складами большой площади, обслуживаемыми поворотными портальными кранами грузоподъемностью 15—35 т. Краны могут работать спаренно с помощью балансирной траверсы (рис. 55) или при большой длине груза без нее. В случае работы без траверсы необходимо соблюдать особую осторожность и внимательно следить за синхронностью и согласованностью действия кранов. Независимо от того, применяют траверсу или нет, расстояние от центра тяжести груза до точек его подвеса к кранам должно быть обратно пропорционально грузоподъемности кранов.
















