62362 (597558), страница 23
Текст из файла (страница 23)
На пункті, що передає, знаходиться мікрофон ВМ і джерело електричного струму GВ, на приймальному пункті - телефон ВF. Мова людини є коливаннями повітряного середовища. Голосові зв'язки людини здатні створювати звукові коливання частотами від 80 до 12 000 Гц, а сприймаються на слух людиною звукові коливання в ширшому діапазоні частот: від 16 до 20 000 Гц. Створення мікрофону і телефону, що забезпечують неспотворене перетворення коливань в смузі частот від 80 до 12 000 Гц, є складним технічним завданням. Численні дослідження показали, що розбірливість мови залежить від частот, які знаходяться в діапазоні від 300 до 3 400 Гц. Відповідно до рекомендації Міжнародного консультативного комітету з телефонії і телеграфії для телефонного зв'язку прийнятий діапазон частот від 300 до 3 400 Гц. Звукові коливання впливають на мембрану мікрофону, який перетворить звукові коливання в коливання електричного струму. Коливання електричного струму, розповсюджуючись по лінії, досягають приймального пункту, де за допомогою телефону знов перетворяться в коливання повітряного середовища.
Звукові коливання характеризуються періодом, частотою і амплітудою. Частотою звукових коливань називається число повних коливань протягом 1 с. Час одного повного коливання називається періодом коливань. Період коливань Т і частота коливань f зв'язані між собою співвідношенням f= 1/T. Амплітуда звукових коливань - найбільше відхилення коливання від його початкового положення. Якість телефонної передачі залежить від електричних властивостей лінії. Потужність, що передається по лінії зв'язку, зменшується унаслідок впливу опору, індуктивності і ємності, якими володіє лінія зв'язку. Для визначення ступеня зменшення потужності використовують поняття загасання. У техніці зв'язку загасання, а також посилення оцінюють не в абсолютних величинах, а в логарифмічних - децибелах (дб). Щоб забезпечити хорошу якість телефонної розмови сумарне загасання між двома абонентами на частоті 800 Гц повинне бути не більше 29,5 дб.
3. Будова і принцип дії мікрофону
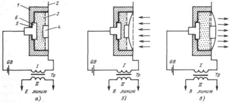
Мікрофон призначений для перетворення енергії коливань повітряного середовища в енергію електричних коливань. У сучасних телефонних апаратах використовують вугільні мікрофони конструкції капсуля (мал. 2). Мікрофон складається з латунного корпусу 1, де розміщено два електроди 4, 6, один з яких прикріплений до металевої мембрани 2, інший жорстко сполучений з корпусом і ізольований від корпусу ізоляційною втулкою 5. Між електродами знаходиться вугільний порошок 3. У замкнутому ланцюзі струм від позитивного полюса батареї GВ через первинну обмотку I трансформатора Тр протікає через мікрофон до негативного полюса батареї.
Мал. 15.2. Пристрій і принцип роботи мікрофону при станах його мембрани: а - нормальному; б - увігнутому; у - вигнутому
Мал. 15.3. Пристрій і принцип дії телефону
Коли мембрана нерухома, вугільний порошок між рухомим і нерухомим електродами є опором певної величини і в ланцюзі протікає постійний струм. При цьому у вторинній обмотці II трансформатора Тр напруги немає. Під час розмови під дією коливання повітряного середовища мембрана починає коливатися. Коли мембрана прогинається всередину, вугільний порошок ущільнюється, площа зіткнення між крупинками порошку збільшується, а опір його зменшується. Якщо мембрана прогинається в протилежну сторону, площа зіткнення зменшується, а опір порошку збільшується. Зміна опору вугільного порошку в такт звуковим коливанням викликає зміну струму, що протікає через первинну обмотку I трансформатора Тр. Навколо первинної обмотки трансформатора створюється магнітний потік, що змінюється по величині, який перетинає витки вторинної обмотки трансформатора і індукує в ній змінний струм, отже, здійснюється перетворення звукових коливань в електричні.
Використання вугільного мікрофону в телефонії викликане властивістю вугільного порошку - різко міняти свій опір під дією слабкого звукового тиску. Мікрофонні капсулі випускаються трьох типів: низькоомні - НО опором від 3,0 до 65 Ом, средньомні - СО опором від 65 до 145 Ом, високоомні - ВО опором від 145 до 300 Ом.
4. Будова і принцип дії телефону
Телефон служить для перетворення енергії електричних коливань в енергію коливань повітряного середовища. У телефонних апаратах застосовують телефони, конструктивно оформлені у вигляді окремих пристроїв - капсулів 5. Пристрій простого телефону схематично показаний на мал. 3. Він складається з постійного магніта 4. сталевих сердечників 6 (полюсних наконечників) котушок 3 з обмотками з мідного дроту, насаджених на полюсні наконечники і сполучених послідовно із зустрічною намоткою, і тонкої металевої мембрани 2, виконаної з магнітного матеріалу, закріпленою спеціальною кришкою 1. Коли струм по котушках не протікає, мембрана під дією сил магнітного потоку постійного магніту декілька увігнута у бік сердечників і знаходиться в спокійному стані. Якщо через котушку протікає змінний струм, мембрана починає коливатися. Магнітний потік, що діє на мембрану, міняється по величині. У ті моменти, коли змінний струм створює навколо котушок магнітне поле, силові лінії якого співпадають по напряму з силовими лініями постійного магніту, магнітний потік посилюється і мембрана ще більше прогинається у бік сердечника. Коли ж напрям магнітного потоку протилежний напряму магнітного потоку постійного магніту, відбувається ослаблення загального магнітного потоку, мембрана із-за своєї гнучкості прагне випрямитися і відходить від полюсних наконечників. Таким чином, мембрана телефону здійснює коливальні рухи відповідно до частоти і величині змінного струму, що протікає по котушках телефону. Вона викликає коливання повітряного середовища, завдяки чому телефон відтворює звуки, перетворені мікрофоном в електричні коливання. Якість роботи телефону значною мірою залежить від величини магнітного потоку постійного магніту. Чим більше магнітний потік постійного магніту, тим більше амплітуда коливань мембрани і менше спотворення, що вносяться до передачі. Для неспотвореної передачі необхідно, щоб величина магнітного потоку постійного магніту у багато разів перевищувала змінну складову сигналу.
Контрольні запитання:
-
Що таке електричний зв'язок? На які види він поділяється?
-
Будова, принцип дії мікрофону?
-
Як здійснюється телефонний зв'язок по проводах?
-
Будова і принцип дії телефону.
Інструкційна картка №32 для самостійного опрацювання навчального матеріалу з дисципліни «Основи електроніки та мікропроцесорної техніки»
І. Тема: 5 Технічні засоби зв’язку в сільському господарстві
5.1 Диспетчерський зв’язок
Мета: Формування потреби безперервного, самостійного поповнення знань; розвиток творчих здібностей та активізації розумової діяльності.
ІІ. Студент повинен знати:
-
Загальні відомості організації радіозв’язку;
-
Принцип радіозв’язку;
ІІІ. Студент повинен уміти:
-
Відрізняти радіозв’язок від інших видів;
ІV. Дидактичні посібники: Методичні вказівки до опрацювання.
V. Література: [5, с. 306-313].
VІ. Запитання для самостійного опрацювання:
-
Принцип побудови радіозв’язку.
-
Історія розвитку радіозв’язку.
VІІ. Методичні вказівки до опрацювання: Теоретична частина.
VІІІ. Контрольні питання для перевірки якості засвоєння знань:
-
Що називають радіозв’язком?
-
Що таке радіосигнал?
-
Що називають перешкодами радіоприйому?
-
Які переваги та недоліки радіозв’язку?
ІХ. Підсумки опрацювання:
Підготував викладач: Бондаренко І.В.
Теоретична частина: Диспетчерський зв’язок
План:
-
Принцип побудови радіозв’язку.
-
Історія розвитку радіозв’язку.
Література
1. Принцип побудови радіозв’язку
Радіозв'язок, електрозв'язок за допомогою радіохвиль. Для здійснення Радіозв'язку в пункті, з якого ведеться передача повідомлень (радіопередача), розміщують радіопередаючий пристрій, що містить радіопередавач і антену, що передає, а в пункті, в якому ведеться прийом повідомлень (радіоприйом), - радіоприймальний пристрій, що містить приймальну антену і радіоприймач. Гармонійні коливання, що генеруються в передавачі, з несучою частотою, що належить якому-небудь діапазону радіочастот, піддаються модуляції відповідно до передаваного повідомлення. Модульовані радіочастотні коливання є радіосигналом. Від передавача радіосигнал поступає в антену, що передає, за допомогою якої в просторі, що оточує антену, збуджуються відповідно модульовані електромагнітні хвилі. Розповсюджуючись, радіохвилі досягають приймальної антени і наводять в ній електричні коливання, які поступають далі в радіоприймач. Прийнятий т.ч. радіосигнал дуже слабкий, оскільки в приймальну антену потрапляє лише невелика частина випромінюваної енергії. Тому радіосигнал в радіоприймачі поступає в електронний підсилювач, після чого він піддається демодуляції, або детектуванню; в результаті виділяється сигнал, аналогічний сигналу, яким були модульовані коливання з несучою частотою в радіопередавачі. Далі цей сигнал (зазвичай додатково посилений) перетвориться за допомогою відповідного відтворюючого пристрою в повідомлення, адекватне результату.
У місці прийому на радіосигнал можуть накладатися електромагнітні коливання від сторонніх джерел радіовипромінювань, здатні перешкодити правильному відтворенню повідомлення і називаються перешкодами радіоприйому. Несприятливий вплив на якість радіозв'язку можуть надавати також зміну в часі загасання радіохвиль на шляху розповсюдження від антени, що передає, до приймача і розповсюдження радіохвиль одночасне по двох або декільком траєкторіям різної протяжності; у останньому випадку електромагнітне поле в місці прийому є сумою взаємно зміщених в часі радіохвиль, інтерференція яких також викликає спотворення радіосигналу. Тому і ці явища відносять до категорії перешкод радіоприйому. Їх вплив на прийом радіосигналів особливо великий при зв'язку на великих відстанях. Широке розповсюдження радіозв'язку і використання радіохвиль в радіолокації, радіонавігації і ін. областях техніки зажадали забезпечення одночасного функціонування без неприпустимих взаємних перешкод різних систем і засобів, що використовують радіохвилі, - забезпечення їх електромагнітної сумісності.
Розповсюдження радіохвиль у відкритому просторі робить можливим в принципі прийом радіосигналів, що передаються по лініях радіозв'язку, особами, для яких вони не призначені (радіоперехоплення, радіопідслуховування); у цьому - недолік радіозв'язку в порівнянні з електрозв'язком по кабелях, радіохвилеводах і ін. закритим лініям. Таємниця телефонних переговорів і телеграфних повідомлень, що передбачається статутом зв'язку, відповідними правилами ін. країн і міжнародними угодами, забезпечується в необхідних випадках застосуванням автоматичних засобів засекречування радіосигналів (кодування і ін.).
2. Історія розвитку радіозв’язку
Спроби здійснити радіозв'язок робив ще Т.А. Эдисон в 80-і рр. 19 в. (їм отриманий відповідний патент), до відкриття в 1888 електромагнітних хвиль Р. Герцом; хоч роботи Едісона не мали практичного успіху, вони сприяли появі ін. робіт, направлених на реалізацію ідеї бездротового зв'язку. Герцом був створений іскровий випромінювач електромагнітних хвиль, який (з подальшими різними удосконаленнями) протягом декількох десятиліть залишався найбільш поширеним в радіозв'язку видом радіопередавача. Можливість і основні принципи радіозв'язку були детально описані У Круксом в 1892, але у той час ще не передбачалося швидкої реалізації цих принципів. Розвиток радіозв'язку почався після того, як в 1895 Поповим, а роком пізніше Г. Марконі були створені чутливі приймачі, цілком придатні для здійснення сигналізації без проводів, тобто для радіозв'язку. Перша публічна демонстрація Поповим роботи створеної ним радіоапаратури і бездротової передачі сигналів з її допомогою відбулася 7 травня 1895, що дає підставу вважати цю дату фактичним днем появи Радіозв'язку.
Приймач Попова не тільки виявився придатним для радіозв'язку, але і (з деякими додатковими вузлами) був вперше успішно застосований ним в тому ж 1895 для автоматичного запису грозових розрядів, чим поклав початок радіометеорології. У країнах Західної Європи і США була розгорнена активна діяльність по використанню радіозв'язку в комерційних цілях. Марконі в 1897 зареєстрував в Англії Компанію бездротового телеграфування і сигналізації, в 1899 заснував Американську компанію бездротового і телеграфного зв'язку, а в 1900 - Міжнародну компанію морського зв'язку. У грудні 1901 їм була здійснена радіотелеграфна передача через Атлантичний океан. У 1902 в Германії виробництво устаткування для радіозв'язку організував А. Слабі (спільно з Р. Арко), а також До. Ф. Браун. Очевидне величезне значення радіозв'язку для військових флотів і для морського транспорту, а також гуманістична роль радіозв'язку (при рятуванні людей з кораблів, потерпілих крах) стимулювали розвиток її у всьому світі. На 1-ій Міжнародній адміністративній конференції в Берліні в 1906 за участю представників 29 країн було прийнято регламент радіозв'язку і міжнародна конвенція, що вступила в силу з 1 липня 1908. У регламенті було зафіксовано розподіл радіочастот між різними службами радіозв'язку. Було засновано Бюро реєстрації радіостанцій і встановлений міжнародний сигнал лиха SOS. На міжнародній конференції в Лондоні в 1912 було дещо змінений розподіл частот, уточнений регламент і установлені нові служби: радіомаякова, передачі зведень погоди і передачі сигналів точного часу. За рішенням радіоконференції 1927 було заборонено застосування іскрових радіопередавачів, що створювали випромінювання в широкому спектрі частот і що перешкоджали тим самим ефективному використанню радіочастот; іскрові передавачі були залишені тільки для передачі сигналів лиха, оскільки широкий спектр випромінювання радіохвиль збільшує вірогідність їх прийому. З 1915 до 50-х рр. апаратура для радіозв'язку розвивалася головним чином на основі електронних ламп; потім були упроваджені транзистори і ін. напівпровідникові прилади.















