147342 (594331), страница 7
Текст из файла (страница 7)
Интервал
(рисунок 3.5) – время между окончанием выгрузки балласта из ХДС№3 и окончанием работы ВПО – 3 – 3000, мин:
,(3.45)
где
- рабочая скорость ВПО – 3 – 3000, м/мин, (
= 1000 м/ч);
- длина ХДС№3 (для засыпки шпальных ящиков), м (
=212 м):
.
Интервал
(рисунок 3.5) – время между окончанием ВПО – 3 – 3000 и окончанием работы динамического стабилизатора пути (ДСП), мин:
,(3.46)
где
- рабочая скорость ДСП, м/мин, (
= 1000 м/ч).
.
Интервал
(рисунок 3.5) – время на оформление открытия перегона, мин:
.
Продолжительность «окна», мин определяется графически и складывается из составляющих:
,(3.47)
где
- время, необходимое на разворот работ (рисунок 3.5), мин;
- продолжительность работы в «окно» ведущей машины (УК - 25), мин (
);
- время на свёртывание работ (рисунок 3.5), мин.
.
.
По формуле (3.47) получим:
.
В масштабе на формате A1 строим график основных работ в «окно».
4. РАСЧЕТ ЭКОНОМИЧЕСКОЙ ЭФФЕКТИВНОСТИ МОДЕРНИЗАЦИИ МАШИНЫ ВПО-3-3000
Показатель экономической эффективности капитальных вложений модернизации машины ВПО-3-3000 определяется по формуле:
,(4.1)
где Ep- расчётный показатель экономической эффективности капитальных вложений; Эг – годовой экономический эффект, руб.; К – капитальные затраты на модернизацию машины, руб.; Eн – нормированный показатель экономической эффективности (Eн = 0,12).
,(4.2)
где
. - экономия за счёт затрат на заработную плату рабочим по добивке концов шпал, руб./год;
-затраты на электроэнергию, руб./год.
, (4.3) где
- часовая ставка монтёра пути, р/ч (
=18 р/ч);
- трудоёмкость работ на 1км пути, чел·ч/км (
=100 чел·ч/км);
-годовая производительность ВПО – 3 – 3000, км/год
=200 км/год.
.
,(4.4)
где
- часовой расход электроэнергии, кВт;
- стоимость 1 кВт·ч, руб./( кВт·ч) (
=0,77 руб./( кВт·ч));
- годовой срок время работы ВПО – 3 – 3000, ч/год (
=150 ч/год).
,(4.5)
где
- мощность двигателя, кВт (
=18,5кВт);
- коэффициент спроса (
=0,9).
.
Тогда затраты на электроэнергию, рассчитанные по формуле (4.4) будут равны:
.
Далее по формуле (4.2) определяется годовой экономический эффект:
ЭГ = 360000 – 1923 = 358077 руб./год.
Для определения капитальных затрат на модернизацию машины ВПО – 3 – 3000, зарабатываемый подбивочный блок разбивается на элементы:
- сварные конструкции;
- узлы, подлежащие механической обработке;
- покупные комплектующие изделия.
Масса сварных конструкций равна:
mСВ =0,75mРО ,(4.6)
где mРО – масса разрабатываемого оборудования, кг (mРО =1760·2 =3520 кг)
mСВ =0,75·3520=2640 кг;
,(4.7)
где
- стоимость материалов сварных конструкций, руб.;
- стоимость 1 т материала сварных конструкций, руб./т (
=15000 руб./т);
- масса сварных конструкций, т (
=2,64 т).
Затраты на заработную плату сварщикам, руб.:
,(4.8)
где
- часовая ставка сварщика, руб./ч (
= 20 руб./ч;
- трудоёмкость изготовления 1 т элементов сварных конструкций, чел·ч/т (
=100 чел·ч/т)
Масса узлов, подлежащих механической обработке, кг;
;(4.9)
.
,(4.10)
где
- стоимость материала узлов, подлежащих механической обработке, руб.;
- масса материала, т (
= 0,564 т);
- стоимость 1 т материала узлов, подлежащих механической обработке, руб./т (
=18300 руб./т)
Затраты на заработную плату слесарям механической обработки материала, руб:
,(4.10)
где
- часовая ставка слесаря механической обработки, руб./ч (
= 20 руб./ч;
- трудоёмкость изготовления 1 т узлов подлежащих механической обработке, чел·ч/т (
=100 чел·ч/т).
Стоимость покупных комплектующих изделий:
- Стоимость 2 электродвигателей 4А160М2У3:
2·Сэл =2·1300·1,3=3380 руб.
- Стоимость 4-х гидроцилиндров:
4·Сгид. =4·1848·1,3=9610 руб,
где 1,3 – коэффициент индексации.
- стоимость 2-х карданных валов от автомашины ГАЗ-53:
2·Сэл =2·960·1,3=2496 руб.
Итого имеются:
-
Затраты на материалы:
;(4.11)
-
Покупные комплектующие изделия:
З компл. =2·Сэл +4·Сгид +2·Скр.в; (4.12)
З компл. =3380 +9610 +2496 =15486 руб.
-
Материальные затраты составят:
; (4.13)
-
Основная заработная плата производственным рабочим:
;(4.14)
-
Дополнительная заработная плата составит:
,(4.15)
г
де – коэффициент дополнительной заработной платы от основной
( =0,15);
-
Накладные расходы:
,(4.16)
где
– коэффициент накладных расходов от основной заработной платы (
= 0,3);
-
Полная себестоимость модернизации машины:
;(4.17)
-
Себестоимость за вычетом материальных затрат:
;
Капитальные затраты на модернизацию машины ВПО – 3 – 3000 равны:
K = Зсеб.=77970 руб.
По формуле (4.1) определим расчётный показатель экономической эффективности капитальных вложений на модернизацию ВПО – 3 – 3000:
Срок окупаемости:
;(4.18)
Так как количество рабочих дней в году равно 100 дн/год, то модернизация машины ВПО – 3 – 3000 окупится за 22 дня работы машины.
Таким образом, выполненный расчёт показывает, что модернизация машины ВПО – 3 – 3000 экономически выгодна.
5. ОХРАНА ТРУДА
Задание: Разработать мероприятия по снижению уровня шума и вибрации в кабине управления рабочими органами машины ВПО – 3 – 3000.
5.1 Действие шума на организм человека. Нормирование шума
Многочисленными медицинскими исследованиями доказано вредное влияние на человека продолжительного шума высокой интенсивности. Вредное действие шума проявляется во влиянии на центральную нервную систему. При длительном действии повышенного шума возникают такие явления, как раздражительность, апатия, подавленное настроение, ослабление памяти и др. Замедляется скорость психических реакций, снижается темп работы, ухудшается качество переработки информации. Со стороны сердечнососудистой системы наблюдается повышение артериального давления.
Норма шума путевых машин тяжёлого типа устанавливается производственной санитарией.
Для рабочих мест путевых машин уровень звука допустимый равен: УЗ – 85 дВА (эквивалентен).
В кабине управления ВПО-3-3000 шум превышает нормы на 5-10 дВА.
5.2 Действие вибрации на организм человека. Нормирование вибрации
На оператора ВПО-3-3000 воздействует вибрация, вызываемая передвижением и её работой.
Вредное влияние вибрации проявляется в воздействии на функциональное и физиологическое состояние человека. В первом случае это выражается повышением утомляемости, увеличением двигательной и зрительной реакции и, в конечном счёте, приводит к снижению производительности труда и т.д. Во втором случае вибрация способствует развитию нервных заболеваний, нарушению сердечнососудистой деятельности, поражению мышечных тканей и суставов, и, в конечном счёте, приводит к возникновению профессиональных заболеваний.
Обследования показали: длительное воздействие вибрации на оператора путевой машины не только утомляет его и ухудшает самочувствие, но и изменяет отдельные физиологические функции.
Нормы вибрации установлены ГОСТ 12.1012-78 [15, стр. 10], согласно которому характеристиками вибрации являются средние квадратичные значения виброскорости в м/с.
Допускаемое значение виброскорости VДОП = 0,35·10-2 м/с [15, Стр. 168] при f = 24 Гц.
5.3 Выбор вариантов защиты кабины оператора от шума и вибрации
Основной источник шума на виброподбивочных машинах – рабочие органы вибрационного действия (виброплиты и уплотнители откосов).
Чтобы кабина ВПО-3-3000 выполняла функцию защиты от шума, прежде всего, нужно её виброизолировать. Определённый эффект даёт устройство звукоизолирующих зашивок.
Шумообразование в кабине ВПО-3-3000 также создаётся дребезжанием пультов управления и других металлических деталей под воздействием интенсивной вибрации, поэтому для снижения шума целесообразно все металлические части прикреплять через эффективные виброизоляторы. В кабине нужно размещать звукопоглощающие конструкции (Рисунок 5.1).
1 – демпфирующие покрытие; 2 – сталь; 3 – звукопоглощающий слой; 4 – воздушный промежуток; 5 – дерево
Рисунок 5.1 –Схема звукопоглощающей конструкции
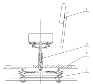
Для эффективного снижения вибрации, воздействующей на операторов машины ВПО-3-3000 разрабатывают виброизолированную площадку, на которой устанавливают подрессорсное сиденье (рисунок 5.2)
1 – спинка сиденья; 2 – стойка; 3 – площадка виброизоляционная; 4 – вертикальные пружина (виброизоляторы)
Рисунок 5.2 – Подрессорсное сиденье
















