Книга хз0561.1-из интернета (559875), страница 66
Текст из файла (страница 66)
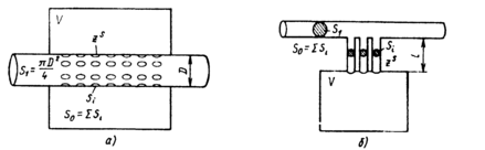
На очень низких частотах, когда kl -> 0 или когда длина глушителя равна V2, X,, ЗХ/2 и т. д., образуются стоячие волны, которые увеличивают давление на концах камерной полости. В результате импеданс трубопровода с поперечным сечением Sh. также увеличивается от значения pc/Sz до значения wpc/&, которое в точности равно импе-дансам входного и выходного трубопроводов, т. е. равно рс/Д. Таким образом, на этих резонансных частотах взаимодействие волн приводит к рассогласованию импедансов и отражению звуковой энергии к источнику шума. На более высоких частотах, когда длина волны \ равна или меньше поперечного размера камеры, эффективность будет зависеть от других параметров (теоретически максимум эффективности достигается при разности диаметров dz–d\ = V2, 3V2, 5V2 и т. д.).
Рис. 6.46. Реактивный камерный элемент глушителя:
а – схема элемента; б – зависимость эффективности камерного глушителя от длины камеры и отношения площадей
Эффективность е растет с увеличением числа камер и длины соединяющей трубы. Однако уже добавление третьей камеры создает незначительный эффект по сравнению с двумя предыдущими (рис. 6.47).
На рис. 6.48 для сравнения показаны эффективность глушителя, состоящего из двух последовательных камер и эффективность глушителя из двух камер, но со входом или выходом, введенным в полости камер, и оканчивающимися на середине их длины. Эффективность последнего глушителя выше. Изменяя длину входа и выхода, можно варьировать эффективность и частотный диапазон.
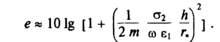
Если в спектре шума присутствуют дисперсные составляющие высокого уровня, то эффективность камерных элементов может оказаться недостаточной. В этом случае применяют реактивные элементы резонаторного типа: кольцевые и ответвления (рис. 6.49). Такой глушитель отличается от предыдущих тем, что поток газа через камеру не протекает и она подсоединяется к основному трубопроводу через одно или некоторое количество небольших отверстий или трубок. Этот тип глушителя называют объемным резонатором или глушителем Гельм-гольца. Резонансные частоты определяются размерами отверстий и подсоединенным объемом. Предполагается, что линейные размеры подсоединенного объема меньше 1/10 длины волны на всех рассматриваемых частотах. Если это условие нарушается, то надо принимать во внимание движение волн в резонаторе. Ситуация становится похожей на глушитель, рассмотренный выше. Эффективность объемного глушителя.
Рис. 6.47. Зависимость эффективности глушителя от числа камер и длины соединительной трубы
Рис. 6.48. Зависимость эффективности глушителя от длины входного патрубка
натора; (3 = s\c/it^v– безразмерное реактивное сопротивление резонатора; *Si и sq –соответственно площадь трубопровода и суммарная площадь отверстий;^ –резонансная частота; V–объем резонатора. При резонансе (f^fo) эффективность зависит только от величины ос и может быть записана в виде
e=20lg[(α+0,5)/α]
При а < 0,25 и при частотах намного больших или меньших частоты fо
На рис. 6.50 показана эффективность глушителя рассматриваемого типа при а = 0,5р.
Эффективность глушителя, синтезированного из типовых элементов, может быть определена по формуле:
– эффективность i-го шумоглушащего элемента.
Рис. 6.49. Схемы глушителей резонаторного типа: а –кольцевые; б–ответвления
Рис. 6.50. Эффективность резонаторного глушителя при α = 0,5р
Экранирование электромагнитных полей*. Электромагнитное поле имеет зоны индукции и излучения, которые для элементарных излучателей (диполей) в воздух определяются соответственно неравенствами:
Обычно считают, что на расстоянии от источника, не большем длины волны – зона индукции. Например, для частот 109 и 106 Гц расстояние, которое определяет зону индукции, меньше 0,3 м и 300 м.
Для антенн зону излучения обозначают неравенствами: r > e2 / λ и r > 3/λ, где l – размер антенны. В зоне излучения поле практически принимает плоскую конфигурацию и распространяется в виде плоской волны, составляющие которой равны:
е«
где ε*=ε-jς/ω – комплексная диэлектрическая проницаемость среды; ε иμ. –абсолютные проницаемости соответственно диэлектрическая и магнитная;ς–удельная проводимость среды; комплексное волновое число k*= ω√με*.
Сравнивая выражения (6.24) и (6.54), видим, что импеданс среды электромагнитному полю z = √με*. С учетом формулы (6.54) найдем, что для непроводящей среды ς = 0)
для проводящей среды (ε = 0)
Здесь термин «изоляция» заменен термином «экранирование», который обычно используется в специальной литературе.
В табл. 6.10 приведены ориентировочные значения волнового числа и импеданса
для металлов. Для вакуума импеданс равен Z0 = √μ∕ε120π, Ом, где μо и εo – so соответственно электрическая и магнитная постоянные: ε = 1/(36π∙10-9)=8,85 • 10-12 ф/м μо = 4л •10'7 Гн/м. В зоне индукции импеданс среды зависит от источника.
Таблица 6.10. Характеристика металлов, применяемых для экранирования ЭМП
Металл | Электрическая проводимость | Магнитная проницаемость μ/μо | Коэффициент распространения | Импеданс |
| ς • 106. См/м | │К*│=√ωμς, мм'1 | │Z│=√ω∕μς | ||
| Медь | 57,1 | 1 | 21,2•10'З7√f | 0,372 • 10'6 √f |
| Алюминий | 34.5 | 1 | 16,4 .10'3 √f | 0,478 • 10"6 √f |
| Сталь | 7,2 | 100 | 75,4. 10'3 √f | 10,47 • 10'6 √f |
| Свинец | 4,8 | 1 | 6,2 • 10'3 √f | 1.28 • 10'6 √f |
При определении электромагнитного поля сложных источников их разбивают на элементарные, а затем используют принцип суперпозиции полей. Импеданс среды для поля элементарного электрического излучателя
Z=Z0(1+jkr+1/jkr)(1+jkr), (6.57)
Импеданс среды для поля элементарного магнитного излучателя
Z=Z0(1+1/jkr)/(1+jkr+1/jkr), (6.58)
Из выражений (6.57) и (6.58) видно, что вблизи источника, т. е. в зоне индукции (kr «1), импеданс среды преимущественно электрическому полю
Z=ZE≈Z/jkr (6.59)
импеданс среды преимущественно магнитному полю
Z=ZH≈jk/Z0 (6.60)
С увеличением расстояния от источника импеданс ZE уменьшается, а импеданс ZH увеличивается (рис. 6.51). Оба импеданса будут стремиться к одному значению, которое они достигают в зоне излучения Z=ZEH=Z0.
Различают экранирование магнитного, электрического и электромагнитного (плоская волна) полей. В большинстве случаев с двух сторон от экрана находится одна и та же диэлектрическая среда – воздух, и эффективность экранирования, пользуясь формулой (6.39), можно записать в виде
E=20lg│chk*h│+20lg│1+0,5(Z2/Z1+Z1/Z2)thk*h│
Чтобы произвести расчет по этой формуле, кроме толщины экрана h необходимо знать коэффициент распространения k* и импедансы Z1 и Z2. Так как экран обычно изготовляют из металла, то с учетом зависимостей (6.27) и (6.56) коэффициент распространения k* и импеданс Z2 будут равны: k* = √jwμ2ς2. Более сложно определяется импеданс Z1. В зоне излучения импеданс диэлектрической
Рис. 6.51. Импеданс среды для элементарных излучателей в зависимости от расстояния от источника:
среды – воздуха – будет равен (для воздуха μ≈μ0, ε≈ε) Z1=ZEH=√μ1/ε1≈√μ0ε0≈ 377 Ом. Однако в зоне индукции импеданс Z1 зависит не только от вида основной составляющей электромагнитного поля |см. формулы (6.59) и (6.60)]. Он определяется также формой конструкции экрана (рис. 6.52). С учетом формы импеданс Z1 при экранировании электрического поля записывают в виде
Z1=Z1E=Z*/jkr*m=1/jωε1r*m
а при экранировании магнитного поля в виде Z1 = Z1H=jk1r*mZ*=jωμ1r*m,
где т = 2 при r* = l/2 для плоского экрана; т = 1 при r* = р –для цилиндрического экрана; т = 1/√z при r* = r–для сферического экрана (см. рис. 6.52).
Тогда при k*h, что обычно достигается на низких частотах (f< 104 Гц), chk*h ≈ 1, a thk*h ≈k*h и эффективность экранирования электрического поля (Z1E/Z2>Z2/Z1H)
Рис. 6.52. Конструкции экранов
Эта эффективность будет большой на низких частотах, а в диапазоне относительно высоких частот е → 0.
П
ри экранировании магнитного поля необходимо учитывать особенности материала, из которого изготовлен экран. Обычно для магнитных металлов (сталь, пермаллой, феррит)Z1/Z2H>Z1H/Z2, а для немагнитных металлов (медь, алюминий, свинец) Z1H/Z2 > Z2/Z1H. Тогда для защитных устройств из магнитных металлов эффективность экранирования.
Она не зависит от частоты. Для защитных устройств из немагнитных металлов.
Эта эффективность зависит от частоты и при частоте ω→0 тоже стремится к нулю.
В области относительно высоких частот (104 <f, Гц < 109) эффективность экранирования удобно определять* по формуле















