ТСН 50-302-96 фундам гр здан и сооруж в СПб (524746), страница 21
Текст из файла (страница 21)
Материалы инженерно-геологических изысканий должны содержать разрезы и буровые колонки с количественной и качественной оценкой встречаемых крупных включений, водосодержащих прослоек и линз.
3.10.6. Проектом должны быть предусмотрены работы по очистке дна траншей от шлама разрабатываемого грунта и раствора глины, а также возможных вывалов грунта. В случае необходимости (траншейные фундаменты и др.) проектом должно быть предусмотрено уплотнение грунта основания втрамбовыванием щебня или бетонной смеси класса В10.
Расчет "стена в грунте"
3.10.7. При расчете стен подземных помещений и фундаментов, устраиваемых способом "стена в грунте", учитываются нагрузки и воздействия, возникающие в условиях строительства и эксплуатации возводимых сооружений, а также от сооружений, расположенных вблизи от них.
3.10.8. Нагрузки, коэффициенты надежности по нагрузке и сочетания нагрузок должны приниматься по СНиП 2.01.07-85 с учетом дополнительных требований, приведенных в "Руководстве по проектированию "стен в грунте" и разд. 3.1 и 3.9 настоящих ТСН.
3.10.9. В процессе проектирования "стен в грунте", кроме расчета по несущей способности и деформациям, должны производиться: подбор состава глинистого раствора в соответствии с требованиями "Руководства по расчету "стен в грунте", определение допустимой длины одновременно отрываемого участка (захватки) траншей и устойчивости ее стен.
3.10.10. Длина захватки траншей назначается из условий устойчивости массива грунта, прилегающего к траншее, от нагрузок, расположенных на поверхности грунта, и фундаментов соседних сооружений (рис. 3.27), расположенных в пределах призмы обрушения.
Рис. 3.27. Расположение нагрузок вблизи траншеи:
1 - фундамент за призмой обрушения; 2 - фундамент в пределах призмы обрушения;
3 - равномерно распределенная нагрузка на поверхности;
4 - плоскость обрушения,
3.10.11. Устойчивость стен траншей в случае отсутствия нагрузок на поверхности грунта в зоне призмы обрушения будет обеспечена при условии
где
,
,
- соответственно горизонтальное давление глинистого раствора, грунта и грунтовых вод, определяемые по "Руководству по проектированию "стен в грунте".
Устойчивость стен траншей в случае необходимости может быть обеспечена за счет повышения плотности глинистого раствора, разницы уровней раствора и подземных вод, а также за счет уменьшения длины захватки.
3.10.12. Устойчивость стен траншей, в том числе при наличии нагрузки на призме обрушения, будет обеспечена при соблюдении условия
где
,
- коэффициенты условий работы и надежности, определяемые по СНиП 2.02.01-83; F - расчетная нагрузка, действующая в пределах призмы обрушения;
- сила предельного сопротивления основания, определяемая по п. 3.10.13 настоящих указаний.
3.10.13. Сила предельного сопротивления
может определяться исходя из условия предельного равновесия грунтовой среды любым методом, позволяющим учесть пространственную работу грунта, в том числе аналитически, по программе, разработанной во ВНИИГС на основе усовершенствованного метода круглоцилиндрических поверхностей скольжения с учетом трения по боковой поверхности сдвигаемого массива грунта.
3.10.14. Расчет напряженно-деформированного состояния железобетонных стен сооружений, выполняемых способом "стена в грунте", должен производиться по рекомендациям "Руководства по проектированию "стен в грунте".
3.10.15. Несущая способность по грунту фундамента, выполненного способом "стена в грунте" (траншейный), опирающегося на сжимаемое основание и воспринимающего вдавливающую нагрузку, определяется по СНиП 2.02.03-85 как для буровой сваи, бетонируемой под глинистым раствором, с учетом рекомендаций п. 3.10.7 настоящих ТСН.
3.10.16. Расчетное сопротивление грунта основания R под нижним концом траншейного фундамента принимается по указаниям СНиП 2.02.03-85 при условии назначения операций, гарантирующих сохранение прочностных свойств грунта основания траншей (удаление шлама, уплотнение забоя, улучшение качества грунта в забое путем втрамбовывания гравия, щебня или бетонной смеси). Если проектом указанные операции не назначаются, значение R уменьшается на 50 %.
3.10.17. Расчетное сопротивление по боковой поверхности траншейного фундамента
определяется по указаниям СНиП 2.02.03-85 как для буровых свай, изготавливаемых под глинистым раствором, если бетонирование траншеи выполняется в течение суток после ее разработки под глинистым раствором.
Если бетонирование траншеи произведено за 2 суток и более, значение
снижается на 30 %. Сопротивление грунта по боковой поверхности следует учитывать с обеих сторон только на участке ниже дна котлована, отрываемого для сооружения.
3.10.18. Расчет траншейных фундаментов и их оснований по деформациям производится, как для свайных фундаментов, в соответствии с требованиями СНиП 2.02.03-85.
3.10.19. Несущая способность траншейного фундамента по грунту должна проверяться испытаниями статической нагрузкой в соответствии с ГОСТ 5686-78 и рекомендациями гл. 2 настоящих ТСН.
Конструкция "стен в грунте"
3.10.20. Конструктивные схемы стен подземных помещений назначаются в зависимости от размеров сооружений, их конфигурации в плане, характера и величины расчетных нагрузок, гидрогеологических условий строительства и др.
Рекомендации по выбору конструктивной схемы "стен в грунте" приведены в "Руководстве по проектированию "стен в грунте".
3.10.21. В случаях, если устойчивость стен в процессе строительства не обеспечивается заделкой их в грунте, рекомендуется:
при расстоянии между параллельными стенами до 15 м применение распорных конструкций;
при размерах, когда установка распорных конструкций невозможна или нецелесообразна, а также при неустойчивости стен в период эксплуатации рекомендуется предусматривать анкера (см. разд. 3.11).
3.10.22. "Стены в грунте" могут проектироваться различного очертания в плане из монолитного или сборного железобетона, а также сборно-монолитные. Выбор типа производится на основании технико-экономического сопоставления вариантов. Фундаменты типа "стена в грунте", работающие на вертикальные нагрузки, допускается назначать бетонные без армирования. Класс бетона по прочности на сжатие для стен назначается не менее В7.5.
3.10.23. Траншею при устройстве "стен в грунте" необходимо разбивать на отдельные захватки, отрываемые и бетонируемые с разрывами через одну. Рекомендуется назначать длину захватки 3-6 м.
Если грунт не меняет свои свойства при динамике, при устройстве "стены в грунте" вблизи существующих зданий или сооружений ее следует делать в виде секущихся свай. Разбуренные под глинистым раствором скважины должны немедленно заполняться бетонной смесью.
3.10.24. Стыки между захватками бетонирования назначаются в зависимости от условий устойчивости массивов грунта, прилегающего к траншее и статической работы стен подземных сооружений, в соответствии с рекомендациями "Руководства по проектированию стен в грунте".
В качестве ограничителей захваток, в зависимости от конструкции стыка, рекомендуется принимать инвентарные стальные трубы, опускаемые в траншею на границе захватки и извлекаемые после укладки бетона или разграничительные железобетонные элементы, входящие впоследствии в состав стены.
3.10.25. Для армирования несущих стен по расчету применяется сталь горячекатаная периодического профиля класса А-П по СНиП 2.03.01-84.
Арматурный каркас должен иметь размеры: длину на 20-30 см меньше глубины траншей, толщину на 10-15 см меньше ширины траншей и ширину на 10 см меньше длины захватки между ограничителями. В каркасе должны быть предусмотрены проемы для установки бетонолитной трубы.
3.10.26. На чертежах конструкций, выполняемых способом "стена в грунте", кроме общих примечаний и указаний, должны быть приведены размеры захваток, плотность глинистого раствора, сроки заполнения захваток бетоном и другие требования, обеспечивающие прочность и жесткость сооружения.
3.11. Грунтовые анкеры
Область применения и типы анкеров
3.11.1. Грунтовые анкеры - устройства для передачи растягивающих усилий на глубокие слои грунта. Анкера применяются для закрепления: подпорных стен, шпунтовых ограждений и других целей.
3.11.2. Заделку анкеров не допускается осуществлять в торфах, илах, текучих и текучепластичных пылевато-глинистых грунтах.
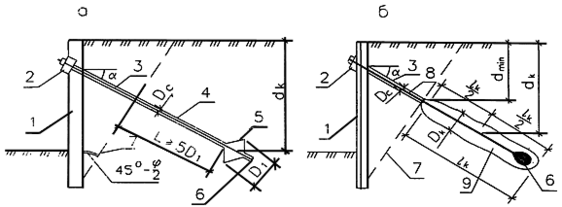
3.11.3. Анкер состоит из заделки (корня), передающей усилие от закрепляемой конструкции на грунт, тяги - соединяющей закрепляемую конструкцию с заделкой и стопорного устройства (оголовка), закрепляющего анкер на конструкции (рис. 3.28).
Рис.3.28. Схемы анкеров:
а - с разбуренным уширением; б - с инъекционным уширением
3.11.4. Анкеры подразделяются: по направлению тяги - наклонные и вертикальные; по способу образования скважин - буровые с проходкой скважин с обсадными трубами, под глинистым раствором, шнеком и с погружением обсадной трубы забивкой или вдавливанием; по способу устройства - инъекционные (скважина в зоне заделки заполняется цементным раствором под давлением), с разбуренным уширением и цилиндрические (скважина заполняется цементным раствором без избыточного давления); по материалу анкерных тяг - из стержневой и тросовой арматуры; по сроку службы - временные (до 2 лет) и постоянные.
3.11.5. Подпорные стены и ограждения котлованов могут быть закреплены одним или несколькими ярусами анкеров. Число ярусов, шаг, угол наклона, конструкция и размеры анкеров должны определяться расчетом в зависимости от высоты и конструкции закрепляемой стенки, грунтовых условий и несущей способности анкеров.
3.11.6. Тип анкера (см. 3.11.4) должен назначаться исходя из расчетной выдергивающей нагрузки, вида грунтов, условий производства работ, обеспеченности строительной организации необходимыми материалами и оборудованием, на основании технико-экономического сравнения различных вариантов.
Выбор анкера по способу устройства заделки анкера и вида грунтов рекомендуется производить, руководствуясь табл. 3.9.
Таблица 3.9
Рекомендации по выбору типа анкера
3.11.7. Наклон анкеров назначается в зависимости от залегания слоя грунта, пригодного для размещения заделки анкера.
При этом следует учитывать, что усилие в анкере увеличивается обратно пропорционально
, где a - угол наклона анкера к горизонту.
















