ТСН 50-302-96 фундам гр здан и сооруж в СПб (524746), страница 12
Текст из файла (страница 12)
3.2.23. Сборные плиты фундаментов должны устанавливаться на выровненную поверхность, для чего предварительно должен укладываться выравнивающий слой песка толщиной 60-100 мм. Швы и расстояния между плитами шириной более 50 мм должны заполняться песком или местным грунтом с уплотнением, до уровня на 40-50 мм ниже верха плит.
3.2.24. Фундаментные стеновые панели могут устанавливаться на сборные фундаментные плиты или сборные фундаментные стеновые блоки.
3.2.25. Глубина заложения фундаментов вблизи более глубоких соседних подземных коммуникаций, прокладываемых одновременно, должна назначаться в соответствии с СНиП 2.02.01-83 (рис. 3.3). Если коммуникации прокладываются после частичной загрузки фундаментов, то рекомендуется последние заглубить на отметку дна предполагаемой отрывки траншей.
Рис. 3.3. Заглубление соседних фундаментов и подземных коммуникаций
Изменение глубины заложения ленточных фундаментов назначать уступами высотой не более 600 мм при длине a не менее 1200 мм (рис. 3.4).
Рис. 3.4. Изменение глубины заложения фундаментов:
1 - выравнивающий слой раствора (армированный шов); 2 - песчаная подготовка; 3 - тщательно уплотненный песок
3.2.26. При ожидаемой по расчету осадке более 50 мм по верху сборных плит ленточных фундаментов и верхних стеновых блоков следует делать непрерывные армированные пояса в выравнивающем слое цементного раствора М100 толщиной до 50 мм или при большей толщине - из бетона класса В15.
Железобетонный пояс необходимо назначать по верху фундамента при слабых грунтах или сосредоточенных нагрузках, он должен иметь высоту не менее 200 мм.
Выравнивающие швы должны армироваться стержнями или каркасами с продольной рабочей арматурой. Железобетонные пояса армируются двойной арматурой.
При крупнопанельных стенах, имеющих продольную арматуру, свариваемую в стыках (рис. 3.5), продольное армирование выравнивающих слоев по плитам сборных фундаментов и по обрезу фундаментов, как правило, не требуется.
Рис. 3.5. Соединение панелей стен фундаментов:
1 - выпуски арматуры; 2 - накладки; 3 - сварные швы
В монолитных ленточных фундаментах под стены продольная арматура необходимого сечения, которая является нижним поясом армирования стен, как правило, предусматривается в нижней части фундамента.
3.2.27. Арматура непрерывных поясов, устраиваемых в фундаментах здания, как правило, должна укладываться во всех стенах на одном уровне. Площадь сечения арматуры назначается по расчету, но не менее 5 см2; диаметр стержней не менее 12 мм.
При местных заглублениях подошвы фундаментов арматуру рекомендуется укладывать в уровне верха плит, имеющих наименьшее заглубление (см. рис. 3.4). При невозможности устройства швов или поясов на одном уровне допускается укладка арматуры в разных уровнях, причем пояса должны перекрывать друг друга на длину не менее двух расстояний между ними по высоте, но не менее 1000 мм (см. рис. 1.2).
3.2.28. При пучинистых грунтах стены наружных фундаментов должны делаться из сплошных бетонных блоков или из панелей. Для панелей наружных стен допускается устройство ниш с внутренней стороны, а для панелей внутренних стен - устройство ниш или отверстий с целью снижения их веса и расхода бетона. Для внутренних стен, выше пола подвала (подполья) рекомендуется применение пустотелых блоков марки ФВП по ГОСТ или кирпичной кладки.
Стены фундаментов из крупных панелей проектируются, как правило, с однорядной разрезкой. Высоту панелей рекомендуется принимать от верха подушки фундамента до низа перекрытия над подвалом или до низа цоколя.
3.2.29. Толщина стен ленточных фундаментов должна приниматься по расчету на вертикальную и горизонтальную нагрузки.
Допускается назначать толщину стен фундаментов меньше толщины стен здания с учетом п. 3.1.27. Стены фундаментов устанавливаются, как правило, симметрично стенам подземной части здания. При опирании на наружные стены перекрытия над подвалом (подпольем) внутреннюю плоскость стены и фундамента допускается совмещать.
Для кирпичных стен величина свеса не должна превышать при симметричном опирании - 60 мм, при несимметричном (для наружных стен) не более 100 мм.
3.2.30. Отдельные фундаменты под колонны могут проектироваться в зависимости от конструкции колонн сборные, сборно-монолитные с башмаками стаканного типа, монолитные с креплением колонн к закладным деталям или установкой в стаканы.
Ленточные фундаменты под колонны и сплошные фундаментные плиты рекомендуется делать монолитными.
3.3. Буронабивные фундаменты
Общие положения
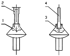
3.3.1. Буронабивной фундамент состоит из верхней цилиндрической шейки, уширения с конической и сферической частью и нижнего цилиндрического ствола - пяты (рис. 3.6).
Рис. 3.6. Наименование элементов буронабивного фундамента:
1 - шейка; 2 - коническая часть уширения; 3 - сферическая часть уширения; 4 - нижний цилиндрический ствол
3.3.2. Буронабивные фундаменты рекомендуется применять в пылевато-глинистых грунтах с показателем текучести IL £ 0,6 при залегании их от верха фундамента до низа уширения и при отсутствии прослоев водоносных песков и супесей.
Применение буронабивных фундаментов в пылевато-глинистых грунтах при показателе текучести от 0,6 до 0,75 допускается после опытного устройства полости с целью определения возможного наибольшего угла наклона конической части.
3.3.3. Буронабивные фундаменты целесообразны для зданий без подвалов и каркасных с нагрузкой под колонну до 3000 кН.
3.3.4. Для проектирования буронабивных фундаментов в материалах инженерно-геологических изысканий должны быть сведения о положении уровня подземных вод, коэффициенте фильтрации всех слоев грунта в пределах высоты фундамента и показателе текучести грунта.
3.3.5. При показателе текучести от 0,6 до 0,75, а также при отсутствии опыта устройства фундаментов в аналогичных грунтовых условиях назначается опытное изготовление буронабивных фундаментов и проведение статических испытаний не менее 2 под каждое здание или сооружение, не имеющих различия в напластованиях грунтов. При пестром напластовании (линзообразном залегании и выклинивании слоев) количество статических испытаний должно быть увеличено.
Расчет буронабивных фундаментов
3.3.6. Расчет буронабивных фундаментов производится по предельному состоянию по деформации основания, с учетом формы и технологии изготовления и по несущей способности в соответствии с СНиП 2.02.01-83 и с прил. 4 настоящих ТСН.
3.3.7. Спаренные и ленточные фундаменты рекомендуется рассчитывать по приведенной ширине уширения
, где A1 - фактическая площадь одного буронабивного фундамента.
3.3.8. Расчет фундамента по материалу должен выполняться в соответствии с требованиями СНиП 2.03.01-85.
Расчет уширения на прочность допускается не производить, если давление на основание не превышает 500 кПа и угол наклона образующей конической части уширения
45°.
Бетон шейки фундамента должен проверяться на местное смятие от опирающихся на него конструкций.
Расчет стакана под колонны должен выполняться по СНиП 2.03.01-85 с учетом цилиндрической формы фундамента.
Конструкция фундаментов
3.3.9. Буронабивные фундаменты могут быть одиночными, круглого сечения в плане, двойными и ленточными (рис. 3.7; 3.8).
Рис. 3.7. Типы одиночных фундаментов:
а - с шейкой; б - без шейки
Рис. 3.8. Типы буронабивных фундаментов:
а - двойной; б - ленточный; 1 - ростверк
Расстояние "l" между осями двойных или ленточных фундаментов рекомендуется принимать равными: (1,5-2,0)bb при диаметре фундамента bф³ 1,25l, где bb - диаметр шейки фундамента.
3.3.10. Размеры фундаментов должны назначаться по расчету в зависимости от конструкции сопряжения с элементами здания, типа механизмов для выполнения скважины и уширения, имеющихся в строительной организации.
3.3.11. Высота шейки назначается, как правило, 200 мм. Допускается выполнение фундаментов без шейки (рис. 3.7, б), если край полости будет сохранять устойчивое состояние.
3.3.12. Нижний конец ствола не следует заглублять в слабые пылевато-глинистые или неустойчивые (плывунные) песчаные грунты.
При циклическом извлечении грунта из полости объем нижнего ствола рекомендуется принимать не менее 0,25 объема уширения.
3.3.13. Для буронабивных фундаментов должен применяться бетон класса В20. Рекомендуется использовать крупные включения бутового камня твердых пород, булыжника и т.п., размещаемого в средней части уширения.
3.3.14. При необходимости защиты фундаментов от коррозии рекомендуется назначать бетон повышенной плотности (W6), применение цементов, стойких к данному виду агрессии.
3.3.15. Глубина заложения буронабивных фундаментов от уровня планировки срезкой или от пола подвала до низа конической части, из условия промерзания грунта в С.-Петербурге, должна назначаться не менее 1,20 м (см. п. 3.1.13).
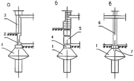
3.3.16. Опирание конструкций зданий может осуществляться непосредственно на буронабивные фундаменты (панели стен, сборные балки и др.) или через монолитные ростверки (рис. 3.9).
Рис. 3.9. Опирание стен на буронабивные фундаменты:
а - панельных; б - блочных; в - внутренних;
1 - буронабивной фундамент; 2 - фундаментная панель; 3 - цокольная панель; 4 - ростверк; 5 - фундаментные балки; 6 - панель; 7 - закладные детали
3.3.17. Для крепления конструкций, опирающихся на фундамент, в шейку должны заделываться закладные детали; при опирании колонн может быть запроектирован стакан с необходимым увеличением диаметра шейки (рис. 3.10). Опирание монолитных ростверков и сборных бетонных и железобетонных конструкций может производиться непосредственно на верх буронабивных фундаментов без устройства креплений. Если конструкции, опирающиеся на фундамент, передают растягивающие или сдвигающие усилия, крепления назначаются по расчету.
Рис. 3.10. Опирание колонн на буронабивной фундамент:
1 - выпуски арматуры из фундамента; 2 - арматура колонны; 3 - арматура стакана; 4 - колонна
3.4. Фундаменты на искусственно улучшенных основаниях
3.4.1. Искусственно улучшенные основания в условиях С.-Петербурга могут применяться с целью замены залегающих на небольшой глубине слабых грунтов (торфа, заторфованных супесей, насыпных грунтов и др.), не пригодных в качестве основания, для уменьшения размеров подошвы фундаментов, снижения давления на слабые подстилающие слои, уменьшения и ускорения развития во времени осадок, для повышения отметки заложения фундаментов.
3.4.2. В качестве искусственно улучшенных оснований могут использоваться песчаные (гравийные) подушки, минеральные насыпные грунты и грунты, закрепленные химическими или электрохимическими способами.
3.4.3. Применение песчаных (гравийных) подушек допускается для любых зданий и сооружений. Намытые мелкие и пылеватые пески могут быть использованы в качестве оснований зданий с несущими стенами до 5 этажей и сооружений, малочувствительных к неравномерным осадкам.
Закрепление грунтов целесообразно только для усиления оснований существующих зданий в аварийных случаях, при пристройке новых зданий к существующим и при откопке траншей и котлованов около существующих фундаментов ниже их подошвы.
3.4.4. Для проектирования фундаментов на искусственных основаниях кроме материалов, изложенных в п. 3.1.3, необходимо иметь:
а) при назначении песчаных (гравийных) подушек - подробные данные о толщине слоя заменяемых грунтов по всей площади сооружения и материале - грунте подушки;
б) при использовании в основании намытых грунтов необходимо детальное исследование их свойств под каждым объектом с определением неоднородности как по толщине, так и по простиранию, кроме того, должно быть проведено исследование необходимости и возможности их уплотнения;
в) при назначении закрепления грунтов сведения о конструкции существующих фундаментов, о грунтовых условиях и физико-механических свойствах грунтов, выполненные по специальной программе.
3.4.5. Подушки, как правило, рекомендуется выполнять из крупнозернистых и среднезернистых песков; из гравия и гравийно-песчаных смесей, когда они являются местными материалами или при устройстве подушек в зимнее время.
3.4.6. Возведение зданий и сооружений на слое насыпных и намытых грунтов, как правило, должно производиться после окончания процесса консолидации (уплотнения) этого слоя и подстилающих грунтов под действием веса насыпного слоя. При незавершенной консолидации подстилающих грунтов незавершенная осадка должна учитываться при проектировании фундаментов.
3.4.7. При проектировании фундаментов на намывных грунтах, особенно пылеватых песках и супесях, следует учитывать возможную изменчивость грунтов основания по сжимаемости и прочностным характеристикам по глубине и в плане.
3.4.8. Расчетное сопротивление грунта песчаных подушек должно определяться по СНиП 2.02.01-83, исходя из предусмотренных проектом расчетов физико-механических характеристик песка в уплотненном состоянии.
3.4.9. Расчетное сопротивление намытого грунта для проектирования фундаментов рекомендуется устанавливать по физико-механическим характеристикам, полученным для состояния намытого грунта в период изысканий.
















