ТСН 50-302-96 фундам гр здан и сооруж в СПб (524746), страница 11
Текст из файла (страница 11)
л) допускаемые отклонения при отрывке котлованов, забивке свай, монтаже и бетонировании фундаментов или ссылки на соответствующие нормативные документы;
м) другие сведения, специфические для конкретного строительства и типа фундаментов.
Гидроизоляция фундаментов и стен здания
3.1.30. В проекте фундаментов должна быть предусмотрена гидроизоляция от грунтовой сырости стен здания и других конструкций, опирающихся на фундаменты, а также стен, ограждающих подвалы.
Тип гидроизоляции должен назначаться в зависимости от класса сооружения, значимости помещений, расположенных в подвалах, материала надземных конструкций и внутренних стен подвалов, типа грунтов, уровня грунтовых вод и характера передаваемой нагрузки.
Гидроизоляция наружных стен фундаментов, ограждающих технические подполья, как правило, не предусматривается.
3.1.31. Горизонтальная гидроизоляция, предусматривающая защиту стен и других опирающихся на фундамент конструкций от увлажнения, должна назначаться по обрезу фундаментов или в уровне низа перекрытий над подвалом или подпольем. Гидроизоляция внутренних стен должна назначаться в уровне пола подвала; при отсутствии такового гидроизоляция должна укладываться в уровне низа перекрытия или пола по грунту первого этажа.
Гидроизоляция по обрезу фундаментов наружных стен должна назначаться выше уровня отмостки (тротуара) в зависимости от ожидаемой осадки, но не менее чем на 15 см.
3.1.32. Гидроизоляция должна назначаться в зависимости от условий эксплуатации помещений: из рулонных материалов, обмазочная (горячим битумом в два слоя), из цементного раствора с гидрофобными добавками.
Обмазочная гидроизоляция, как правило, назначается только для вертикальных стен подвалов и наносится на наружную поверхность кладки или панелей. Швы между блоками и панелями должны быть тщательно выравнены раствором.
Горизонтальную гидроизоляцию при керамзитобетонных стенах первого этажа рекомендуется давать в уровне низа перекрытий над подвалом из цементного раствора с гидрофобными добавками.
Гидроизоляция наружных стен по обрезу фундаментов "в уровне" отмостки (тротуара) должна назначаться рулонная из негниющих материалов или цемента.
3.1.33. Вертикальная гидроизоляция стен фундаментов подвалов, примыкающих к грунту, должна делаться от горизонтальной гидроизоляции по обрезу (на 15 см выше уровня отмостки) до уровня 50 см ниже пола подвала.
Гидроизоляция пола подвала от грунтовой сырости в стенах фундаментов должна предусматриваться горизонтальная, в уровне низа конструкции пола. В таком случае вертикальная гидроизоляция стен фундамента доводится до уровня горизонтальной.
3.1.34. Подземная часть панелей стен фундаментов из легких бетонов должна иметь обмазочную (оклеечную) гидроизоляцию всех поверхностей, соприкасающихся с грунтом независимо от назначения помещений подвалов или подполья.
3.1.35. При уровне стояния грунтовых вод выше пола гидроизоляция стен подвала должна предусматриваться особым проектом и в настоящих ТСН не рассматривается.
3.1.36. При агрессивных грунтовых водах необходимо назначать меры по защите элементов фундаментов в соответствии с СНиП 2.03.11-85 "Защита строительных конструкций от коррозии".
Для защиты сборных плит фундаментов, свай и ростверков рекомендуется назначать бетон марки по водонепроницаемости В6, бетон на специальных цементах, пропитку битумными составами, карбамидными смолами и др. в зависимости от вида и степени агрессивности воды. Особо тщательно гидроизоляцию следует делать под подушкой фундаментов для защиты арматуры.
3.2. Фундаменты на естественном основании
Выбор типа фундаментов на естественном основании
3.2.1. Фундаменты на естественном основании назначаются с учетом рекомендации разд. 3.1 и настоящего раздела.
3.2.2. Тип фундаментов в зависимости от средней интенсивности давления на площадь застройки здания рекомендуется назначать с учетом табл. 3.3.
Таблица 3.3
Рекомендуемые типы фундаментов
| Средняя интенсивность давления на площадь застройки, кПа (тс/м2) | Тип фундаментов |
| 50(5) - 120(12) | Ленточные и отдельные |
| 120(12) - 300(30) | Перекрестные и ленточные или плита под всем зданием |
3.2.3. Ленточные фундаменты под стены при грунтах средней сжимаемости проектируются, как правило, сборные. Применение прерывистых фундаментов с учетом работы грунта в швах допускается при пылевато-глинистых грунтах с IL £0,5 и в песчаных грунтах с коэффициентом пористости e£0,7, при отсутствии в пределах сжимаемой толщи прослойков торфа, заторфованных грунтов или пылевато-глинистых грунтов с IL >0,8.
При залегании в основании супесей с коэффициентом пористости e>0,7, супесей с растительными осадками, мягкопластичных глин и суглинков (IL >0,5) и других слабых грунтов, особенно при большой чувствительности зданий к неравномерным осадкам, плиту или стенку по сборным плитным блокам ленточных фундаментов рекомендуется назначать из монолитного железобетона с продольной арматурой площадью сечения не менее 6 см2.
3.2.4. Перекрестные ленточные фундаменты рекомендуется назначать под здания с каркасом при неравномерно-сжимаемых грунтах в основании.
Для крупнопанельных зданий с шагом поперечных несущих стен до 4 м, при слабых неравномерно-сжимаемых грунтах целесообразно применение перекрестных монолитных или сборно-монолитных ленточных фундаментов.
3.2.5. Применение отдельных фундаментов под колонны и под несущие стены (с рандбалками) допускается, когда неравномерность осадок не превышает предельно допустимых значений по прил. 4 СНиП 2.02.01-83.
Глубина заложения фундаментов
3.2.6. Глубина заложения фундаментов должна назначаться с учетом следующих факторов:
а) геологических и гидрогеологических условий строительной площадки;
б) расчетной глубины промерзания грунта;
в) чувствительности конструкций к неравномерным осадкам, величин и характера нагрузок, действующих на основание;
г) конструктивных особенностей проектируемых и примыкающих к ним зданий (наличие подвалов, подземных коммуникаций).
3.2.7. Несущий слой грунта выбирается, исходя из возможности передачи на него от сооружений давления не более расчетного сопротивления грунта основания, под действием которого деформации не превосходят предельно допустимых значений по прил. 4 СНиП 2.02.01-83 и табл. 3.2 ТСН.
Вследствие допустимых отклонений в определении отметок несущего слоя грунта фундаменты рекомендуется заглублять в него не менее чем на 10 см.
В случае, если на участке строительства предусматривается подсыпка, заглубление подошвы фундаментов от природного рельефа принимается, как правило, не менее 50 см.
На участках, где заглубление подошвы фундаментов в естественный грунт окажется меньше 50 см, рекомендуется устройство песчаной подушки с заглублением ее подошвы от природной поверхности земли не менее 50 см.
3.2.8. При высоком уровне грунтовых вод рекомендуется принимать минимально допустимую глубину заложения фундаментов.
3.2.9. Глубина заложения фундаментов из условий промерзания грунта принимается в соответствии со СНиП 2.02.01-83 с учетом формулы (3.1) настоящих ТСН.
Для непучинистых грунтов (песков крупных и средней крупности, гравелистых) глубина заложения фундаментов может назначаться по конструктивным соображениям, но не менее 50 см.
3.2.10. Глубину заложения фундаментов для зданий, строящихся в С.-Петербурге и его пригородных районах, следует принимать по формуле (3.1), которая коэффициентом kn учитывает резкую неоднородность условий промерзания в отдельные годы. В такие годы безразмерный коэффициент, численно равный сумме абсолютных значений среднемесячных отрицательных температур за зиму в С.-Петербурге более чем в 2 раза превышает среднее его значение за длительный период наблюдений. Поскольку такие условия создаются в течение лишь отдельных зим, можно фундаменты отапливаемых зданий, строящихся зимой, закладывать лишь ниже нормативной глубины промерзания, указанной в п. 3.1.13. При этом в проекте должно быть оговорено, что при принятой глубине заложения фундаментов в случае суровой зимы необходимо срочное утепление поверхности грунтов около фундаментов.
3.2.11. При пучинистых грунтах в местах расположения наружных приямков глубину заложения фундаментов рекомендуется делать не менее расчетной глубины промерзания, считая от пола приямка, или по теплотехническому расчету.
3.2.12. Глубина заложения подошвы фундаментов от уровня пола подполья (подвала) при температуре воздуха в подполье (подвале) в период эксплуатации не ниже ±0 °С должна быть не менее 50 см. При более низкой температуре глубина заложения фундаментов должна определяться теплотехническим расчетом с учетом фактической температуры воздуха в подполье (подвале). При возведении здания в зимних условиях подполья (подвалы) должны быть тщательно утеплены, включая лестничные клетки, а во время суровых зим дополнительно должен быть утеплен пол подполья (подвала) около фундаментов.
3.2.13. При определении глубины заложения фундаментов рекомендуется учитывать минимальную толщину выравнивающей подсыпки из крупного или средней крупности песка и бетонной подготовки.
3.2.14. Глубина заложения всех фундаментов неотапливаемых зданий и сооружений в пучинистых грунтах принимается по теплотехническому расчету. Во всяком случае она принимается не менее нормативной глубины промерзания, умноженной на коэффициент неоднородности промерзания в отдельные годы. Для фундаментов внутренних конструкций глубина назначается от пола подвала (подполья) или пола первого этажа, устраиваемого по грунту.
Расчет оснований фундаментов
3.2.15. Основания, сложенные нескальными грунтами, рассчитываются по деформациям по СНиП 2.02.01-83 с определением средних, максимальных осадок, относительной разности осадок и крена, величины которых не должны превышать предельных значений по прил. 4 к СНиП 2.02.01-83 и табл. 3.2 настоящих ТСН.
Расчет по несущей способности производится в случаях расположения фундаментов на бровке откоса или крутопадающих слоев грунта, при возможности отрывки вблизи фундамента котлованов для трубопроводов или других заглубленных помещений, а также при основаниях, сложенных водонасыщенными пылевато-глинистыми и заторфованными грунтами (см. СНиП 2.02.01-83).
3.2.16. Расчетное сопротивление грунта основания должно определяться по СНиП 2.02.01-83. Характеристики jII и cII устанавливаются по данным инженерно-геологических изысканий.
Для расчетов оснований на первой стадии разработки проектов и предварительного назначения размеров подошвы фундаментов допускается использование таблиц характеристик грунтов по прил. 1 и таблиц расчетных сопротивлений грунтов оснований по прил. 3 к СНиП 2.02.01-83, а также таблиц прил. 1 настоящих ТСН.
Использование характеристик грунтов и расчетных давлений по упомянутым таблицам допускается для окончательных расчетов фундаментов сооружений III класса согласно СНиП 2.02.01-83.
3.2.17. Краевое давление под ленточными фундаментами стен с учетом ветровой нагрузки, действующей в их плоскости, и среднее давление на грунт под ленточными фундаментами с учетом ветровой нагрузки, действующей перпендикулярно стене, а также под фундаментами колонн связевых каркасов с шарнирным опиранием, не должно превышать 1,2R.
3.2.18. Расчет железобетонных плит ленточных и отдельных фундаментов по прочности должен производиться на реактивное давление грунта от расчетных нагрузок, вычисленных для расчета по первому предельному состоянию на уровне верха фундаментной плиты (вес плиты и грунта на обрезах не учитывается).
Эпюра реактивного давления грунта может приниматься прямолинейной.
Расчет элементов железобетонных фундаментов должен производиться в соответствии с СНиП 2.03.01-84.
Стены фундаментов, ограничивающие заглубленные помещения, рассчитываются как подпорные стенки согласно СНиП "Каменные и армокаменные конструкции" и разд. 3.9 настоящих ТСН.
Конструкции фундаментов на естественном основании
3.2.19. Сборные ленточные (рис. 3.1) и отдельные фундаменты должны проектироваться из стандартных блоков и панелей, выпускаемых местной строительной промышленностью в соответствии с действующими ГОСТами и каталогами.
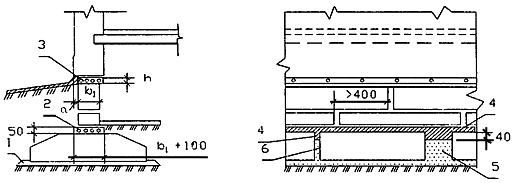
Рис. 3.1. Кладка сборных ленточных фундаментов:
1 - песчаная подсыпка, выровненная по маячным рейкам; 2- армированный пояс в слое цементного раствора; 3 - армированный пояс; 4 - цементный раствор в швах между плитами на ширину b1 +100 мм; 5 - утрамбованный песок; 6 - засыпка швов шириной до 50 мм песком или местным грунтом
Элементы фундаментов следует принимать возможно больших размеров в соответствии с грузоподъемностью монтажных кранов.
3.2.20. Расчетный изгибающий момент и перерезывающая сила в сборных железобетонных плитах ленточных фундаментов не должны превышать соответствующие характеристики сборного элемента более чем на 5 %. Допускается недоиспользование несущей способности сборных элементов, но, как правило, не более чем на 15 %.
При недостаточной несущей способности плит подушек рекомендуется уменьшить вынос консолей путем укладки уширенного блока в нижний ряд стенки фундамента или уширения нижней части кладки стены подвала.
3.2.21. Нетиповые плиты для широких сборных фундаментов и сечения плиты монолитных лент рекомендуется проектировать формы, изображенной на рис. 3.2. Размер bн при опирании одной стены принимать 600-800 мм, высоту плиты h = 500 мм. Защитный слой рабочей арматуры сборных плит - 30 мм; монолитных, в зависимости от вида подготовки, 35 или 70 мм. Диаметр рабочей арматуры должен быть не менее 10 мм.
Рис. 3.2. Форма сечения плиты ленточных фундаментов
3.2.22. Для более полного использования работы сборных плит (блоков) и уменьшении их типоразмеров рекомендуется ленточные фундаменты делать с прерывистой подушкой без увеличения расчетного сопротивления грунта основания. Промежутки между плитами должны быть не более 1200 мм при высоте первого ряда стеновых блоков 580 мм и не более 600 мм - при высоте 280 мм. Промежутки между блоками должны перекрываться стеновыми блоками или панелями стен фундаментов.
















