СНиП II-22-81 (1995) (524623), страница 7
Текст из файла (страница 7)
Рис. 8. Расчетная схема сложного сечения при косом внецентреном сжатии; площади А1 и А2 в расчете не учитываются
Величины w, j1 и тg определяются дважды:
а) при высоте сечения h или радиусе инерции ih и эксцентриситете eh в направлении h;
б) при высоте сечения b или радиусе инерции ib и эксцентриситете eb в направлении b.
За расчетную несущую способность принимается меньшая из двух величин, вычисленных по формуле (13) при двух значениях w, j1 и тg.
Если eb > 0,7 cb, или eh > 0,7 ch, то кроме расчета по несущей способности должен производиться расчет по раскрытию трещин в соответствующем направлении по указаниям п. 5.3.
СМЯТИЕ (МЕСТНОЕ СЖАТИЕ)
4.13. Расчет сечений на смятие при распределении нагрузки на части площади сечения следует производить по формуле
(17)
где Nc — продольная сжимающая сила от местной нагрузки;
Rc — расчетное сопротивление кладки на смятие, определяемое согласно указаниям п. 4.14;
Ac — площадь смятия, на которую передается нагрузка;
d = 1,5 - 0,5 y — для кирпичной и виброкирпичной кладки, а также кладки из сплошных камней или блоков, изготовленных из тяжелого и легкого бетона;
d = 1 — для кладки из пустотелых бетонных или сплошных камней и блоков из крупнопористого и ячеистого бетона;
y — коэффициент полноты эпюры давления от местной нагрузки.
При равномерном распределении давления y = 1, при треугольной эпюре давления y = 0,5.
Если под опорами изгибаемых элементов не требуется установка распределительных плит, то допускается принимать = 0,75 — для кладок из материалов, указанных в поз. 1 и 2 табл. 21, и = 0,5 — для кладок из материалов, указанных в поз. 3 этой таблицы.
Таблица 21
| x1, для нагрузок по схеме | ||||
| рис. 9, а, в, в, д, ж | рис. 9, б, г, е, и | |||
| Материал кладки | местная нагрузка | сумма местной и основной нагрузок | местная нагрузка | сумма местной и основной нагрузок |
| 1 Полнотелый кирпич, сплошные камни и крупные блоки из тяжелого бетона или бетона на пористых заполнителях М50 и выше | 2 | 2 | 1 | 1,2 |
| 2. Керамические камни с щелевыми пустотами, дырчатый кирпич, бутобетон | 1,5 | 2 | 1 | 1,2 |
| 3. Пустотелые бетонные камни и блоки. Сплошные камни и блоки из бетона М35. Камни и блоки из ячеистого бетона и природного камня | 1,2 | 1,5 | 1 | 1 |
| Примечание. Для кладок всех видов на неотвердевшем растворе или на замороженном растворе в период его оттаивания при зимней кладке, выполненной способом замораживания, принимаются значения x1, указанные в поз. 3 настоящей таблицы. | ||||
4.14. Расчетное сопротивление кладки на смятие Rс следует определять по формуле
Rс = x R; (18)
(19)
где А — расчетная площадь сечения, определяемая согласно указаниям п. 4.16;
x — коэффициент, зависящий от материала кладки и места приложения нагрузки, определяется по табл. 21.
При расчете на смятие кладки с сетчатым армированием расчетное сопротивление кладки Rс принимается в формуле (17) большим из двух значений: Rс, определяемого по формуле (18) для неармированной кладки, или Rс = Rsk, где Rsk — расчетное сопротивление кладки с сетчатым армированием при осевом сжатии, определяемое по формуле (27) или (28).
4.15. При одновременном действии местной (опорные реакции балок, прогонов, перекрытий и т.п.) и основной нагрузок (вес вышележащей кладки и нагрузка, передающаяся на эту кладку) расчет производится раздельно на местную нагрузку и на сумму местной и основной нагрузок, при этом принимаются различные значения x1, согласно табл. 21.
При расчете на сумму местной и основной нагрузок разрешается учитывать только ту часть местной нагрузки, которая будет приложена до загружения площади смятия основной нагрузкой.
Примечание. В случае, когда площадь сечения достаточна для восприятия одной лишь местной нагрузки, но недостаточна для восприятия суммы местной и основной нагрузок, допускается устранять передачу основной нагрузки на площадь смятия путем устройства промежутка или укладки мягкой прокладки над опорным концом прогона, балки или перемычки.
4.16. Расчетная площадь сечения А определяется по следующим правилам:
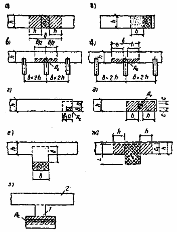
а) при площади смятия, включающей всю толщину стены, в расчетную площадь смятия включаются участки длиной не более толщины стены в каждую сторону от границы местной нагрузки (см. рис. 9,а);
б) при площади смятия, расположенной на краю стены по всей ее толщине, расчетная площадь равна площади смятия, а при расчете на сумму местной и основной нагрузок принимается также расчетная площадь, указанная на рис. 9,б пунктиром;
в) при опирании на стену концов прогонов и балок в расчетную площадь смятия включается площадь сечения стены шириной, равной глубине заделки опорного участка прогона или балки и длиной не более расстояния между осями двух соседних пролетов между балками (рис. 9,в); если расстояние методу балками превышает двойную толщину стены, длина расчетной площади сечения определяется как сумма ширины балки bc и удвоенной толщины стены h (рис. 9,в.);
Рис. 9. Определение расчетных площадей сечений при местном сжатии
а — з — различные случаи местного сжатия
г) при смятии под краевой нагрузкой, приложенной к угловому участку стены, расчетная площадь равна площади смятия, а при расчете на сумму местной и основной нагрузок принимается расчетная площадь, ограниченная на рис. 9,г пунктиром;
д) при площади смятия, расположенной на части длины и ширины сечения, расчетная площадь принимается согласно рис. 9,д. Если площадь смятия расположена вблизи от края сечения, то при расчете на сумму местной и основной нагрузок принимается расчетная площадь сечения, не меньшая, чем определяемая по рис. 9,г, при приложении той же нагрузки к угловому участку стены;
е) при площади смятия, расположенной в пределах пилястры, расчетная площадь равна площади смятия, а при расчете на сумму местной и основной нагрузок принимается расчетная площадь, ограниченная на рис. 9,e пунктиром;
ж) при площади смятия, расположенной в пределах пилястры и части стены или простенка, увеличение расчетной площади по сравнению с площадью смятия следует учитывать только для нагрузки, равнодействующая которой приложена в пределах полки (стены) или же в пределах ребра (пилястры) с эксцентриситетом e0 > 1/6l в сторону стены (где l — длина площади смятия, e0 — эксцентриситет по отношению к оси площади смятия). В этих случаях в расчетную площадь сечения включается, кроме площади смятия, часть площади сечения полки шириной С, равной глубине заделки опорной плиты в кладку стены и длиной в каждую сторону от края плиты не более толщины стены (рис. 9, ж);
з) если сечение имеет сложную форму, не допускается учитывать при определении расчетной площади сечения участки, связь которых с загруженным участком недостаточна для перераспределения давления (участки 1 и 2 на рис. 9, з).
Примечание. Во всех случаях, приведенных на рис. 9, в расчетную площадь сечения А включается площадь смятия Ас.
4.17. При опирании на край кладки изгибаемых элементов (балок, прогонов и т.п.) без распределительных плит или с распределительными плитами, которые могут поворачиваться вместе с концами элемента, длина опорного участка элемента должна приниматься по расчету. При этом плита обеспечивает распределение нагрузки только по своей ширине в направлении, перпендикулярном изгибаемому элементу.
Указания настоящего пункта не распространяются на расчет опор висячих стен, который производится согласно пп. 4.13 и 6.5.
Примечания: 1. При необходимости увеличения площади смятия под опорными плитами следует укладывать на них стальные прокладки, фиксирующие положение опорного давления.
2. Конструктивные требования к участкам кладки, загруженным местными нагрузками, приводятся в пп. 6.40 — 6.43.
ИЗГИБАЕМЫЕ ЭЛЕМЕНТЫ
4.18. Расчет изгибаемых неармированных элементов следует производить по формуле
M £ Rtb W, (20)
где М — расчетный изгибающий момент;
W — момент сопротивления сечения кладки при упругой ее работе;
Rtb — расчетное сопротивление кладки растяжению при изгибе по перевязанному сечению (см. табл. 10 — 12).
Расчет изгибаемых неармированных элементов на поперечную силу следует производить по формуле
Q £ Rtw bz, (21)
где Rtw — расчетное сопротивление кладки главным растягивающим напряжениям при изгибе, по табл. 11 — 13;
b — ширина сечения;
z — плечо внутренней пары сил, для прямоугольного сечения,
Примечание. Проектирование элементов каменных конструкций, работающих на изгиб по неперевязанному сечению, не допускается.
ЦЕНТРАЛЬНО-РАСТЯНУТЫЕ ЭЛЕМЕНТЫ
4.19. Расчет элементов неармированных каменных конструкций на прочность при осевом растяжении следует производить по формуле
N £ Rt An, (22)
где N — расчетная осевая сила при растяжении;
Rt — расчетное сопротивление кладки растяжению, принимаемое по табл. 10 — 12 по перевязанному сечению;
Аn — расчетная площадь сечения нетто.
Примечание. Проектирование элементов каменных конструкций, работающих на осевое растяжение по неперевязанному сечению, не допускается.
СРЕЗ
4.20. Расчет неармированной кладки на срез по горизонтальным неперевязанным швам и перевязанным швам для бутовой кладки следует производить по формуле
Q £ (Rsq + 0,8 nms0) A, (23)
где Rsq — расчетное сопротивление срезу (см. табл. 10);
m — коэффициент трения по шву кладки, принимаемый для кладки из кирпича и камней правильной формы равным 0,7;
s0 — среднее напряжение сжатия при наименьшей расчетной нагрузке, определяемой с коэффициентом перегрузки 0,9;
п — коэффициент, принимаемый равным 1,0 для кладки из полнотелого кирпича и камней и равным 0,5 для кладки из пустотелого кирпича и камней с вертикальными пустотами, а также для кладки из рваного бутового камня;
А — расчетная площадь сечения.
Расчет кладки на срез по перевязанному сечению (по кирпичу или камню) следует производить по формуле (23) без учета обжатия (2-й член формулы 23). Расчетные сопротивления кладки должны приниматься по табл. 11.
При внецентренном сжатии с эксцентриситетами, выходящими за пределы ядра сечения (для прямоугольных сечений e0 > 0,17 h), в расчетную площадь сечения включается только площадь сжатой части сечения Аc.
МНОГОСЛОЙНЫЕ СТЕНЫ (СТЕНЫ ОБЛЕГЧЕННОЙ КЛАДКИ И СТЕНЫ С ОБЛИЦОВКАМИ)
4.21. Отдельные слои многослойных стен должны быть соединены между собой жесткими или гибкими связями (см. пп. 6.30 — 6.31). Жесткие связи должны обеспечивать распределение нагрузки между конструктивными слоями.
4.22. При расчете многослойных стен на прочность различаются два случая:
а) жесткое соединение слоев. Различную прочность и упругие свойства слоев, а также неполное использование прочности их при совместной работе в стене следует учитывать путем приведения площади сечения к материалу основного несущего слоя. Эксцентриситеты всех усилий должны определяться по отношению к оси приведенного сечения;
















