Pravila_technicheskoi_ekspluat_rezervuar ov (524144), страница 28
Текст из файла (страница 28)
после ремонта
3.10.1. Контроль качества сборочных и сварочных работ при ремонте резервуаров проводится в соответствии с требованиями СНиП III-18—75 (разделы 1 и 4).
3.10.2. Контроль выполненных работ осуществляют:
а) внешним осмотром мест и элементов исправления в процессе сборки, сварки резервуаров с измерением сварных швов;
б) испытанием швов на герметичность;
в) проверкой сварных соединений рентгено- и гамма-просвечиванием или другими физическими методами;
г) окончательным испытанием резервуара на прочность, устойчивость и герметичность.
3.1.0.3. Наружному осмотру подвергаются 100 % всех сварных соединений, выполненных при ремонтных работах.
3.10.4. В клепаных резервуарах подвергаются проверке заклепочные соединения в зонах, прилегающих к ремонтируемому участку. Проверку выполняют простукиванием легким молотком по головкам заклепок (качественные заклепки не издают дребезжащего звука), затем проверяют герметичность вакуум-методом.
3.10.5. Сварные соединения по внешнему виду должны удовлетворять требованиям ГОСТ 8713—79, ГОСТ 5264—80, СНиП III-18—75 (см. пп. 1.3.12—1.3.19 части II настоящих Правил).
3.10.6. Все сварные соединения, выполненные в период ремонтных работ, подвергаются 100 %-ному контролю на герметичность вакуум-методом или керосиновой пробой.
3.10.7. Сварные стыковые и нахлесточные соединения стенки, сваренные сплошным швом с наружной стороны и прерывистым с внутренней, проверяют на герметичность путем обильного смачивания их керосином. Контролируемую сторону шва очищают от грязи и ржавчины и окрашивают водной суспензией мела. Окрашенная поверхность должна просохнуть.
Шов смачивают керосином посредством опрыскивания не менее двух раз струёй под давлением из краскопульта, бачка керосинореза или паяльной лампы. Допускается протирать швы 2—3 раза тряпкой, обильно смоченной керосином.
Сварные соединения стенки с днищем проверяют на герметичность вакуумкамерой или керосином. В последнем случае сварное соединение с внутренней стороны резервуара окрашивается водной суспензией мела или каолина и после ее высыхания сварные соединения с наружной стороны опрыскивают керосином. Шов обрабатывают керосином не менее двух раз с перерывом 10 мин.
Испытания на герметичность двусторонних нахлесточных сварных соединений и стыковых швов, сваренных на остающейся подкладке, осуществляются введением керосина под давлением 0,1—0,2 МПа в зазор между листами или подкладкой планкой через специально просверленные отверстия. Отверстия после проведения испытания заваривают. Перед заваркой отверстия пространство между листками должно быть продуто сжатым воздухом.
На поверхности, окрашенной меловым раствором, после смачивания керосином не должно появляться пятен в течение 12 ч, а при температуре ниже 0 °С — в течение 24 ч.
В зимних условиях для ускорения процесса контроля разрешается смачивать сварные соединения керосином, предварительно нагретым до температуры 60—70 °С, в этом случае процесс контроля герметичности сокращается до 1 ч.
3.10.8. Испытание на герметичность сварных соединений днища резервуаров проводится вакуум-методом.
3.10.9. Контролю вакуум-методом подвергают сварные соединения днищ, центральной части плавающей крыши и понтона (нахлесточные и угловые соединения). Контролируемый участок сварного соединения и основного металла шириной до 150 мм с обеих сторон от шва очищают от шлака, масла, грязи и пыли, смачивают индикаторным мыльным раствором (при положительной температуре) или раствором лакричного корня (при отрицательной температуре). Индикаторный раствор, нанесенный на шов, должен быть свободен от пузырьков воздуха. Водный раствор мыла должен применяться только при температуре не ниже —20 °С. Водный же экстракт лакричного корня представляет собой универсальный пенообразующий индикатор как в летнее, так и в зимнее время. Введение в него солей хлористого натрия или хлористого кальция позволяет вести работы по испытанию на герметичность при температуре наружного воздуха до —35 °С. Составы пенных индикаторов в зависимости от времени года приведены в разделе 3 (п. 3.3.8) настоящего Руководства.
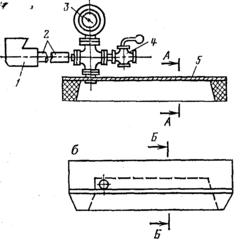
На контролируемый участок плотно устанавливают вакуум-камеру (рис. 5), которую подключают к вакуум-насосу.
Разрежение в камере должно составлять не менее 66,5 кПа для сварных соединений листов толщиной 4 мм и не менее 80,0 кПа для соединений листов большей толщины. Перепад давления контролируют при помощи вакуум-манометра.
При проверке герметичности сварных соединений на поверхности шва, покрытой индикаторным раствором, не должны появляться пузыри.
Б-Б
Рис. 5. Вакуумкамеры для испытания герметичности швов:
а — плоская; б — угловая; 1 — вакуум-насос; 2 —шланг; 3 — вакуум-манометр; 4 —- кран пробковый; 5 — оргстекло; 6 — губчатая резина
В местах сквозных дефектов возникают пульсирующие (лопающиеся, вновь возникающие и снова лопающиеся) пузырьки.
В местах мельчайших сквозных дефектов обнаруживаются скопления мелких нелопающихся пузырьков.
3.10.10. Испытание на герметичность сварных соединений закрытых коробов понтона и плавающих крыш проводят путем нагнетания в них воздуха компрессором до избыточного давления 1 кПа с одновременным смазыванием всех наружных швов мыльным раствором или другим пенным индикатором.
До начала пневматических испытаний необходимо сварные соединения очистить от шлака и загрязнений, проверить соединения простукиванием металла в зоне шва, тщательно осмотреть их и устранить выявленные дефекты.
Герметичность сварных соединений открытых коробов понтона проверяют вакуум-камерой или керосином.
3.10.11. Испытания на герметичность сварных соединений кровли и обвязочного уголка проводят одним из следующих способов: вакуум-камерой, керосином или внутренним избыточным давлением воздуха. При испытании сварных соединений керосином его впрыскивают под давлением во все нахлесточные соединения изнутри резервуара с нижней стороны кровли. При этом сварные соединения кровли с наружной стороны окрашивают водной суспензией мела или каолина.
Испытания сварных соединений кровли сжатым воздухом проводятся путем создания внутреннего избыточного давления при наполнении герметически закрытого резервуара водой до уровня не менее 1 м или посредством нагнетания воздуха компрессором внутрь резервуара, залитого водой на высоту не менее 1 м, до получения в обоих случаях избыточного давления, превышающего эксплуатационное на 10 %, а для резервуаров повышенного давления — на 25 %.
Для регулирования избыточного давления в кровлю резервуара вваривают специальные трубопроводы. Избыточное давление в резервуаре следует контролировать по показаниям водяного манометра во всех случаях, когда вода (или воздух) поступает и когда подача воды (воздуха) прекращена, так как давление в резервуаре может повышаться в результате повышения температуры наружного воздуха или под влиянием нагрева солнечными лучами.
При испытании сжатым воздухом сварные соединения кровли снаружи смачивают мыльным раствором или другим пенным индикатором.
Примечания: 1. Контроль швов кровли в зимних условиях рекомендуется проводить керосиновой пробой.
2. В резервуарах повышенного давления конструкций (типа ДИСИ и «Гибрид») в процессе испытания герметичности кровли на избыточное давление необходимо при достижении эксплуатационного давления проявлять осторожность (медленно повышать давление) во избежание потери устойчивости торцовой части.
3.10.12. Обнаруженные в процессе испытания на герметичность дефекты в сварных соединениях отмечают мелом или краской, удаляют на длину дефектного места плюс 15 мм с каждого конца и заваривают вновь.
Исправленные дефекты в сварных соединениях должны быть вновь подвергнуты повторному контролю на герметичность. Исправлять одно и то же дефектное место разрешается не более двух раз.
Примечания: 1. Исправление негерметичных сварных соединений зачеканкой запрещается.
2. Обнаруженные дефекты в сварных соединениях кровли резервуара (неповышенного давления) устраняют повторной подваркой без удаления дефектных участков.
3.10.13. Отремонтированные участки сварных стыковых соединений окраек днища и вертикальных стыковых соединений первого пояса и 50 % соединений второго, третьего и четвертого поясов (преимущественно в местах пересечений этих соединений с горизонтальными) резервуаров вместимостью 2000 м3 и более подвергаются контролю просвечиванием (рентгено- или радиографированием). Оценка качества сварных соединений по данным просвечивания осуществляется в соответствии с требованиями ГОСТ 7512—82. Швы сварных соединений. Методы контроля просвечиванием проникающими излучениями.
Примечания: 1. Просвечивание осуществляется до гидравлического испытания резервуара.
2. Допускается контроль швов ультразвуковым методом с последующим просвечиванием дефектных и сомнительных мест.
3. В резервуарах вместимостью до 1000 м3 с разрешения главного инженера предприятия допускается контроль качества сварных швов керосином.
4. Сварные соединения двух нижних поясов стенки резервуаров вместимостью 2000 м3 и более, изготовленных из кипящей стали, после среднего или капитального ремонта должны подвергаться 100%-ному контролю просвечиванием.
3.10.14. Если при просвечивании будут обнаружены недопустимые дефекты, то необходимо выявить границы дефектного участка путем дополнительного контроля вблизи мест с выявленными дефектами. Если при дополнительном контроле будут также обнаружены недопустимые дефекты, то контролю подвергаются все сварные соединения.
Выявленные дефектные сварные соединения или их участки должны быть исправлены и вновь проварены.
3.10.15. Окончательные испытания резервуара на прочность, устойчивость и герметичность проводят в случае среднего или капитального ремонта основания, днища, окрайков, стенки, покрытия и анкерных устройств (за исключением работ по герметизации и устранению мелких дефектов отдельных мест кровли, днища и верхних поясов стенки) посредством заполнения резервуара водой на полную высоту и создания соответствующего избыточного давления и вакуума в соответствии с требованиям СНиП III-18—75 Инструкции по изготовлению и монтажу вертикальных цилиндрических резервуаров ВСН 311-81 ММСС СССР.
3.10.16. B процессе испытания ведется наблюдение за появлением возможных дефектов в отремонтированных местах (в стыковых соединениях стенки, сопряжении стенки с днищем и других ответственных соединениях).
Если в процессе испытания по истечении 24 ч на поверхности стенки резервуара или по краям днища не появятся течи и если уровень не будет снижаться, то резервуар считается выдержавшим гидравлическое испытание.
3.10.17.После окончания гидравлического испытания резервуара и спуска воды для проверки качества отремонтированного основания (равномерность осадки) проводится нивелирная съемка по периметру резервуара не менее чем в восьми точках и не реже чем через 6 м.
3.10.18. Контроль геометрической формы стенки после исправления значительных выпучин и вмятин осуществляется путем измерения отклонения середины и верха каждого пояса по отношению к вертикали, проведенной из нижней точки первого пояса в местах исправлений. Измерения отклонений стенки резервуара от вертикали при наполнении его до расчетного уровня проводят по отвесу, геодезическими и другими способами.
3.10.19. Качество ремонта металлического понтона (плавающей крыши) и уплотняющего затвора проверяют путем подъема и опускания понтона при заполнении резервуара водой.
При подъеме и опускании понтона (плавающей крыши) ведется контроль за работой уплотняющего затвора с целью выявления возможного заклинивания, неплотного прилегания, перекосов и неплавного его хода.
Места дефектов фиксируют и устраняют.
3.10.20. После выполнения комплекса окончательных испытаний и при отсутствии дефектов в виде свищей, трещин, вмятин или значительных деформаций, превышающих допустимые согласно СНиП III-18—75, испытание считается законченным и в установленном порядке составляется акт о сдаче резервуара в эксплуатацию.















