Диффузия_в пп (1245596)
Текст из файла
Термическая диффузия примеси
Физические основы процесса. Целью проведения диффузии является внедрение атомов легирующего элемента в кристаллическую решетку полупроводника для образования области с противоположным по отношению к исходному материалу типом проводимости.
При этом вновь образованная область оказывается ограниченной p–n-переходом.
Количество введенной примеси должно быть достаточным для компенсации влияния примеси в исходном материале. p–n-переход образуется на глубине
где концентрация введенной примеси оказывается равной концентрации исходной примеси
рис.1
Рис.1 . Термическая диффузия примесей
Для получения областей p-типа (дырочная проводимость) используют элементы III группы таблицы Менделеева – B, In, Ga, во внешней электронной оболочке которых недостает одного валентного электрона для создания ковалентной связи с атомом
4-валентного Si. Эти элементы называют акцепторными примесями.
Для получения областей n-типа (электронная проводимость) используют элементы V группы таблицы Менделеева – P, As, Sb, имеющие избыточный валентный электрон по сравнению с Si. Эти элементы называют донорными примесями.
Процессы диффузии описываются I и II законами Фика.
Первый закон Фика устанавливает связь между плотностью потока атомов и градиентом концентрации легирующего вещества. В одномерном приближении (в направлении x).
где
– плотность потока атомов примеси;
– концентрация атомов примеси;
– коэффициент диффузии.
Знак «минус» указывает, что движение вещества происходит в направлении уменьшения его концентрации.
Коэффициент диффузии
численно равен количеству примесных атомов, проходящих через площадку в 1 см2 за 1 с при градиенте концентрации, равном 1 см–4.
Коэффициент диффузии зависит от температуры, согласно уравнению Аррениуса:
где
– абсолютная температура;
– энергия активации примеси (для B – 3,7 эВ, для P – 4,4 эВ);
– постоянная Больцмана
равна отношению газовой постоянной
к числу Авогадро
– число атомов (молекул) в грамм-атоме (грамм-молекуле) вещества);
– коэффициент, зависящий от рода полупроводника, типа диффундирующей примеси, кристаллографического направления и концентрации примеси в исходном материале.
Диффузионный профиль и II закон Фика. Рассмотрим площадь в 1 см2 толщиной
Очевидно, что изменение числа атомов примеси в элементарном объеме за время
должно быть равно изменению плотности потока на интервале
за то же самое время, т. е.
или
– второй закон Фика.
Второй закон Фика описывает нестационарный процесс диффузии и выражает изменение концентрации диффузионного вещества в различных точках пространства, как функцию времени.
Другими словами, второй закон Фика определяет скорость накопления растворенной примеси в любой плоскости, перпендикулярной направлению диффузии.
Диффузия из неограниченного источника
при любом времени
Решение дифференциального уравнения в этом случае имеет вид:
г
де
– функция ошибок;
– дополнительная функция ошибок;
Нас будет интересовать доза легирования
т. е. число атомов примеси, введенных через поверхность с
за все время процесса диффузии.
Ответ на этот вопрос можно получить на основании I закона Фика.
Если принять во внимание, что
то, интегрируя это выражение во времени, получим:
Диффузию из неограниченного источника называют также операцией загонки.
Другим случаем решения дифференциального уравнения II закона Фика является диффузия из ограниченного источника. В этом случае граничное условие запишется как
а решение уравнения имеет вид:
Этот тип диффузии также называют разгонкой.
В результате загонки образуется тонкий приповерхностный слой, насыщенный примесью.
Разгонка используется для окончательного формирования диффузионного профиля.
РАСЧЁТ ПАРАМЕТРОВ ДИФФУЗИИ ПРИ ФОРМИРОВАНИИ РАБОЧИХ ОБЛАСТЕЙ ТРАНЗИСТОРА
-
Расчёт параметров диффузии при формировании р – кармана
Расчет дан на примере одного варианта данных. Поскольку р-карман рис.2 имеет невысокую поверхностную концентрацию и значительную глубину, то для его формирования используется двухстадийный процесс термической диффузии.
Исходные данные:
| Толщина области p-кармана | xп= 2.4 мкм |
| Концентрация примеси p-кармана | Ν0 = 4*1016 см-3 |
| Концентрация примеси в подложке | Nисх= Nподл= 2*1015 см-3 |
Расчёт параметров разгонки:
Произведение коэффициента диффузии на время разгонки вычисляется по формуле:
=4.81*10-9 см2
Необходимо задать значение поверхностной концентрации примеси N○з из условия N0< N○з < Nпред. Поскольку в данном случае примесью является бор, то Nпред = 3*1020 см-3. Значит 4*1016 < N○з < 3*1020 см-3 и согласно исходным данным выбирается значение N○з = 3·1018 см-3.
Задавшись температурой разгонки t°р = (1000…1200)°C (Согласно исходным данным = 1100°С), по графику рис. 2 D = f(t°, N○з , Nисх ), определим Dр = 10-13 см2/с.)
Время разгонки вычисляется по формуле:
= 801.67 мин
Необходимая доза легирования вычисляется по формуле:
= 4.92 см-2
Расчёт параметров загонки:
Произведение коэффициента диффузии на время загонки вычисляется по формуле:
= 2.11*10-12 см2
Задавшись температурой загонки согласно исходным данным 950 град С, по графику рис.2 определяем Dз = 2*10-15 см2/с.
Время загонки вычисляется по формуле:
= 17.58 мин
Рис.2 Температурная зависимость коэффициента диффузии фосфора и бора в кремний.
Nисх и N0 исходная и поверхностная концентрации примесей, см-3
1.2. Расчёт параметров диффузии при формировании р+ областей (областей стока и истока p-канального транзистора)
Поскольку р+ - области имеют высокую поверхностную концентрацию и малую глубину, то для их формирования применим одностадийный процесс термической диффузии.
Исходные данные:
| Толщина областей стока и истока p-канального транзистора | Xp+ = 1.9 мкм |
| Концентрация примеси истока и стока p-канального транзистора | N0= 3*1020 см-3 |
| Концентрация примеси в подложке | Nисх = Nподл = 2*1015 см-3 |
Расчёт параметров загонки:
Значение функции ошибок определяется по формуле:
= 6.67*10-6
По таблице значений функции erfc(V) (таблица №1), определяется V = 3.2 (выбирается ближайшее значение)
Произведение коэффициента диффузии на время диффузии вычисляется по формуле:
= 8.81*10-10 см2
Задавшись температурой легирования t° = (1000…1200)°C, согласно исходным данным = 1200°С, по графику D = f(t°, N○з , Nисх ) (рис. 2), определим
D = 2·10-12 см2/с.
Таблица №1 Значения функции erfc(V)
Время диффузии вычисляется по формуле:
=7.34 мин
1.3. Расчёт параметров диффузии при формировании n+ областей (областей стока и истока n-канального транзистора)
Поскольку n+ - области имеют высокую поверхностную концентрацию и малую глубину, то для их формирования применим одностадийный процесс термической диффузии.
Исходные данные:
| Толщина областей стока и истока n-канального транзистора | Xn+ = 1.9 мкм |
| Концентрация примеси истока и стока n-канального транзистора | N0= 8*1020 см-3 |
Так как области стока и истока n-канального транзистора формируются в p-кармане, то исходной концентрацией примеси является концентрация, полученная после диффузии p-кармана. Еѐ можно рассчитать по формуле:
= 6.13*1015 см-3
Расчёт параметров загонки:
Значение функции ошибок определяется по формуле:
= 7.66*10-6
По таблице значений функции erfc(V) (таблица №1), определяется V = 3.2 (выбирается ближайшее значение). Произведение коэффициента диффузии на время диффузии вычисляется по формуле:
= 8.81*10-10 см2
Задавшись температурой легирования t°= (1000…1200)°C согласно исходным данным = 1200°С, по графику D = f(t°, N○з , Nисх ) (рис.2), определяем D = 2·10-12см2/с.)
Время диффузии вычисляется по формуле:
= 7.34 мин
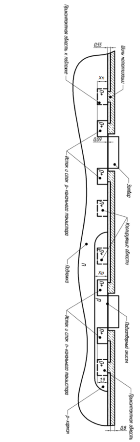
Таким образом, мы получили основные технологические параметры для проведения процессов диффузии при изготовлении n-канального полевого транзистора
Рис.2. Структура p-канального и n-канального Комплементарного МДП транзистора
Характеристики
Тип файла документ
Документы такого типа открываются такими программами, как Microsoft Office Word на компьютерах Windows, Apple Pages на компьютерах Mac, Open Office - бесплатная альтернатива на различных платформах, в том числе Linux. Наиболее простым и современным решением будут Google документы, так как открываются онлайн без скачивания прямо в браузере на любой платформе. Существуют российские качественные аналоги, например от Яндекса.
Будьте внимательны на мобильных устройствах, так как там используются упрощённый функционал даже в официальном приложении от Microsoft, поэтому для просмотра скачивайте PDF-версию. А если нужно редактировать файл, то используйте оригинальный файл.
Файлы такого типа обычно разбиты на страницы, а текст может быть форматированным (жирный, курсив, выбор шрифта, таблицы и т.п.), а также в него можно добавлять изображения. Формат идеально подходит для рефератов, докладов и РПЗ курсовых проектов, которые необходимо распечатать. Кстати перед печатью также сохраняйте файл в PDF, так как принтер может начудить со шрифтами.
















