Астафьев АВ (1236015), страница 4
Текст из файла (страница 4)
2.2 Расчет параметров ковша.
Емкость ковша определяется по формуле:
, (2.1)
где
– средняя ширина ковша;
- площадь осевого сечения.
Площадь осевого сечения определяется:
. (2.2)
Раскрывая значения уравнения и подставляя его в формулу [1]:
(2.3)
где
;
[4]
(2.5)
(2.6)
Рисунок 2.2 – Схема к определению объема ковша
Контур поперечного сечения описывается выражениями:
- участок OA
(2.7)
- участок AB
(2.8)
- участок BE
(2.9)
где
;
(2.10])
Совместное решение уравнений [8] и [9] позволяет найти абсциссу точки B:
(2.11)
Соотношение между высотой ковша и его глубиной может быть определено:
(2.12)
Совместное решение уравнений (2.3), (2.11), (2.12] позволяет найти
,
,
:
мм;
мм;
мм.
;
=4,04.
Исходя из принятой ширины зубьев
=80 мм., определяется их количество на режущей кромке:
(2.13)
Затем определяется фактическое расстояние между зубьями:
(2.14)
мм.
Длину рабочей поверхности зуба определяют, согласно зависимости:
(2.15)
где
- угол резания, равный 45º
- угол наклона боковой поверхности прорези грунта, равный 30÷45º
мм.
Тогда длина рабочей части зуба по его оси:
(2.16)
где
=25º - угол заострения зуба.
мм.
Рисунок 2.3 – Схема к определению параметров стружки
В настоящее время практически на всех гидравлических экскаваторах с оборудованием обратной лопаты устанавливают ковши, имеющие возможность поворота относительно рукояти. Поворот ковша относительно рукояти позволяет повысить точность выгрузки грунта в транспортное средство и отвал, улучшает наполнение ковша, обеспечивает более эффективную отрывку котлованов с вертикальными стенками.
Данный гидравлический экскаватор оборудован обратной лопатой, имеющую возможность поворота относительно рукояти.
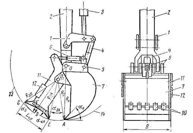
Рисунок 2.4 – Ковш с челюстным захватом
В результате выполненных экспериментальных исследований и кинематического анализа по обработке рациональных параметров многоцелевого рабочего органа экскаватора разработан вариант конструктивного решения рабочего органа (челюстного ковша-схвата) с соблюдением оптимальных геометрических и кинематических параметров .
Таблица 2.2 – Параметры ковша
| Радиус, м: ковша с примкнутой челюстью | Rкч | | 1,15 |
| ковша без челюсти | Rк | | 1,05 |
| ножа челюсти | Rчн | | 1,05 |
| зубьев челюсти | Rчз | | 0,86 |
| Ширина ковша, | B | | 0,8 |
| Длина днища челюсти, м: для ковша вместимостью 0,25 — 0,4 м3 то же, 0,5 — 0,65 м3 | Lч | | 0,53 |
| Длина кронштейна крепления челюсти, м: для ковша вместимостью 0,25 — 0,4 м3 | А | | 0,684 |
| Угол установки кронштейна, град | β | - | 78-82 |
| Максимальный угол раскрытия челюсти, град | αзх | - | 105-110 |
| Угол резания, град: зубьев челюсти | αчз | - | 42-45 |
| ножа челюсти | αчн | - | 40-42 |
| ножа ковша | αк | - | 42-45 |
| зубьев ковша | αкч | 42-45 |
Примечания: Rз(O1А)= Rчл(O1Е); Rчл(O1Е) > Rзп(O1С), Rзч(OD) > Rк(OА). Точка D определяется построением при закрытой челюсти
2.3 Определение сопротивления копанию.
Сопротивление копанию, согласно исследованиям Зеленина А.Н.:
(2.17)
где
- расчетное число ударов плотномера ДорНИИ (
);
- ширина режущей кромки ковша, м;
- максимальная толщина стружки, см;
- угол резания, равный 45º;
– коэффициент, учитывающий расстановку зубьев;
- сечение стружки;
– коэффициент сжатия стружки;
- коэффициент, учитывающий возрастание
в зависимости от высоты пригружающего слоя грунта;
- ускорение свободного падения;
– вместимость ковша;
- объемный вес грунта;
- коэффициент трения грунта по грунту.
Согласно графику
=0,77. Тогда, принимая максимальное значение толщины стружки, равное 25 см.:
Н.
2.4 Определение основных параметров экскаватора.
Для предварительного определения параметров экскаватора вполне можно использовать зависимости, получение на основании аналитических и экспериментальных исследований, статистических материалов и законов подобия. Эти зависимости имеют вид:
, (2.18)
где
,
,
,
,
,
,
- соответственно емкость ковша, м3; вес,т; продолжительность цикла, с; линейные размеры, м; мощность, л.с.; усилия, т; скорости рабочих движений, м/с, для проектируемой машины; те же параметры с индексом 2 – для существующей машины аналогичной конструкции.
Существует ряд статистических зависимостей, которыми также можно пользоваться при определении некоторых параметров:
-
Усилие на зубьях ковша:
тс -
Максимальный радиус копания:
м -
Радиус на уровне выгрузки:
м -
Глубина копания:
м -
Максимальная высота выгрузки:
м -
Вес экскаватора:
т -
Продольная база ходовой тележки:
м -
Поперечная база ходовой тележки:
м -
Радиус поворотной платформы:
м -
Длина стрелы обратной лопаты:
м -
Длина рукояти обратной лопаты:
м -
Мощность силовой установки:
кВт
Скорость передвижения назначается 2,5 км/ч.
Среднее давление – 80 кПа.
2.5 Определение производительности экскаватора.
Техническую производительность определяют согласно зависимости:
(2.19)
где
- ёмкость ковша, м3;
- коэффициент наполнения ковша (
;
- коэффициент разрыхления грунта (
;
- время рабочего цикла, с (
).
м3/ч
Эксплуатационную производительность определяют за смену, месяц или год по формуле:
(2.20)
где
- техническая производительность, м3/ч;
- длительность периода работы в смену, ч (
);
- коэффициент внутрисменного использования времени (
).
2.6 Расчет гидромеханизма поворота ковша.
В расчет данного механизма входит определение линейных размеров его элементов и подбор исполнительного гидроцилиндра.
Радиус шарнира ковша рекомендуется принимать
м при объёме q=0,4 м3.
Для обеспечения соотношения угла поворота ковша
к углу поворота ковша
порядка 1,3÷1,5 рекомендуются следующие значения величин:
;
(2.21)
;
Минимальный угол между ковшом и рукоятью
.
Максимальный момент обеспечивается тогда, когда углы давления штока гидроцилиндра на кривошип
и тяги на шарнир ковша
будут равны нулю, т.е.:
(2.22)
Из условия равенства моментов относительно т. О имеется:
(2.23)
Откуда находится усилие
в тяге AB:
(2.24)
кН
кН
Исходя из равновесия кривошипа относительно т.
и при условии равенства
и
, можно определить предварительно необходимое усилие
в гидроцилиндре:
(2.24)
И внутренний диаметр цилиндра:
(2.25)
где
- максимальное давление в гидросистеме, МПа.
Угол
определяется по формуле:
(2.26)
мм
В соответствии с ГОСТ 6540-68 принимается цилиндр диаметром 63 мм.
Затем из диаметра
определяется
:
(2.27)
мм=0,78 м
Для обеспечения удобства при работе экскаватора необходимо, чтобы полный угол поворота ковша составлял:
Рисунок 2.5 - Схема гидромеханизма ковша обратной лопаты.
2.7 Расчет гидромеханизма поворота рукояти.
Механизм должен создавать в конце копания максимальный крутящий момент
, равный моменту внешней нагрузки
или превышающий его.
, (2.29)
где
- диаметр поршня гидроцилиндра поворота рукояти;
- радиус кривошипа рукояти;
- максимальное давление в гидросистеме;
- угол давления гидроцилиндра на кривошип.
Рисунок 2.6 – Схема для определения геометрических размеров
гидромеханизма поворота рукояти.
Внешний момент сопротивления
при копании рукоятью складывается из момента сопротивления копанию
и момента от действия сил тяжести ковша с грунтом
, рукояти
и гидроцилиндра ковша
.
тс
м
м
м
м
т
м
м
м
м
м
кВт
















