Астафьев АВ (1236015), страница 2
Текст из файла (страница 2)
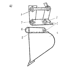
Относительно рукояти ковши могут быть поворотными и неповоротными (рисунок 1.4, б). Поворотный ковш может изменять свое положение относительно рукояти для установки требуемого угла резания, а также для выгрузки грунта с помощью гидродилиндра 4 коромысла 7 и тяги 6. Неповоротные ковши устанавливают на рукояти с постоянным углом резания, который может быть изменен заменой тяги 10 соответствующей длины. В нижней части корпуса ковша на шарнире 11 установлено откидывающееся днище 13, закрываемое подпружиненной щеколдой 15. Для разгрузки грунта посредством гидроцилиндра 9 через рычаг 12 и цепь 14 щеколду выдергивают из гнезда на корпусе, после чего днище открывается под действием собственной силы тяжести. Захлопывается днище автоматически при опускании ковша в нижнее положение для начала копания. На некоторых моделях устанавливают также челюстные ковши, состоящие из шарнирно соединенных между собой двух челюстей - корпуса 18 и днища 17. В режиме копания и транспортирования грунта челюсти сомкнуты, а для разгрузки грунта они размыкаются гидроцилиндром 16, вмонтированным в днище ковша.
Экскаватор с рабочим оборудованием прямая лопата разрабатывает грунт движением ковша снизу (от уровня стоянки экскаватора) вверх (до верхнего обреза забоя). Максимальная кинематическая высота копания реализуется лишь в случае маневровых движений. Из-за опасности обрушения грунта из образующихся навесов (козырьков) копать на этой высоте нельзя. При копании на максимальном вылете ковша козырьки образуются уже начиная с высоты оси пяты стрелы. Соблюдая требования безопасности, высоту забоя можно довести до 2/3 максимальной кинематической высоты.
а- прямая лопата; неповоротный -б и челюстной -в ковш
Рисунок 1.4 - Гидравлические одноковшовые экскаваторы с рабочим оборудованием.
а — по типу ходового устройства, б — по подвеске рабочего оборудования; I — гусеничный, II — гусеничный с увеличенной поверхностью гусениц, III — пневмоколесный, IV — на специальном шасси, V — на базе трактора, VI—с гибкой подвеской, VII— с жесткой подвеской
Рисунок 1.5 - Классификация экскаваторов
1.2 Многоцелевое рабочее оборудование одноковшовых гидравлических экскаваторов
Наличие объемного гидропривода на одноковшовых экскаваторах приводит к существенному улучшению их эксплуатационных свойств, позволяет увеличить число степеней свободы рабочего оборудования обратной лопаты и область применения машин. Гидравлический привод каждого механизма повышает маневренность оборудования и позволяет выполнять земляные работы, которые не могут быть осуществлены экскаваторами с механическим приводом.
Экскаваторы с механическим и электрическим приводами оснащены четырьмя-пятью видами сменного рабочего оборудования. Гидравлические экскаваторы могут иметь практически неограниченное число сменного оборудования. Появляется возможность выполнять самые разнообразные земляные работы (включая планировочные и зачистные), вести разработку котлованов с отвесными стенками, осуществлять рытье колодцев и ям, погрузку и разгрузку различных кусковых и сыпучих материалов в стесненных условиях, взламывать дорожное покрытие при ремонте и корку мерзлого грунта. Гидравлический строительный экскаватор оснащают также оборудованием для монтажа конструкций и укладки труб, бурения грунтов и выполнения целого ряда других работ.
Установку сменных рабочих органов требуется производить за короткие промежутки времени, используя минимальное количество соединительных звеньев. Необходимо увеличение количества видов сменного оборудования и рабочих органов, а также обеспечение возможности изменения зоны их действия.
Выпуск нетрадиционных видов сменного рабочего оборудования и рабочих органов, как одна из тенденции последних лет, вызван необходимостью полнее использовать возможности гидравлических экскаваторов. Заслуживает внимания конструкция бетонолома, предназначенного для взламывания дорожного покрытия при ремонте.
Получает распространение сменное оборудование к экскаватору для захвата и погрузки на транспортное средство бревен диаметром до 1,5 м и длиной до 11 м. В настоящее время более 30 моделей полноповоротных гидравлических экскаваторов выпускается с телескопическим рабочим оборудованием. Многообразие конструкций этих машин объясняется стремлением изготовителем создать машину, не только удовлетворяющую требованиям производства, но и обеспечивающую высокие технико-экономические показатели при зачистных, планировочных и других работ. Сменные рабочие органы, устанавливаемые на экскаваторах-планировщиках, различны по назначению. Их номенклатура превышает 30 наименований.
Использование машины многоцелевого назначения вместо нескольких специализированных машин является одной из важнейших тенденций строительного производства. Получают развитие экскаваторы, в конструкции которых проявляется реализация ряда важных особенностей.
Замена одного рабочего органа другим в традиционных конструкциях отнимает значительное время. Монтаж и демонтаж оборудования выполняется вручную с обязательным привлечением подсобного рабочего. Разработано немало решений, направленных на усовершенствование узлов соединения рабочих органов (в частности ковшей) со стреловым оборудованием с целью сокращения времени и ручного труда при замене рабочих органов.
Широко распространены в современной технике конструкции навесных рабочих органов и приспособлений различного технологического назначения, которые монтируются непосредственно на ковшах экскаваторов. Например, рабочий орган экскаватора для устройства траншей с последующей укладкой труб и других элементов подземных коммуникаций. Рабочий орган содержит ковш с дренажными отверстиями на корпусе и грузоподъемный узел, смонтированный на ковше. Грузоподъемный узел выполнен из установленных на режущей кромке ковша скобообразных насадок и гибких тяг, которые прикреплены к насадкам, пропущены через дренажные отверстия и соединены с корпусом ковша.
Разработана конструкция универсального съемного грузозахватного устройства к ковшам гидравлических экскаваторов ЭО-3322, ЭО-4321, ЭО-5015А. Устройство обеспечивает плавность выполнения наводочных операций без затирания стропов о ковш и позволяет осуществлять подъем объемных элементов с помощью многоветвевых строп.
Увеличение времени на производительные затраты на замену рабочих органов и необходимость более частой замены вследствие расширения их номенклатуры потребовало создания конструкций, позволяющих производить быструю перестановку сменных рабочих органов. Эти операции предусматривается выполнять без использования ручного труда или с минимальными ручными работами.
Перспективным направлением развития строительного и дорожного машиностроения является создание дорожных и строительных машин с многоцелевыми адаптирующими рабочими органами и рабочими органами типа «манипулятор».
В дорожном строительстве целесообразно использовать устройства, в которых ковшовый рабочий орган смонтирован на стреловом оборудовании совместно с другими рабочими органами. Это позволяет производить без перемонтажа и другие работы, помимо экскаваторных.
В условиях дорожного строительства выгодно применять навесной комбинированный рабочий орган, состоящий из экскаваторного оборудования обратной лопаты и грунтоуплотняющего катка, который может быть использован по назначению при: откидном ковше. Конструкция подвески катка и рукоятки может быть использована для присоединения, например, молота, рыхлителя и т. д. На экскаваторах предусматривают шарнирное закрепление ковша так, чтобы он был на стреле связан с помощью двух параллельных тяг с механизмом поворота ковша.. Между тягами на общем с ним крепежном пальце расположен рыхлитель, шарнирно прикрепленный к задней стенке ковша. Форма верхней части рыхлителя, прилегающей к ковшу, не допускает его вращения вокруг крепежного пальца. Рабочий орган экскаватора может состоять из .ковша с шарнирно закрепленным на нем рыхлителем. Ковш оборудован в качестве грузоподъемного органа, рыхлитель выполнен с фигурным пазом. Среди комбинированных рабочих органов землеройных машин особое место занимают ковшовые адаптирующиеся рабочие органы, которые выполняются из отдельных, имеющих привод, частей, обеспечивающих в зависимости от видов работ требуемое преобразование конструкции рабочего органа в соответствующий функциональный тип.
Создается экскаваторное оборудование, которое может выполнять как разработку грунтов с крупногабаритными каменистыми включениями, так и погрузочные работы, связанные с перемещением лесоматериалов.
Оригинальна конструкция экскаваторного оборудования, предусматривающая разработку прочных грунтов за счет выполнения задней стенки ковша с проемом для установки в ней рыхлителей и особой связи ковша и рыхлителя с рукоятью, Ковш в процессе работы рыхлителем может располагаться с тыльной или передней стороны относительно рыхлителя. Это позволяет производить рыхление и экскавацию грунтов в стесненных условиях.
При использовании землеройного оборудования на грузозахватных операциях большой интерес представляют двухчелюстные рабочие органы.
Рабочее оборудование гидравлических экскаваторов в зависимости от конструкции подразделяют на специализированные— для выполнения одной типовой операции; совмещенные при установке на одной платформе двух и более комплектов оборудования; трансформируемые — оборудованное автоматическим захватом и комплектом сменных рабочих органов; адаптируемые — оснащенное многоцелевым рабочим органом, без замены которого можно выполнять ряд технологических операции и осуществлять захват и манипулирование другими рабочими органами .
Ожидают преимущественного развития адаптируемого рабочего оборудования. Меньше проявляется тенденция расширения номенклатуры традиционного и совмещенного рабочего оборудования. Трансформируемое рабочее оборудование достигло на современном этапе, в основном, максимального насыщения.
Для выполнения операций с плотными волокнистыми массами, металлоломом и подобными материалами используют рабочее оборудование экскаватора (рисунок 1.6, а), которое включает челюстной захват, состоящий из внутренней 4 и наружной 3 челюстей, установленных на рукояти 1 и управляемых гидроцилиндром 2.
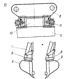
Нетрадиционные виды сменного рабочего оборудования и рабочих органов позволяют более полно использовать возможности гидравлических экскаваторов. Для быстрой замены рабочих органов разработаны различные устройства. Устройство фирмы «Катерпиллер» США типично (рисунок 1.6, а) и состоит из шарнирно соединенной с рукоятью 1 рамки 2, которая вводится между параллельными щеками 5, смонтированными на задней стенке 4 ковша, кольцевыми выступами 7 в зевообразные вырезы 6 до смещения пазов 3.. Щеки и рамка фиксируются поперечной пластиной, вставляемой; в совмещенные пазы.
Для обеспечения возможности копания как при обратном, так и при прямом ходе ковша предусматривается соединение рабочих органов с рукоятью стрелового оборудования такое, которое обеспечивает смену вида рабочего органа за счет изменения его положения. Таковым является рабочее оборудование одноковшового экскаватора (рисунок 1.6,б), которое содержит опорную плиту 8, соединенную с рукоятью и тягами управления. Для ускорения и удобства замены одного рабочего органа, другим рукоять соединена с ковшом 9 посредством шарнира; вращения 10 и фиксирующего приспособления 11.
На рукояти экскаватора могут быть закреплены несколько дополнительных упоров с расстояниями между их опорными поверхностями близкими к радиусу резания ковша, тогда разработка мерзлого грунта будет осуществляться в несколько этапов (по количеству упоров). Наибольшая эффективность использования такого оборудования в зимнее время достигается при разработке мерзлых грунтов глубиной промерзания более 1,3 м.
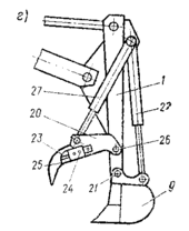
Разработаны различные органы адаптируемого типа. С помощью рабочего оборудования экскаватора (рисунок 1.6, г) наряду с экскавационными работами выполняют скалывание мерзлого грунта, перенос предметов больших размеров. Оборудование состоит из рукояти 1, ковша 9 и поворотной рамы 20, посредством шарнира прикрепленной к рукояти. Ковш 9 соединен с рукоятью 1 шарниром 21. Привод ковша и поворотной, рамы выполнен в виде гидроцилиндров 22 и 27. На поперечной балке рамы, в средней ее части выполнен карман, в котором установлен режущий зуб 23. Кроме того, на торцах поперечной балки предусмотрены сквозные карманы 24, в которых установлены зубцы 25. Рама крепится к рукояти шарниром 26. Во время рыхления ковш упирается в стенку забоя, а рама под действием гидроцилиндра 27 поворачивается.
Режущий зуб 23 начинает скалывание пласта, по мере поворота рамы начинают внедряться боковые зубцы 25, способствующие отделению пласта. Перенос негабаритных грузов осуществляется путем фиксирования их между зубом 23 и ковшом 9, а удержание — с: помощью гидроцилиндров 27.
















