Астафьев АВ (1236015), страница 3
Текст из файла (страница 3)
Рисунок 1.6 - Сменное трансформируемое (а) и адаптируемое (б-е) рабочее оборудование гидравлических одноковшовых экскаваторов
Конструкция экскаваторного оборудования с челюстным захватом (рисунок 1.6, д) помимо традиционной ковшовой части 9 имеет дополнительную поворотную челюсть 28 с передней режущей кромкой в виде зубьев 29 и задним прямолинейным ножом 30. Поворотная челюсть схватывает основную ковшовую часть, увеличивая вместимость ковша. Такой ковш может быть использован как грейфер для захвата грузов и манипулирования ими.
Для расширения технологических возможностей экскаватора создано рабочее оборудование (рисунок 1.6,е), включающее ковш, состоящий из передней 28 и задней 31 челюстей, гидроцилиндров 32 управления передней челюстью 28. Задняя челюсть 31 рычагом 33 со взаимно перпендикулярными осями шарниров-соединена с рукоятью. Двухзвенник состоит из рычага 33 и: Т-образной тяги с горизонтальной полкой, концы которой связаны с двумя спаренными гндроцилиндрами привода ковша.. Ковш может поворачиваться в плоскости, перпендикулярной продольной оси рабочего оборудования, в обе стороны, что необходимо при выполнении погрузочно-разгрузочных работ, а также установке бордюрных камней или укладке труб, разборке завалов на строительных площадках и т. п.
Разработанные конструкции двухчелюстных ковшей позволяют производить рытье траншей по принципу грейфера или прямой лопаты без специального монтажного переоборудования ковша. Оснащение одноковшовых экскаваторов многоцелевым рабочим оборудованием и автоматизированное управление ими от бортовой электронной машины позволяет рассматривать такие агрегаты как машины, оборудованные манипуляторами.
В отрасли строительного, дорожного и коммунального машиностроения разработаны строительные манипуляторы на базе экскаваторов 3, 4 и 5-й размерных групп, бортовые краны-манипуляторы грузоподъемностью 6, 3, 10 и 16 т на базе автомобиля, манипуляторы для технологических операций в производстве строительных материалов, краны-роботы для сборного домостроения, манипуляторы для лесозаготовительных работ /6/. Разработаны экспериментальные строительные манипуляторы Ml и М2 на базе пневмоколесных одноковшовых экскаваторов с гидроприводом.
Землеройно-манипуляторное оборудование (ЗМО) на базе экскаватора ЭО-3322Б разработано СКВ «Строймеханизация» (рисунок 1.7, а). Ковш имеет челюстной захват и обеспечивает ротацию захваченного груза.
а — с ротацией ковша конструкции СКВ Строймеханизация; б — конструкции Ml НПО форма ВНИИСтройдормаш; в — конструкции М2 НПО Ленстройробот; 1 — поворотная платформа; 2— стрела; 3 — рукоять; 4 — поворотная рама; 5 — механизм вращения ковша; 6— задняя челюсть ковша; 7 — передняя часть ковша; 8 — головная часть стрелы: 9- поворотная колонна рукояти; 10 — гидромотор вращения рукояти; 11 — головная часть рукояти 12 — телескопический элемент; 13—быстрозажимное устройство; 14 — сменный рабочий орган; 15 — кассета для сменных рабочих органов; 16 — поворотная колонна; 17 — гидромотор поворотной колонны; 18 — захват; 19 — сменный рабочий орган ; 20 — быстрозажимное устройство; 21 — кронштейн крепления рукоятей
Рисунок 1.8 - Гидравлический экскаватор с землеройно-манипуляторным оборудованием
Основными недостатками конструкции являются сложность, ненадежность и большая масса рабочего оборудования, сложность управления рабочими движениями, ненадежность фиксации сменных рабочих органов быстрозажимным устройством, необходимость практически полного изменения конструкции рабочего оборудования базового экскаватора ЭО-3324, невозможность установки захваченного штучного груза (столб, опора) в вертикальное положение.
Манипулятор М2 (рисунок 1.8, в) разработан также на базе экскаватора ЭО-3324 и включает поворотную платформу 1, стрелу 2, поворотную колонну 16, гидромотор поворотной колонны 17, захват 18, сменный рабочий орган 11, быстрозажимное устройство 20, две рукояти 3, гидромотор механизма вращения рукояти 10, кронштейн крепления рукоятей 21, механизм вращения рукояти 22.
Рабочее оборудование имеет семь степеней подвижности. Экскаватор-манипулятор М2 обеспечивает выполнение земляных работ прямой, обратной лопатой и грейфером, комплекс работ по строительству трубопроводов, строительно-монтажные работы в качестве крана, различные погрузочно-разгрузочные работы. Основные недостатки манипулятора М2 аналогичны вышеперечисленным для манипулятора Ml.
Землеройно-манипуляторное оборудование МАДИ-ДИСИ на базе экскаватора ЭО-3322А /6/ включает базовый экскаватор 1, стрелу 2, рукоять 3 и рабочий орган, выполненный в виде челюстного ковша, механизм привода которого показан на рис. 8.4. Челюстной рабочий орган состоит из ковша 5 и челюсти 7, приводимой в движение гидроцилиндром 11 челюсти. Ковш 5 соединен вставкой 4 с взаимно-перпендикулярными осями шарниров с рукоятью 3 и с помощью универсального шарнира и рычага соединен со штоком гидроцилиндра 13 поворота ковша 5 в плоскости рабочего оборудования.
К недостаткам этого землеройно-манипуляторного оборудования следует отнести: необходимость изменения конструкции. Универсальный шарнир соединен с рычагом 12, который шарнирно крепится к штоку гидроцилиндра 14 поворота ковша 5 г поперечной плоскости.
Конструкция рабочего оборудования отличается простотой изготовления и позволяет экскаватору выполнять широкий комплекс операций: копание обратной лопатой и грейфером, зачистные и планировочные работы, рыхление одним зубом, копание у стен зданий, манипуляторные работы с отдельными предметами, захват технологического оборудования для выполнения соответствующих технологических операций, превращая тем самым экскаватор в многоцелевую строительную машину.
1— базовый экскаватор ЭО-3322А; 2 —стрела; 3 — рукоять; 4 — поворотная вставка; 5 —ковш; 6, 9 — прямолинейный нож; 7 —челюстной захват; 8 — зубья; 10— шарнир; 11, 13, 14 — гидроцилиндры; 12 — рычаг
Рисунок 1.9 - Экскаватор ЭО-3322А с землеройно-манипуляторным оборудованием адаптируемого типа конструкции МАДИ - ДИСИ
Если говорить о недостатках, то можно выделить малую кинематическую взаимосвязь движений рабочего органа во взаимно-перпендикулярных плоскостях, что снижает надежность оборудования и может привести при неправильном управлении к поломке рычажной системы; невозможность захвата произвольно ориентированного штучного груза ввиду отсутствия ротации челюстного ковша; малую рабочую зону при установке захваченного штучного груза в вертикальное положение.
Как показали производственные испытания, несмотря на указанные недостатки, использование строительного манипулятора конструкции МАДИ — ДИСИ на базе экскаватора ЭО-3322А, позволило снизить приведенные затраты, энергоемкость и материалоемкость при производстве работ соответственно на 40, 35 и 27%.
Рассмотренные положения позволяют сделать вывод, что несмотря на недостатки существующих конструкций землеройно-манипуляторного оборудования и, в частности, их большая масса, высокая стоимость и сложность, применение их в строительстве, на земляных работах приводит к существенному росту производительности и качества работ, улучшению условий труда, сокращению материальных, энергетических и трудовых затрат.
Эффективность землеройно-манипуляторного оборудования зависит от правильного выбора и расчета параметров его рычажной системы и рабочего органа.
2 РАЗРАБОТКА КОНСТРУКЦИИ МАШИНЫ
2.1 Выбор расчетно-конструктивной схемы проектируемой машины
В Днепропетровском инженерно-строительном и Московском автомобильно-дорожном институтах разработано экскаваторное землеройно-манипуляторное рабочее оборудование многоцелевого назначения. Землеройно-манипуляторный рабочий орган выполнен в виде челюстного захвата и имеет следующие особенности. Конструктивное решение многоцелевого рабочего органа экскаватора обеспечивает возможность применения его в качестве обратной и прямой лопат, а также для зачистных и грейферных операций. При этом трансформирование такого рабочего органа в одну из альтернатив конструкции в условиях разнообразия рабочих процессов и операций требует обеспечения оптимальности геометрических и кинематических параметров конструкции.
В случае, когда шарнир крепления челюсти к ковшу будет выполнен соосно с шарниром крепления ковша к рукояти, и режущая кромка челюсти будет иметь ту же ориентацию относительно шарнира поворота ковша, что и режущая кромка стандартного ковша, при работе оборудования в режиме обратной или прямой лопат будут соблюдаться оптимальные геометрические параметры. Однако работа оборудования в грейферном режиме будет осуществляться в условиях, когда задний угол резания челюстью будет иметь отрицательное значение, и при этом будет существенно увеличиваться сопротивление движению челюсти за счет трения наружной стороны ее днища о грунт и дополнительного разрыхления грунтового массива за пределами рабочей зоны челюсти. Поэтому при проектировании многоцелевого рабочего органа экскаватора следует шарнир крепления челюсти к ковшу располагать таким образом, чтобы в момент смыкания челюсти с ковшом обеспечивалась оптимальная траектория движения режущих кромок челюсти и исключались дополнительные сопротивления ее движению. В положении, когда челюсть примкнута к ковшу, конструкция рабочего органа должна обеспечивать оптимальные геометрические параметры, присущие обратной лопате.
В результате выполненных экспериментальных исследований и кинематического анализа по обработке рациональных параметров многоцелевого рабочего органа экскаватора разработан вариант конструктивного решения рабочего органа (челюстного ковша-захвата) с соблюдением оптимальных геометрических и кинематических параметров
В качестве аналога выбираем экскаватор на пневмоколесном ходу с рабочим оборудованием обратная лопата с техническими характеристиками (Таблица 2.1).
Таблица 2.1 – Технические данные экскаватора
| Технические характеристики ЕК-14 | |
| Эксплутационная масса, т. | 12,5/12,85 |
| Скорость передвижения, км/ч | 22,5/20 |
| Продолжительность цикла, с. | 15 |
| Длина, м | 5,98 |
| Ширина, м | 2,5 |
| Высота, м (без маяка) | 4 |
| Тип | обратная лопата |
| Радиус копания, м | 8,07/8,25 |
| Радиус копания на уровне стоянки, м | 7,86/8,06 |
| Глубина копания, м | 5,08/8,06 |
| Высота выгрузки, м | 6,5/6,4 |
| Угол поворота ковша, град | 173 |
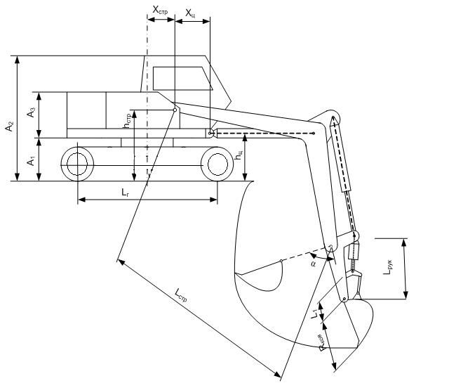
Конструктивная схема экскаватора изображена на рисунке 2.1
Рисунок 2.1 - Гидравлический экскаватор 3-й размерной группы
ЭО-1221 с оборудованием "обратная лопата" с основными параметрами: А1 -высота поворотной платформы; А2 -высота от опорной поверхности до верхней части машины; А3 -высота базовой машины; хстр -расстояние от пяты стрелы до осевой линии; хц -расстояние от пяты цилиндра до осевой линии; hстр -расстояние от пяты стрелы до опорной поверхности; hц -расстояние от пяты цилиндра до опорной поверхности;Lг-база машины; Lстр- длина стрелы; Lрук- длина рукояти; L1- расстояние между шарнирами крепления ковша и гидроцилиндром поворота ковша; Rков- радиус ковша; α-угол поворота рукояти.
Требования:
-
Возможность выполнения различных технологических операций, для чего необходимо обеспечить совмещение движений при независимом их управлении. У прямой и обратной лопаты, грейфера движение стрелы и рукояти. У погрузчика стрела и ковш. При любом оборудовании поворот платформы и любое движение элемента рабочего оборудования. У обратной лопаты совмещение независимых движений рукояти и ковша.
-
Максимальное использование мощности силовой установки. Привод основных механизмов должен иметь гиперболическую характеристику с диапазоном регулирования 2,5. Суммарная, реализуемая при работе мощность насосов не должна превышать мощность ДВС с учетом к.п.д. Весь силовой поток рабочей жидкости должен быть использован для привода любого из механизмов рабочего оборудования.
Основные параметры машины и рабочего оборудования определяются после выполнения общего расчета экскаватора, которые, имея самостоятельное значение как исходные данные для технического проекта экскаватора, позволяют определиться при выборе двигателя, гидропривода и являются исходными для прочностных и других расчетов.
















