4 (1235099)
Текст из файла
4 Проект оборудования для загиба звена и установки стыковых зазоров
Рисунок 4.1 – Навесное оборудование на базе трактора ДТ – 75М
Машина предназначена для механизации работ по загибу звеньев при укладке пути в кривых участках пути в процессе усиленного капитального ремонта пути в «окно». Машина работает в темпе путеукладчика УК 25/18 и обеспечивает перемещение конца уложенного на балласт звена на ось пути, когда путевая решетка не задозирована балластом.
Запроектированная машина включает трактор ДТ – 75М и дополнительное навесное оборудование (рисунок 4.1). Трактор ДТ – 75М производства Волгоградского тракторного завода предназначен для работы на повышенных скоростях в агрегате с навесным, полунавесным и прицепным гидрофицированными и негидрофицированными машинами и орудиями, а также для легких строительных, транспортных и других работ. На тракторе установлен четырехцилиндровый дизельный двигатель А – 41 мощностью 90 л.с. Алтайского моторного завода. Ходовая система с эластичной балансирной подвеской. Гидравлическая навесная система, прицепное устройство и вал отбора мощности расположены сзади трактора.
Закрытая металлическая кабина автомобильного типа обеспечивает оператору улучшенные условия работы. В холодное время кабина обогревается, в жаркое время в кабину вентилятором подается воздух.
Гидравлическая навесная система трактора ДТ – 75М служит для присоединения полунавесных и навесных орудий к трактору и управления ими, а также прицепными гидрофицированными орудиями и машинами с рабочего места оператора. Она состоит из гидравлической части механизма навесного оборудования.
С помощью гидравлической системы (рисунок 4.2) поднимают и опускают. А также приводят в действие навесное оборудование присоединенное к трактору.
Рисунок 4.2 – Гидравлическая схема.
Гидравлическая система состоит из масляных шестеренчатых насоса НШ – 46 УЛ, распределителя Р75 – 23. силовых гидроцилиндров. Масляного бака и маслопроводов высокого и низкого давления с арматурой. Рабочее давление насоса 13,5 МПа, подача 75 л/мин.
Особенности работы гидропривода.
Гидросистема включает в себя гидронасос Н, всасывающего рабочую
жидкость из гидробака Б, находящегося под атмосферным давлением, в напорную магистраль. В напорной магистрали предусмотрен предохранительный клапан КП1, сбрасывающий при необходимости рабочую жидкость в сливной трубопровод, минуя все гидрооборудования. Управление гидроцилиндрами ГЦ1, ГЦ2 производится гидрораспределителем РЗ1, управление гидроцилиндром ГЦ3 производится гидрораспределителем РЗ2, в зависимости от положения рычага управления распределителем РЗ1 изменяется поток масла;
а) если рычаг поставлен в нейтральное положение масло от насоса направляется в масляный бак и не выполняет никакой работы
б) при перемещении рычага в положение опускания, масло от насоса нагнетается в верхнюю полость силовых гидроцилиндров ГЦ1, ГЦ3 и опускается навесное оборудование
в) при перемещении рычага в положение подъема, масло от насоса направляется в нижнюю полость силовых гидроцилиндров, тем самым вызывая втягивание штоков и поднятие навесного оборудования.
В зависимости от положения рычага управления распределителем РЗ2 изменяется поток масла:
а) если рычаг поставлен в нейтральное положение, масло от насоса направляется в масляный бак и не выполняет никакой работы
б) при перемещении рычага в положение «сдвижка вправо», масло от насоса направляется в левую полость гидроцилиндра ГЦ3, тем самым вызывая втягивание левого штока и перемещение рейки вправо
в) при перемещении рычага в положение «сдвижка влево», масло от насоса подается в правую полость гидроцилиндра, правый шток втягивается и перемещает рейку влево.
На сливной магистрали гидросистемы перед сливом в бак Б установлен фильтр Ф для очистки масла.
Приведенный трактор выбран за базовый в следствии того что:
- по габариту размещается на платформе укладочного крана УК 25/18, что позволяет без затруднений доставлять машину к месту работ и убирать после «окна»;
- по весу обеспечивается погрузка и выгрузка на перегоне грузоподъемным оборудованием укладочного крана УК 25/18;
- для привода силовых механизмов возможно использовать объемный гидропривод трактора.
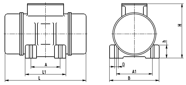
Дополнительное навесное оборудование (рисунок 4.1) предназначено для загиба и набивки звена. Состоит из следующих основных частей: П – образный рамы 1, шарнирно связанной с базовой машиной, силовых цилиндров с двухсторонними штоками 2, захватной рейки 3. П – образная рама изготовлена из швеллеров, своими концами она при помощи пальцев 4 связана с рамой трактора ДТ – 75М. подъем и опускание обеспечивается гидроцилиндрами 5, вибратор стыковых зазоров 6.
На поперечной балке П – образной рамы закреплен шток гидроцилиндра. Гильза несет захватную рейку, имеющую вырезы под головки рельсов.
Для питания гидроцилиндра навесного оборудования от гидросистемы трактора служат гибкие маслопроводы. Уплотнения всех подвижных и неподвижных элементов гидроцилиндров выполнены из маслостойкой резины кольцами круглого сечения. Поверхности штоков хромированы, при работе очищаются от грязи и пыли грязеочистительными пальцами.
Устройство и принцип работы вибратора
Вибратор – это дебалансный центробежный механизм, вынуждающая сила которого вызывается вращательным движением инерционного элемента.
Вибратор представляет собой электродвигатель с установленными на концах вала ротора дебалансами. Дебалансы, вращаясь с валом ротора, создают центробежную (вынуждающую) силу. Регулирование величины вынуждающей силы вибратора осуществляется путём изменения взаимного расположения дебалансов на обоих концах вала. Круговые колебания вибратора, передаются конструкции, на которой он установлен.
Рисунок 4.3 Вибратор
Таблица 4.1
Технические характеристики
Число полюсов – 2
Скорость вращения, об/мин (Гц) – 3000
Вынуждающая сила, кН – 9,9……20,0
Статический момент, кг*см - 10,0…20,0
Напряжения питания, В – 42,380
Частота тока, Гц – 50
Мощность номинальная, кВт – 1,10
Мощность потребляемая, кВт – 1,50
Масса, кг – 40
Рабочий ресурс, ч – 700
4.1 Организация работ по загибу звеньев в кривых в процессе усиленного капитального ремонта пути в «окно», с использованием навесного оборудования на базе трактора ДТ – 75М и установке стыковых зазоров
К месту работы машина доставляется на платформе укладочного крана УК 25/18. после снятия первых двух звеньев, трактор грузоподъемным оборудованием крана выгружается на ось ремонтируемого пути. Концы захватной рейки переводят из транспортного положения в рабочее. Трактор перемещается на величину укладываемого звена с переходом на 2-3 метра. Захватную рейку рихтующего устройства сдвигают в крайнее положение, противоположное рихтовке.
Укладочный кран укладывает звено на балласт по секущей, состыковывая задний конец его с ранее уложенным звеном автостыкователями. После опускания звена на балласт. Трактор передвигается так, чтобы захватная рейка навесного оборудования оказалась в зоне концов рельсов. Гидроцилиндром П – образная рама опускается вниз так, чтобы вырезы захватной рейки вошли головки рельсов. Включается гидроцилиндр сдвигающего устройства и звено становится на ось. Контроль осуществляется или легким шаблоном от соседнего пути или по оси укладываемого пути.
Так как звено ориентируется на ось, когда оно лежит на балласте, то изгиб получается плавным, что в последующем облегчает рихтовку пути и регулировку стыковых зазоров.
Зазор устанавливается с помощью набивщика стыковых зазоров, которое закреплено на раме трактора. Гидроцилиндр давит на раму набивщика, производя давления ударной части на рельс. Параллельно с этим включается вибратор для снижения напряжения возникающего в рельсе.
46
Характеристики
Тип файла документ
Документы такого типа открываются такими программами, как Microsoft Office Word на компьютерах Windows, Apple Pages на компьютерах Mac, Open Office - бесплатная альтернатива на различных платформах, в том числе Linux. Наиболее простым и современным решением будут Google документы, так как открываются онлайн без скачивания прямо в браузере на любой платформе. Существуют российские качественные аналоги, например от Яндекса.
Будьте внимательны на мобильных устройствах, так как там используются упрощённый функционал даже в официальном приложении от Microsoft, поэтому для просмотра скачивайте PDF-версию. А если нужно редактировать файл, то используйте оригинальный файл.
Файлы такого типа обычно разбиты на страницы, а текст может быть форматированным (жирный, курсив, выбор шрифта, таблицы и т.п.), а также в него можно добавлять изображения. Формат идеально подходит для рефератов, докладов и РПЗ курсовых проектов, которые необходимо распечатать. Кстати перед печатью также сохраняйте файл в PDF, так как принтер может начудить со шрифтами.
















