Бабин Диплом (1234945), страница 6
Текст из файла (страница 6)
Значительное время цикла работы занимает холостой ход. Поэтому при сравнительно малых расстояниях транспортировки(30 - 50 м) холостой ход целесообразно делать на максимальной скорости ходу назад, выигрывая при этом время на разворачивание трактора. При больших расстояниях холостой ход делают при движении вперед.
С учетом выше перечисленных факторов определим производительность бульдозера при перемещении грунта на 60 м и планировании участка длиной 120 м.
При резании и перемещении грунта, м3/ч:
, (2.43)
где
- объем призмы волочения (
= 9,46 м3 из расчета сил сопротивления грунта резанию и копанию отвалом бульдозера);
- коэффициент использования бульдозера по времени (
= 0,85...0,9);
- коэффициент, который учитывает работы машины по уклону или на подъем;
- длительность цикла, с.
(2.44)
где
- длина пути резания, м;
- длина пути перемещения, м;
- длина пути обратного хода бульдозера, м;
- скорость резания, м/с;
- скорость перемещения грунта, м/с;
- скорость обратного хода, м/с;
- время на переключение передач, с;
- время на опускание отвала(1,5 - 2,5 с), с;
- время на поворот трактора( около 10 с), с
Тогда:
Так как в данной модернизации участвуют два отвала, то производительность будет равна:
, (2.45)
где
- объем призмы волочения основного отвала, м3;
- объем призмы волочения дополнительного отвала, м3
(
=
);
- коэффициент потери грунта при транспортировке
= 0,87...0,94.
При этом длительность цикла тоже изменится:
; (2.46)
.
При планировании производительность определяют:
(2.47)
где l - длина планируемого участка, м;
B - длина отвала, м;
- угол поворота отвала, град;
b - ширина пройденной полосы, которая перекрывается при следующем смежном проходе, м;
n - число проходов по одному месту;
2.5. Расчет системы управления рабочим оборудованием
На рабочее оборудование бульдозера во время работы действует результирующая сила сопротивления копанию
. Сила веса рабочего оборудования
сила со стороны механизма подъема отвала S и реакция в спрягающем шарнире, которая может быть разложена на горизонтальную Rх и вертикальную Rу составляющие. Направление действия силы Р0 зависит от угла резания, который представляет 650 и углубление отвала на глубину 0,3 м результирующая прилагается на высоте Ні и направлена под углом =15…20 градусов. Эта результирующая может быть разложена на горизонтальную
и вертикальную
составляющие. Схема сил, которые действуют на рабочее оборудование представлена на рисунке 2.4.
Горизонтальная составляющая -
;
Вертикальная составляющая -
.
Сила со стороны механизма подъема отвала S найдется исходя из условий равновесия системы относительно запряженного шарнира.
(2.48)
Рисунок 2.4. Схема сил действующих на модернизированный бульдозер
Проектируя все силы на горизонтальную ось можно найти горизонтальную составляющую реакции в шарнире О:
(2.49)
.
Вертикальная реакция Ry найдется из уравнения относительно
точки O :
(2.50)
Найденное усилие S определяется по значению усилия, которое обеспечивает положение отвала в рабочем состоянии.
При работе бульдозера возникают также положения, когда независимо от машиниста на отвал действует усилие, обусловленное массой машины. Поэтому усилие подъема
(рисунке 2.5, а) и заглубления
(рисунке 2.5, б) отвала определяют по условиям устойчивости в статическом положении.
а - подъем отвала; б - заглубление отвала
Рисунок 2.5. Статическое положение бульдозера
, (2.51)
где
- расстояние от центра масс бульдозера к оси опорного элемента, м;
- расстояние от режущей кромки к оси вывешиваемого элемента, г.
;
(2.52)
где
- длина опорной поверхности гусениц, г.
2.6 Статический расчет
Положение центра тяжести бульдозера принимаем из конструкторской документации прототипов или определяем приблизительно, пользуясь известной массой прототипа, считая, что масса ходовой части представляет 45% от общей массы бульдозера, масса двигателя 30%, масса рамы, которая толкает, 6%, масса отвала 15%, масса кабины управления 2% масса гидроцилиндров подъема и опускания отвала 2%, следовательно:
;
;
;
;
;
На рис.2.6 изображена схема к расчетам центра тяжести бульдозера.
Рисунок 2.6. Схема к определению центра тяжести бульдозера
Определим:
(2.53)
(2.54)
2.7. Расчет устойчивости модернизированного бульдозера
Рассмотрим схемы устойчивости модернизированного бульдозера:
а) продольная устойчивость (рисунок 2.7) :
Рисунок 2.7. Схема сил, действующих на бульдозер
Коэффициент устойчивости может быть определен из следующей зависимости:
(2.55)
где
- силы, действующие на трактор в местах крепления рамы к трактору.
Эти силы равняются реакциям толкающих балок, на трактор с обратным знаком:
= 1,36 > 1,2.
б) движение бульдозера по косогору:
(2.56)
где
- угол наклона косогора, град;
- колея гусениц, м;
- смещение центра тяжести, м
в) движение по криволинейному участку трассы :
(2.57)
где
- радиус криволинейного участка (
), м
2.8. Расчет толкающей рамы
Вычисляем величину k, которая представляет собой отношение погонных прочностей ригеля и стоек.
(2.58)
(2.59)
Величина действующего на отвал бульдозера максимального горизонтального усилия во время движения
определяется как сумма тягового усилия по сцеплению и динамического усилия
(силы инерции) с учетом сопротивления передвижению базовой машины, определяется по формуле:
(2.60)
где
- тяговое усилие трактора (
), кН;
- сила инерции машины, кН;
- сила сопротивления передвижению базовой машины (для гусеничного движителя
).
(2.61)
Величина приведенной прочности определяется зависимостью
(2.62)
где
- прочность препятствия (для мерзлого грунта
);
- прочнсть навесного оборудования, кН/г.
(2.63)
где
- коэффициент прочности навесного оборудования на 1 кг массы трактора
(
= 0,9);
- вес рабочего оборудования, кН
(2.64)
Максимальная нагрузка действующая на крепление шарниров толкающей рамы, , :
(2.65)
Отсюда:
(2.66)
Дальше для схемы рамы находим опорные реакции и изгибающие моменты в характерных сечениях.
(2.67)
(2.69)
(2.70)
На рисунке 2.8. изображена расчетная схема толкающей рамы.
Рисунок 2.8. Расчетная схема толкающей рамы
Участок 1-1:
(2.71)
(2.72)
при
Участок 2-2:
(2.73)
(2.74)
(2.75)
при
Строим эпюру М(рисунок 2.9.) и эпюру Q(рисунок 2.10.).
Рисунок 2.9. Эпюра М
Рисунок 2.10. Эпюра Q
2.9.Расчет сварного шва на проушине крепления гидроцилиндра
Усилие, которое развивается гидроцилиндром
(2.76)
Определим минимальную длину сварочного шва:
, (2.77)
где
- напряжение среза, МПа;
- высота сварного шва, мм
(2.78)
где
- допустимое напряжения, ( для Ст.45 - 175МПа), МПа.
2.10. Расчет проушины
(2.79)
Для данной детали применим материал Ст.45, где
= 680 МПа.
(2.80)
- условие прочности выполняется.
2.11. Расчет гидросистемы модернизируемого бульдозера
2.11.1 Выбор схемы подключения
Выходные данные для расчетов гидропривода возвратно-поступательного движения :
-
номинальное давление в гидросистеме рном - 25МПа;
-
гидродвигатели типа 1-80х500 за ДСТ 17479 - 87;
-
золотниковый распределитель типа Р 203-АП14;
-
дроссель регулируется типа ДО- 25/40.
Данная система будет подключаться к системе бульдозера.
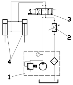
На рисунке 4.1 представлена схема объемного гидропривода конструкции.
1–насосная установка; 2-регулируемый дроссель; 3-золотниковый гидрораспределитель; 4 – гидродвигатель
Рисунок 2.11. Гидравлическая схема управления дополнительным отвалом
2.11.2. Расчет основных параметров гидропривода
Определение давлений в полости нагнетания и слива, определения диаметра поршня силового цилиндра.
Согласно схеме гидропривода сложим уравнение для давлений в полостях нагнетания гидроцилиндров P1 и в полостях P2. Уравнение давлений P1 и P2 запишем в виде:
(2.81)
(2.82)
где
- давление в поршневой полости гидроцилиндра, МПа;
- давление в штоковой полости гидроцилиндра, МПа;
- давление развиваемое, насосом, МПа;
и
- перепады давлений на гидрораспределителе, МПа;
и
- перепады давлений в трубах l1 и l2, МПа;















