Бабин Диплом (1234945), страница 3
Текст из файла (страница 3)
Рисунок 1.11. Схема изобретения
Изобретение, описываемое в авторском свидетельстве SU 1135857 «Бульдозерное оборудование» относится к строительно-дорожным машинам, а именно к землеройным машинам типа бульдозеров и предназначено для захвата и удаления различных предметов с места выполнения работ.
Бульдозерное оборудование состоит из толкающих брусьев, отвала с основным ножом, шарнирно соединенную с кронштейном отвала переднюю челюсть с захватами и дополнительным шарнирно закрепленным ножом и гидроцилиндрами управления челюстью.
Недостатком является сужение технологических возможностей, связанное с тем, что конструкция в связи с невозможностью регулирования высоты положения дополнительного ножа не позволяет осуществлять двухножевое копание с установленными на одном уровне режущими кромками челюсти и отвала бульдозера с основным ножом, а также в связи с тем, что отсутствует возможность регулирования челюстного захвата на удержание длинномерных предметов различного диаметра. Кроме того, в известном решении невозможно рыхление грунта челюстью при движении базовой машины задним ходом.
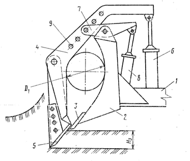
1-брус; 2-отвал; 3,5-нож; 4-челюсть; 6,8-гидроцилиндры; 7-коромысло; 9-монтажные отверстия.
Рисунок 1.12. Схема конструкции по патенту
1.3. Выбор направления разработки
Проведенный анализ показал эффективность применения челюстных захватов на бульдозерном оборудовании для небольшого объема погрузочных работ, поэтому принято решние спроектировать бульдозер с челюстным захватом.
При создании предлагаемой конструкции рабочего органа бульдозера - устранение недостатка в незащищенности дополнительных гидроцилиндров от взаимодействия их с разрабатываемым грунтом. В результате чего снизится трудоемкость, на производство, монтаж и ремонт предлагаемого рабочего органа. Так же повысится надежность агрегата в работе и эксплуатационная производительность бульдозерных работ.
Технический результат достигается следующим образом.
Рабочий орган бульдозера, включает основной отвал с режущим ножом и установленными на нем гидроцилиндрами управления дополнительным отвалом, дополнительный отвал с режущим ножом и задней стенкой, боковые стенки, которые связаны шарнирно с дополнительным и основным отвалами.
Предлагаемый рабочий орган бульдозера в сравнении с серийно выпускаемыми имеет следующие преимущества:
а) при одинаковой мощности трактора предлагаемый рабочий орган бульдозера может транспортировать больший объем грунта;
б) отсутствие роликов и направляющих исключает возможность изнашивания и заклинивания дополнительного отвала;
в) уменьшение металлоемкости, а следовательно и уменьшение себестоимости производства рабочего органа;
г) появляется возможность увеличения заполняемого объема
д) появляется возможность выполнять погрузочные работы захватом груза.
На рисунке 1.13. изображена схема работы рабочего оборудовани
а - транспортное положение; б - резание грунта основным отвалом; в - резание грунта дополнительным отвалом; г - исходное положение; д, е - отсыпание насыпей.
Рисунок 1.1. Схема работы рабочего оборудования
Раздел 2. Конструкторский
2.1. Расчет сил сопротивления грунта резанию и копанию отвалом бульдозера
На рисунке 2.1 представлена общая схема сил, которые действуют на режущий клин как со стороны рабочего органа Pi, так и со стороны грунта Wi, прилагаемых к его режущей кромке
Рисунок 2.1 Схема сил, которые действуют на режущий клин
P, W - суммарные силы копания и сопротивления грунта копанию соответственно; P01, W01 - касательные составные силы копания и сопротивления копанию грунта соответственно; P02, W02 - нормальные составные силы копания и сопротивления копанию грунта соответственно; B и С - соответственно ширина и толщина стружки, которая срезается; δ - угол резания.
Согласно методу Н.Г. Домбровского основная касательная сила сопротивлению грунта копанию:
, (2.1)
где
,
,
,
- сопротивление соответственно: резанию грунта; перемещению призмы грунта, которая образуется перед рабочим органом; заполнению рабочего органа грунтом; трению рабочего органа об грунт, которое учитывается только в случаях, когда рабочий орган не поддерживается в подвешенном состоянии; сопротивление затупления, которое возникает на площадке.
Сопротивление резанию грунта(кН) определяется по формуле:
, (2.2)
где
- удельное сопротивление грунта резанию, что зависят от категории грунта и вида рабочего органа машины (таблица 2.1), кПа;
с - толщина стружки, м;
B - ширина стружки, равна, как правило, ширине режущей кромки рабочего органа, м;
φ - угол захвата косо установленного отвала, изменяется в пределах от 00 до 900.
Таблица 2.1- Значение удельного сопротивления резанию острым ножом
| Категория грунта | Удельное сопротивление резанию | |||
| Автогрейдер | Бульдозер | Скрепер | Экскаватор | |
| I | 15…40 | 60…90 | 40…60 | 12…65 |
| II | 40…60 | 90…100 | 60…90 | 60…130 |
| III | 60…100 | 100…140 | 90…110 | 120…200 |
| IV | - | 140…250 | - | 180…300 |
Тогда, сопротивление резанию грунта будет равно:
Сопротивление перемещению призмы грунта (кН), которая образуется перед рабочим органом при углах резания δ = 35....600, определяется по формуле:
, (2.3)
где
- объем призмы грунта перед рабочим органом, который зависит от конструкции рабочего органа и характера грунта, м3;
- плотность грунта (
=1,4…1,8 т/м3, для грунта III категории);
- коэффициент трения о грунт, который зависит от вида и состояния грунтов (таблица 3);
- коэффициент рыхления грунта, принимают в зависимости от вида грунта (таблица 2.4).
Для рабочего органа бульдозера
определяется:
, (2.4)
где B – ширина (длина) отвала, м;
H - высота отвала, м;
- поправочный коэффициент, который зависит от соотношения H/B (таблица 2.2).
Таблица 2.2 - Значение коэффициента
| Вид грунта | | ||||
| 0,15 | 0,3 | 0,35 | 0,4 | 0,45 | |
| вязкий | 0,7 | 0,8 | 0,85 | 0,9 | 0,95 |
| сыпучий | 1,15 | 1,2 | 1,25 | 1,3 | 1,5 |
Тогда объем призмы грунта при
= 0,35 и вязкого грунта будет равен:
Таблица 2.3 - Значение коэффициента
и
для некоторых видов грунтов
| Вид грунта | Состояние грунта | | |||
| сухое | влажное | мокрое | |||
| Гравий | 0,7…0,84 | 0,7 | 0,58 | 0,4…0,65 | |
| Песок | 0,53…0,62 | 0,7 | 0,47 | 0,27…0,6 | |
| Песок глинистый | 0,7 | 0,7 | 0,58 | 0,26…0,41 | |
| Суглинок | 0,84…1,2 | 0,58…0,7 | 0,36…0,58 | 0,5…0,7 | |
| Глина | 0,84 | 0,53 | 0,27…0,36 | 0,4…0,5 | |
| Растительный грунт | 0,53…0,7 | 0,58…1,0 | 0,47…0,58 | 0,3…0,42 | |
Таблица 2.4 - Значение коэффициента рыхления грунтов
| Вид грунтов | |
| Песок, супесь | 1,12…1,17 |
| Гравийно- галечные грунта | 1,16…1,2 |
| Лессовидный и легкий суглинок | 1,18…1,24 |
| Чернозем, солончак, растительная грунт | 1,2…1,28 |
| Мягкая глина, тяжелый суглинок | 1,24…1,3 |
| Ломовая и сланцевая глина, солончак, который отвердел | 1,28…1,32 |
Сопротивление перемещению призмы грунта представляет:
Сопротивление заполнению рабочего органа грунтом(кН) определяют:
, (2.5)
где
- коэффициент трения грунта о поверхности рабочего органа, что зависит от вида грунта;
δ- угол резания, принимаем δ = 600
Сопротивление возникающее на площадке затупления (кН) при угле ξ =35…600:
(2.6)
где
- удельное сопротивление от затупления, зависимое от ширины площадки затупления и вида грунта, кН/м (таблица 2.5);
L - длина режущей кромки рабочего органа, практически равняется длине отвала:















