Пояснительная записка (1231401), страница 2
Текст из файла (страница 2)
1.2 Анализ КТП и подобных агрегатов на электровозах.
Далее рассмотрим ремонт подобных агрегатов на примере электровозов, проанализируем выполняемые работы и выберем методы применимые к нашему узлу.
В современных электровозах есть несколько видов тяговых устройств, наиболее совершенным является безлюлечный вариант второй ступени с пружинами увеличенной длины (типа «Флексикойл»), обеспечивающими реализацию одновременно необходимых величин вертикальной, поперечной и угловой жесткости между тележками и кузовом. Устройство состоит из расположенных вертикально одной или нескольких витых цилиндрических пружин, опирающихся на боковину рамы тележки в средней по длине ее части и упруго передающих вертикальные и все, кроме продольных сил тяги и торможения, горизонтальные силы между кузовом и тележкой. Однако эта конструкция имеет плохую приспособленность для работы в кривых. При движении тележечных экипажей в крутых кривых относительный статический сдвиг в горизонтальной плоскости опорных поверхностей пружин весьма велик.
В кузовной ступени рессорного подвешивания локомотивов пружины могут быть использованы в качестве упругого элемента, и устанавливаются во второй ступени подвешивания, работающего не только в продольном направлении (сжатие или растяжение), но и в поперечном направлении создают восстанавливающую силу, благодаря чему заменяют другие виды возвращающих устройств. Такие пружины используются на тепловозах ТГ16, ТЭП70, электропоезде ЭД6, электровозах 2ЭС5К и 2ЭС4К, а также на большинстве скоростных электропоездов. Ниже представлена схема работы подобной конструкции (Рисунок 1.2).
Рисунок 1.2- Схема работы пружин типа “Флексикойл”
Далее приведена инструкция по ремонту устранения неисправностей пружин типа “Флексикойл” на электровозе 3ЭС5К “Ермак”[2].
Опоры кузова и ограничители отклонений очистить, разобрать.Пружины, имеющие трещины, сколы, изломы витков, волосовины, выработку и коррозионное повреждение более 10 % площади сечения витка заменить. Произвести дефектоскопию пружин магнитопорошковым методом контроля в соответствии с ЦТт-18/1(п.24приложенияГ).
Высота пружин в свободном состоянии должна быть +8 (624 ) мм, а под нагрузкой 40800 Н на стенде должна быть -3 +5 (506 ) мм.
Установку пружин на электровоз производить в соответствии с требованиями чертежа, руководствуясь отметками в виде белых полос (контрольных рисок), проставленных при сборке электровоза на заводе-изготовителе или при капитальном ремонте.Касание витков пружины между собой, кроме концевых, не допускается.
При ремонте проверить нагрузочную характеристику пружин на стенде, а также определить величину и направление поперечного смещения нижнего опорного витка пружины по отношению к верхнему под действием продольной нагрузки в специальном приспособлении в соответствии с инструкцией
После окончательной сборки электровоза проверить зазоры по ограничителям отклонений кузова (вертикальное направление размер (40+/-1) мм, горизонтальное направление размер (70 ) мм и размер (257 ) мм по чертежу.
Проверку зазоров производить на нивелированном пути
соответствующему требованиям инструкции ЭП2К.31.07.000И на
экипированном электровозе. Детали снять, очистить и осмотреть. Пружины проверить магнитным дефектоскопом, дефекты, обнаруженные в пределах чувствительности по ГОСТ 21105 (п. 76 приложения Г), не допускаются.
Далее приводится выдержка из технологической карты ремонта 3ЭС5К по ремонту пружин типа “ Флексикойл”[2].
Таблица 1.2 - Выдержка из технологической карты ремонта пружин типа “Флексикойл” электровоза 3ЭС5К
| Наименование операции | Технические требования | Инструмент, оборудование, приспособления |
| 1 | 2 | 3 |
| Ремонт пружин типа “Флексикоил” | Опоры кузова и ограничители отклонений очистить, разобрать. Пружины, имеющие трещины, сколы, изломы витков,волосовины, выработку и коррозионное повреждение более 10 % площади сечения витка - заменить. Зазоры между витками пружины должны быть одинаковыми. | Набор ключей, Метр, Лампа, Набор щупов |
| Произвести дефектоскопию пружин магнитопорошковым методом контроля в соответствии с ЦТт-18/1(п. 24 приложения Г). | Дефектоскоп | |
| Пружины просевшие, имеющие перекос, неплоскосность опорных витков, допускается восстановить.Касание витков пружины между собой, кроме концевых, не допускается. | Термический метод | |
| Проверить нагрузочную характеристику пружин на стенде, а также определить величину и направление поперечного смещения нижнего опорного витка пружины по отношению к верхнему под действием продольной нагрузки | Стенд для испытаний |
Проанализируем работы представленные в технической инструкции и технологической карте ремонта. При разборке узла, визуально выявляются видимые повреждения (трещины, сколы, изломы). При их выявлении деталь бракуется и заменяется на новую.
Магнитопорошковая дефектоскопия применяется с целью выявления мелких трещин и т.д. У пружин, имеющих перекос, неплоскостность витков восстанавливается термическим методом.
Кроме того, для проверки нагрузочных характеристик и величины поперечного смещения нижнего опорного витка по отношению к верхнему применяется стенд.
Из представленных методов ремонта и диагностики чаще всего используется магнитопорошковая дефектоскопия, которую можно применить для выявления трещин на резьбе вилки наклонной тяги.
2 КОНСТРУКЦИЯ НАКЛОННОЙ ТЯГИ ЭЛЕКТРОВОЗА ЭП1
Особенностью конструкции ЭП1 от других электровозов является применение продольных наклонных тяг что позволяет лучше передавать тягово-сцепные силы от тележки к кузову. Их применение обеспечивает достаточно высокий коэффициент использования сцепного веса локомотива. Однако известная конструкция экипажной части имеет следующие недостатки:
- последовательное расположение в известной конструкции наклонной и короткой тяг ограничивает длину наклонной тяги при заданной длине и базе локомотива. Причем, чем меньше длина наклонной тяги, тем больше величина дополнительных усилий, действующих на путь при вписывании экипажа в кривые, и, следовательно, больше износ гребней бандажей и боковой поверхности головок рельсов;
- расположение в известной конструкции короткой тяги с упругими элементами и кронштейна, к которому они крепятся, под поглощающим аппаратом автосцепки обуславливает необходимость полного демонтажа короткой тяги с упругими элементами и кронштейна при демонтаже поглощающегося аппарата автосцепки, что увеличивает трудоемкость ремонта экипажной части в эксплуатации.
Техническим результатом изобретения является повышение эксплуатационной надежности локомотива путем улучшения его динамических показателей. Снижение воздействия на путь и, как следствие, снижение износа бандажей колесных пар локомотива и рельсов, особенно при прохождении кривых участков пути. Также исключение необходимости демонтажа кронштейнов крепления наклонных тяг на буферном брусе для демонтажа поглощающего аппарата автосцепки при ремонте. Снижение износа бандажей колесных пар локомотива и рельсов обеспечивается тем, что при вписывании в кривые и повороте тележек под кузовом происходит перекос наклонной тяги в горизонтальной плоскости. Причем, чем больше длина наклонной тяги , тем меньше ее перекос и меньше боковые усилия на гребни бандажей колесных пар локомотива и, следовательно, меньше износ гребней бандажа. В связи с этим длина наклонной тяги увеличена. Это позволяет снизить деформации упругих элементов и повысить их долговечность.
В случае обрыва наклонной тяги или существенного повреждения кронштейна и упругого элемента , сила тяги может передаваться через страховочный шкворень и среднюю поперечную балку рамы тележки.
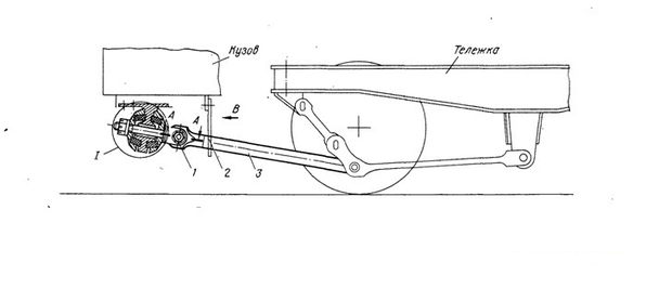
Рисунок 2.1 - Тяговое устройство тележек
Тяговое устройство тележек (рисунок 2.1) является жестким продолжением рамы тележки, предназначенным для выноса точки присоединения наклонной тяги кузова. Оно состоит из тяги 1, смонтированной на кронштейне концевого бруса рамы тележки и соединенной с кронштейном тяги 2, которая другим концом закреплена на кронштейне средней балки рамы тележки. Тяга 1 выполнена из толстолистовой стали и имеет форму вытянутого вала. В отверстия тяги запрессованы шарнирные подшипники 4. Тяга 2 сварная и состоит из толстолистового треугольника с приваренными литыми головками для закрепления на среднем брусе рамы тележки с литым Г-образным кронштейном для соединения с тягой 1 и наклонной тягой кузова. Соединение тяг 1 и 2 между собой и подсоединение к кронштейнам рамы тележки выполняют шарнирно при помощи валиков 5 и 6. Валики 5 стопорятся корончатыми гайками 3, а валики 6— планками 7.
Шаровые подшипники в тяге 1 обеспечивают компенсацию технологических погрешностей при монтаже тягового устройства тележек.
Наклонная тяга крайней и средней тележек (рис. 3.1) предназначена для передачи сил тяги и торможения от тележки к кузову., Тяга 3 представляет толстостенную трубу с приваренными по концам литыми головками.Одной головкой тягу 3 крепят к вилке 1 буферного устройства кузова, другой— к тяговому устройству тележки. Крепление тяги осуществляют валиками с гайками 9. Тросик 2 страхует тягу от возможного падения на путь при поломках. Подвижность тяги в. горизонтальной плоскости при относе кузова в разворотах тележки обеспечивают шарнирные подшипники 10,прессованные в головки тяги.
Рисунок 2.2 - Буферное устройство.
Буферное устройство (рисунок 2.2) кузова состоит из двух резиновых шайб 6, охваченных фланцами 5 и предварительно стянутых вилкой / и гайкой 7. Длину вилки регулируют установкой необходимого числа шайб 4.
Рассмотрим работы выполняющиеся при ремонте в объеме ТР-3 [3] наклонной тяги и внедрим новые методы диагностики.
Проверяются тяговые устройства тележек, сварные швы тяг, упругие элементы буферного устройства. Проверяется надежность затяжки болтов, гаек, валиков. Не допускается наличие трещин в тяговых устройствах.
Наклонная тяга разбирается, детали снимаются, очищаются для осмотра и ремонта. Осматриваются и проверяются крепления наклонной тяг на отсутствие трещин и деформации. Деформации трещины не допускаются.
Наружные поверхности проушины вилки проверяются на отсутствие дефектов. Для более точного анализа внедрим ультразвуковую дефектоскопию, которая позволяет выявлять более глубокие дефекты. Для контроля сварных швов в местах приварки головок кронштейнов внедрим ультразвуковой метод дефектоскопии[14].
При износе отверстий вилки и головки тяги на 2мм диаметр под втулки и их подшипники разрешается восстанавливать наплавкой с последующей механической обработкой согласно чертежа.
Проверку состояния подшипников ШС-70Л ГОСТ 3635-78 проводим системой КОМПАКС®-УЗД [15] предназначенной для диагностики технического состояния вкладышей подшипников скольжения. Экспертная система основана на ультразвуковом эхо-импульсном методе неразрушающего контроля.Оценка технического состояния подшипника при испытании производится автоматически и отображается на дисплее в виде цветной дефектограммы текстового протокола и может быть распечатана на принтере.
Замеряются зазоры между кольцами подшипника, который не должен составлять 1,0мм. Проверяются зазоры между втулками и валиками. Зазор между вилки и валиками 70мм должен быть не более 2,0мм.
Проверяется резьба на валиках резьбовым калибром. Валики с дефектной или сорванной резьбой заменяются. При износе рабочей поверхности валиков до 0.6мм на диаметр допускается восстановление их путем хромирования с последующей шлифовкой до номинальных размеров. После окончательной обработки валики проверяются на отсутствие трещин магнитопорошковым методом. Трещины, волосовины, раковины не допускаются. Изношенные втулки заменяются новыми.
















