Пояснительная записка (1229590), страница 19
Текст из файла (страница 19)
Продолжение таблицы Б1
| 1 | 2 | 3 | 4 | 5 |
| 7.8 | Произвести монтаж букс на шейки колесных пар. | упора в кольцо. В паз оси поставить стопорную планку, таким образом, при котором гайка при последующей затяжке ключом, довернулась бы на величину от половины до полной ширины своего шлица. Поворот гайки в обратном направлении запрещается. | Мостовой кран | Слесарь по РПС разряд: 5 |
| 7.9 | Уложить пластичную смазку в переднюю часть буксы. | В переднюю часть буксы заложить смазку из расчета заполнения 1/3 свободного объема передней части (включая крышку). | Смазка | Слесарь по РПС разряд: 5 |
| 7.10 | Установить переднюю крышку буксы. Проверить правильность сборки буксы. | На болт крепления передней крышки правой буксы поставить металлическую пластину с выбитым на ней номером колесной пары. Правильность сборки буксы контролировать путем вращения ее на шейке оси и по наличию зазора (не менее 0,5 мм) между фланцем передней крышки и торцом корпуса буксы. Вращение буксы с подшипниками должно быть легким без заеданий. | Гайковерт либо ключ на 30 | Слесарь по РПС разряд: 5 |
| 7.11 | Транспортировка колесной пары на позицию окраски | – | Мостовой кран, чалочное приспособление | Слесарь по РПС разряд: 5 |
| 7.12 | Окраска колесной пары | Произвести окраску:
| Шкаф для окраски колесной пары | Маляр |
Продолжение приложения Б
Окончание таблицы Б1
| 1 | 2 | 3 | 4 | 5 |
| 7.12 | Окраска колесной пары |
- на бандажах в местах постановки контрольных отметок на всю толщину бандажа – эмалью красного цвета; - на ободьях центров продолжение полосы на бандаже на всю толщину обода – эмалью белого цвета. После плазменного упрочнения гребней на наружной торцевой поверхности бандажа рядом с красной полосой с правой стороны (при расположении контрольных полос в зоне контакта бандажа с рельсом) нанести полосу шириной 10 мм эмалью зеленого цвета в соответствии с инструкцией № ЦТ-329. | Шкаф для окраски колесной пары | Маляр |
| 7.13 | Транспортировка колесной пары в накопитель готовой продукции | – | Мостовой кран, чалочное приспособление | Слесарь по РПС разряд: 5 |
Продолжение приложения Б
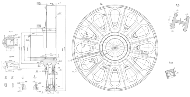
Рисунок Б1 – Колесная пара электровоза: 1 – бандаж; 2 – зубчатое колесо; 3 – ось; 4 – колесный центр
Продолжение приложения Б
Рисунок Б2 – Знаки и клейма на правом торце оси колесной пары: 1 – условный номер предприятия-изготовителя необработанной оси; 2 – месяц (римскими цифрами) и год (две последние цифры) изготовления необработанной оси; 3 — порядковый номер оси; 4 — клейма технического контроля предприятия-изготовителя и представителя приемки, проверивших правильность переноса маркировки с необработанной оси и принявших обработанную ось; 5 – условный номер предприятия-изготовителя, обработавшего ось; 6 – клейма метода формирования колесной пары («ФТ» – тепловой, «Ф» – прессовый, «Ф» и «ТЗ» – комбинированный при прессовом методе посадки колес (колес-ных центров) и тепловом методе посадки зубчатого колеса на ось, «ТК» и «Ф» – комбинированный при тепловом методе посадки колес (колесных центров) и прессовом методе посадки зубчатого колеса на ось) или клеймо замены оси на вновь изготовленную («СО»); 7 – условный номер предприятия, производившего сборку колесной пары; 8 – месяц (римскими цифрами) и год (две последние цифры) сборки колесной пары; 9 – клейма технического контроля предприятия-изготовителя и представителя приемки, принявших колесную пару; 10 – клеймо балансировки; 11 – клейма переформирования колесной пары; 12 – номер ремонтного пункта, производившего переформирование; 13 – месяц (римскими цифрами) и год (две последние цифры) переформирования; 14 – клейма технического контроля ремонтного пункта и приемщика локомотивов (инспектора-приемщика), принявших колесную пару после переформирования
Продолжение приложения Б
Рисунок Б3 – Знаки и клейма на наружной грани бандажа: 1 – условный номер предприятия изготовителя, 2 – год (две последние цифры) изготовления, 3 – марка бандажа, 4 – номер плавки, 5 – клейма приемки, 6 – порядковый номер бандажа по системе нумерации предприятия-изготовителя
Рисунок Б4 – Знаки и клейма на колесном центре: 1 – условный номер предприятия-изготовителя, 2 – год (две последние цифры) изготовления, 3 – порядковый номер центра по системе нумерации предприятия-изготовителя, 4 – обозначение марки стали, 5 – клейма технического контроля предприятия- изготовителя и представителя заказчика
Продолжение приложения Б
Рисунок Б5 – Знаки и клейма зубчатого колеса: 1 – условный номер предприятия-изготовителя, 2 – порядковый номер зубчатого колеса, 3 – марка стали, 4 – номер плавки, 5 – месяц (римскими цифрами) и год (две последние цифры) изготовления, 6 – клейма технического контроля предприятия-изготовителя и представители заказчика, 7 – условный номер предприятия, проводившего установку зубчатого колеса, 8 – месяц (римскими цифрами) и год (две последние цифры) установки, 9 – клейма технического контроля предприятия, проводившего установку
Рисунок Б6 – Знаки и клейма на левом торце оси: 1 – место постановки клейм замены бандажей, спрессовки левого или правого центра; 2 – условный номер ремонтного пункта; 3 – месяц (римскими цифрами) и год (две последние цифры) проведения полного освидетельствования; 4 – клейма службы технического контроля и приемщика локомотивов (инспектора-приемщика).
Продолжение приложения Б
Рисунок Б7 – Дефекты венцов зубчатого колеса
Рисунок Б8 – Протертое место на средней части оси колесной пары в середине оси
Рисунок Б9 – Следы электродугового ожога на средней части оси: 1 – электродуговой ожог на средней части оси; 2 – цвета побежалости на моторно-осевых шейках оси
Продолжение приложения Б
Рисунок Б10 – Колесный центр колесной пары электровоза
Рисунок Б11 – Зубчатое колесо колесной пары электровоза
Продолжение приложения Б
Рисунок Б12 – Бандаж колесной пары электровоза
Рисунок Б13 – Бандажное кольцо
Продолжение приложения Б
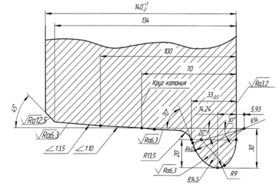
Рисунок Б14 – Профиль бандажа колесной пары с толщиной 33 мм
Таблица Б2 – Предельные допуски и отклонения при ремонте шеек осей колесных пар
| Технические требования | Контролируемые параметры | |
| Обычное освидетельствование | Полное освидетельствование | |
| Непостоянство диаметра в поперечном и продольном сечениях шеек осей под моторно-осевые подшипники, измеряемые по диаметру, а также под буксовые подшипники скольжения электровозов | 0,05 | 0,25 |
| Отклонение диаметра подступичных частей осей локомотивов от чертежного размера: - для новых осей колесных пар локомотивов; - для старых осей колесных пар локомотивов | +5 -10 | – – |
Продолжение приложения Б
Продолжение таблицы Б2
| Технические требования | Контролируемые параметры | |
| Обычное освидетельствование | Полное освидетельствование | |
| Уменьшение диаметра шейки оси под моторно-осевые подшипники | 6,0 | 6,0 |
| Выработка шеек оси от воздействия вкладышей моторно-осевых подшипников по диаметру | Не допускается | 0,2 |
| Допуск радиального биения шеек под моторно-осевые подшипники относительно центровых отверстий | 0,1 | 0,5 |
Продолжение приложения Б
















