Пояснительная записка (1229546), страница 4
Текст из файла (страница 4)
1.3.2 Демонтаж двигателя
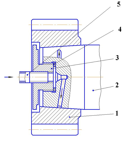
Слить масло из букс моторно – осевых подшипников перед снятием колесно – моторного блока с тележки электровоза. Снять колесно – моторный блок и разобрать его. Поставить на привалочных поверхностях букс моторно-осевых подшипников клеймо – номер, относящийся к соответствующему двигателю. Снять шестерни с концов вала двигателя. Чтобы снять шестерню 1 в соответствии с рисунком 7 с вала 2, установить на вал 2 гайку 3 с прокладкой 4; подсоединить трубку 5 гидронасоса и создать давление. После того, как шестерня сдвинется с места, снять ее, открутив предварительно гайку 3. Съем шестерни без гайки 3 запрещается.
Рисунок 1.5 – Схема подвода масла при съеме шестерни с вала тягового двигателя
1.3.3 Разборка двигателя
До разборки двигателя измерить мегаомметром на напряжение 1000 В сопротивление изоляции обмоток якоря и полюсной системы по отношению к корпусу и друг к другу для выявления участков с пониженным сопротивлением изоляции.
Установить двигатель в горизонтальное положение и снять крышки. Индукционным нагревателем или другим способом, обеспечивающим сохранность вала, снять кольца, крышки установить вновь на свои места.
Отсоединить два провода, подходящие к траверсе; расстопорить траверсу, проворачивая ее, вынуть все щетки из окон щеткодержателей и закрепить их нажимными пальцами на щеткодержателях.
Установить тяговый двигатель на подставку или кантователь коллектором вверх; демонтировать подшипниковый щит и траверсу; вынуть якорь и положить его на подушку с резиновой или войлочной прокладкой. Повернуть остов и демонтировать подшипниковый щит со стороны, противоположной коллектору.
Дальнейшую разборку узлов проводить на стеллажах.
1.3.4 Ремонт остова
Очистить остов, продуть его сухим сжатым воздухом и осмотреть. Заварить обнаруженные трещины, устранить другие дефекты. Зачистить от забоин и заусенцев привалочные поверхности остова. Крышки коллекторных люков при наличии неисправностей и повреждений отремонтировать или заменить. Осмотреть устройства для фиксации, стопорения и проворота траверсы. Устранить обнаруженные дефекты.
Смазать отверстия под болты фиксатора, стопоров и валик шестерни проворота траверсы пастой ВНИИ НП-232. Снять крышки коробок выводов, очистить их и коробки выводов от пыли и грязи. Проверить надежность крепления изоляционных пальцев и вилки к остову и их состояние. При необходимости демонтажа пальцев пользоваться специальным ключом. Проверить состояние резиновых втулок и надежность их посадки на кабелях и в отверстиях остова. Обратить внимание на состояние и крепление кабелей и проводов в коробках выводов. Устранить обнаруженные дефекты. Закрыть крышки.
Осмотреть главные и добавочные полюсы, компенсационную обмотку. Убедиться в надежности их крепления, отсутствии повреждений изоляции, соответствии активного сопротивления обмоток чертежам, прочности посадки катушек главных и добавочных полюсов на сердечниках. Проверить плотность посадки клиньев крепления катушек компенсационной обмотки простукиванием.
Проверить полюсную систему, убедиться в отсутствии межвитковых замыканий в катушках. Катушки главных и добавочных полюсов с поврежденной изоляцией заменить вместе с сердечниками. Проверить затяжку полюсных болтов. Полюсные болты с дефектами (сорванной резьбой, изношенными или забитыми гранями головок, трещинами и т. д.) заменить новыми. Пружинные шайбы при смене болтов проверить и негодные заменить. Головки полюсных болтов, где это предусмотрено чертежом, залить компаундом битумным.
Проверить распределение полюсов в остове по окружности; измерить расстояние между полюсами по диаметру. Указанные размеры должны соответствовать чертежным.
Проверить состояние выводов катушек главных и добавочных полюсов, а также катушек компенсационной обмотки. Восстановить поврежденную изоляцию выводных кабелей и межкатушечных соединений согласно чертежу. Изолированная часть должна быть плотной и не иметь признаков сползания изоляции. Межкатушечные соединения и выводные кабели внутри остова прочно закрепить скобами. Контактные соединения должны иметь прочное соединение и надежный контакт.
Окрасить катушки и межкатушечные соединения электроизоляционной эмалью и просушить. Сушку катушек полюсов с низким сопротивлением изоляции проводить в остове без снятиякатушек.Для демонтажа катушек компенсационной обмотки необходимо распаять их межкатушечные соединения. Подсоединить их к источнику постоянного тока. Включить источник тока, установить ток (535…550)А и греть катушки в течение (15…20) минут. Отключить источник тока и простучать молотком все клинья, крепящие катушки. Уложить на лобовые части катушек со стороны коллектора листы картона толщиной не менее 0,5 мм и выбить клинья из пазов с помощью специального зубила с бородкой. Удалить прокладки, уплотнявшие клинья в пазах.
Надрезать покровную изоляцию (стеклоленту) катушки по всей длине паза и по периметру витка у выхода из паза с обеих сторон. Вынуть катушку из пазов полюса с помощью приспособления или рычагов, установив между катушкой и рычагом резиновые прокладки. Очистить пазы полюсов от покровной и пазовой изоляции, наплывов компаунда и продуть сжатым воздухом. Заменить поврежденные катушки новыми.
Если необходимо снять моноблоки главных полюсов, то предварительно необходимо демонтировать добавочные полюса и катушки компенсационной обмотки, а затем снимать главные полюса. Выполнять демонтаж добавочных полюсов следует без снятия катушек компенсационной обмотки. Для этого необходимо распаять выводы катушек добавочного полюса и вынуть сердечник полюса вместе с катушкой в окно компенсационной катушки.
Монтаж остова проводить в следующем порядке.
Установить главные и добавочные полюса в остове. При этом расположение полюсов по окружности должно соответствовать требованиям чертежа. Испытать электрическую прочность изоляции катушек главных и добавочных полюсов относительно корпуса и между витками.
Перед укладкой катушек компенсационной обмотки проверить пазы полюсов на отсутствие заусенцев, наплывов компаунда и при наличии удалить их. Продуть пазы сжатым воздухом, промазать компаундом К-110 или ЭК-5 пазы и пазовую часть компенсационных катушек; установить угловую и пазовую изоляцию, выставить катушки по всем пазам с расположением лобовых частей относительно сердечников согласно требованиям чертежа и уложить их в пазы легким постукиванием обрезиненной рукояткой молотка равномерно по всей длине витков. Осадить пазовые части катушек с помощью текстолитовой подбойки и молотка. Проложить под клинья прокладки в количестве, необходимом для плотной посадки клиньев в пазах полюсов. Промазать прокладки компаундом и расклинить пазы. После монтажа испытать электрическую прочность изоляции катушек компенсационной обмотки относительно корпуса напряжением, составляющим 50 % от указанного в правилах ремонта на испытание остова. Подсоединить катушки компенсационной обмотки к источнику постоянного тока и просушить их. Катушки после ремонта сушить в остове при токе 500 А в течение 6 часов или не менее 3 часов при температуре плюс 150 °С в сушильной печи. Смонтировать межкатушечные соединения полюсной системы в соответствии с требованиями чертежа. Испытать электрическую прочность изоляции полностью собранного остова относительно корпуса переменным напряжением в соответствии с правилами ремонта.
1.3.5 Ремонт подшипниковых щитов
Снять крышки и кольца. Выпрессовать подшипники. При необходимости выпрессовать крышки. Выпрессовку подшипника из подшипникового щита можно осуществлять различными способами и на различных приспособлениях, но в любом случае усилие должно быть приложено на торцевую поверхность наружного кольца, а не на сепаратор или ролики. При выпрессовке подшипника вниз падать выпрессованный подшипник должен на подкладку или настил из мягкого неметаллического материала для предотвращения повреждения наружной обоймы подшипника.
Промыть подшипники бензином и тщательно осмотреть их. Обратить особое внимание на качество клепки и износ сепаратора. Если радиальный зазор в подшипнике находится в допустимых пределах, а состояние беговых дорожек, роликов и качество клепки сепаратора хорошее, собрать и смазать подшипниковые узлы после полной просушки подшипников.
Внутренние подшипниковые кольца необходимо снимать с вала лишь при повреждениях подшипников или вала. Номера внутренних и наружных колец подшипников при сборке должны совпадать.
Если обнаружены трещины деталей, на беговых дорожках или роликах появились раковины, задиры или шелушение, радиальные зазоры подшипника превышают установленные нормы, заменить подшипник.
Новые подшипники вплоть до момента их установки не рекомендуется вынимать из ящика. Удалить перед сборкой антикоррозийное покрытие, нанесенное на поверхность новых подшипников. Промыть подшипник бензином, протереть чистой салфеткой и просушить, покрыть ролики и сепаратор тонким слоем индустриального масла. Подшипниковые щиты и особенно маслопроводящие трубки и дренажные отверстия тщательно промыть и продуть сжатым воздухом.
Осмотреть посадочную поверхность подшипниковых щитов, убедиться в отсутствии трещин. Проверить все резьбовые отверстия подшипниковых щитов. Восстановить при необходимости резьбу. Заполнить перед сборкой маслопроводящие трубки смазкой. Следить при сборке , чтобы ни в смазке, ни в подшипниковых камерах не оказалось металлической пыли и стружки.
Выполнять сборку подшипниковых щитов в следующем порядке.
Запрессовать крышки, если они были выпрессованы. Запрессовать наружные кольца подшипников с комплектом роликов. Установить кольца, и крышки. Заполнить подшипник и подшипниковые камеры смазкой на 2/3 свободного объема. Промазать смазкой уплотняющие поверхности согласно чертежу.
1.3.6 Ремонт траверсы
Продуть сжатым воздухом снятую траверсу, протереть салфеткой и установить на приспособление. Снять щеткодержатели, кронштейны, шинный монтаж, корпус траверсы промыть керосином, просушить и восстановить покрытие электроизоляционной эмалью. Осмотреть кронштейны щеткодержателей, щеткодержатели, изоляционные пальцы, шинный монтаж, разжимное устройство. Заменить детали, изношенные более чем допускается нормами, а также поврежденные.
Разобрать щеткодержатели, очистить их от пыли и копоти. Проверить состояние нажимных пальцев, пружин, корпуса, окон щеткодержателей, резьбовых отверстий и отверстий под оси. Устранить обнаруженные дефекты. Смазать все трущиеся поверхности пастой ВНИИ НП-232.
Собрать щеткодержатели. Проверить усилие нажатия на щетки и вращение пальцев на оси. Собрать траверсу.
Для обеспечения равномерного расположения щеткодержателей по окружности коллектора сборку траверсы с кронштейнами и щеткодержателями проводить на специальном приспособлении. Установить щетки в окна щеткодержателей. Щетки должны быть без трещин и сколов, входить в окна щеткодержателей свободно, без заеданий. Зазоры между щетками и стенками окон должны быть в пределах норм. Установить траверсу на приспособление и притереть щетки. Испытать электрическую прочность изоляции отремонтированной траверсы относительно корпуса в соответствии с правилами ремонта.
1.3.7 Ремонт якоря
Для предохранения от повреждений обмотки транспортировку якоря 1 следует производить в соответствии с рисунком 1.6,используя специальный упор 2, который вставляется в два любых вентиляционных отверстия сердечника.
Рисунок 1.6 – Транспортировка якоря
Установить якорь концами вала на подставку. Вращая якорь, очистить вентиляционные каналы проволочным ершиком и тщательно продуть их сжатым воздухом. Очистить якорь от пыли и грязи. Проверить обмотку якоря на отсутствие межвитковых замыканий. Осмотреть бандажи. Проверить простукиванием затяжку коллекторных болтов. При необходимости подтянуть их ключом – трещоткой, предварительно нагрев якорь до температуры (160…170) °С. Болты подтягивать постепенно, с поочередным подвертыванием не более чем на пол – оборота диаметрально противоположных болтов.
Проверить визуально качество сварки обмотки якоря с петушками коллектора. Обнаруженные дефекты устранить. Просушить якорь. Восстановить рабочую поверхность коллектора. Восстановить покрытие якоря.
Если сборка двигателя задерживается, то обернуть рабочую поверхность коллектора плотной бумагой или закрыть брезентовым чехлом. После этого якорь положить на подушку с резиновой или войлочной прокладкой.
1.3.8 Сборка тягового двигателя
Запрессовать в остов щит со стороны, противоположной коллектору. Установить в остов якорь и траверсу. Запрессовать щит со стороны коллектора. Установить двигатель в горизонтальное положение. Снять крышки и кольца, измерить торцовое биение подшипников, радиальный зазор между роликами и кольцом подшипника в холодном состоянии. Установить кольца, насадить на вал с нагревом кольца,подшипники закрыть крышками.
















