ПЗ (Филенко 151) (1228550), страница 3
Текст из файла (страница 3)
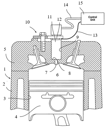
Датчик размещен между концом зажима и уступом корпуса форсунки. Преобразователь представляет собой датчик деформации, предназначенный для измерения давления, например, пьезоэлектрическое устройство, и может быть выполнено в виде шайбы.
Датчик соединен с блоком управления двигателем, который в свою очередь соединен с форсункой. Блок управления двигателем содержит алгоритмы, калибровочные таблицы и т.п. для интерпретации электрического сопротивления датчика для определения давления в камере сгорания. Таким образом можно контролировать начало подачи топлива, конец подачи топлива, количество впрысков и другие параметры процесса.
Минус данного метода заключается в том, что датчик установлен в зажиме, сила нажатия которого с течением времени будет изменяться, потому как он подвержен различным воздействиям, которые присутствуют в двигателе в больших количествах, а значит и снимаемые показания каждый раз будут завышены или занижены.
Размещение датчика показано на рисунке 1.12
Рисунок 1.12 – схематичное изображение дизеля: 1 – двигатель; 2 – блок цилиндров; 3 – цилиндр; 4 – поршень; 5 – головка цилиндра; 6 – камера сгорания; 7 – распылитель форсунки; 8 – корпус форсунки; 9 – место установки форсунки; 10 – зажимное устройство; 11 – форсунка; 12 – датчик в виде шайбы; 13 – провод соединения с блоком управления двигателем; 14 – трубопровод высокого давления; 15 – блок управления двигателем
Получение индикаторной диаграммы путём установки индуктивного датчика в прокладку головки блока цилиндров [13].
Головка блока цилиндров крепится к блоку цилиндров при помощи шпилек и болтов. Между ними располагается прокладка, которая изображена на рисунке 1.13, необходимая для уплотнения стыка. В момент работы двигателя газы в цилиндре воздействуют на неё, стремясь деформируя её определённым образом.
Предполагается установить датчики деформации на уплотнительную прокладку для того чтобы отслеживать эту деформацию на протяжении всего цикла. Данный метод имеет схожую проблему, что и предыдущий метод.
Рисунок 1.13 – Измерительное устройство: 1 – отверстие для шпилек; 2 – отверстие для цилиндра; 3 – прокладка ГБЦ; 4 – индуктивный датчик; 5 – устройство предварительной обработки сигналов с датчиков; 6 – прокладка ГБЦ; 7 – чувствительный элемент; 8, 9 – изолирующий слой; 11 – головка блока цилиндров; 10 – блок двигателя
Измерение сил, действующих в коренных подшипниках [14].
В данном методе предполагается, что давление в цилиндре можно косвенно получить путём измерения сил, действующих в коренных подшипниках во время функционирования двигателя, например, в подшипнике 1, коленчатого вала поршневого двигателя. Датчики 2 и 3 изготавливаются в виде шайб и устанавливаются под винты крепления 4 и 5.
Место установки датчиков показано на рисунке 1.14.
Предлагается установить тензоэлементы на неподвижных частях двигателя и это несомненно плюс, но так как при таком их положении они будут воспринимать нагрузку от соседних цилиндров, это вызовет сложности с последующем анализом данных. Кроме того, коленчатый вал не должен оказывать сильного воздействия на подшипники, а значит получаемый сигнал необходимо будет усиливать во много раз, что вызовет зашумление сигнала.
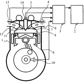
Рисунок 1.14 – Дизель со стороны маховика
Также помимо методов тензометрирования существуют и другие методы косвенного измерения индикаторной диаграммы, основанные на различных физических явлениях. Некоторые из них представлены ниже.
Измерение давления в цилиндре путём исследования вибраций, возникающих в двигателе в момент движения поршня [15].
Схематичное изображение представлено на рисунке 1.15.
Рисунок 1.15 – Схематичное изображение дизеля: 1 – дизель; 2 – маховик; 3 – крышка цилиндров; 4 – ряд вибродатчиков; 5 – датчик угла поворота коленчатого вала
Данные об изменении давления в цилиндре получают, путём обработки виброграмм в ряде специальных фильтров. Привязка к углу поворота коленчатого вала осуществляется за счёт индуктивного датчика, установленного на маховике. В момент функционирования двигателя каждая движущаяся деталь служит источником вибрации, и датчик улавливает только суммарный сигнал. Для того чтобы получить виброграмму характеризующую исключительно процесс, происходящий в цилиндре необходимо из исходного вычесть все лишние вибрации, которые вносят искажения, но так как их огромное множество, учесть их всех непосильная задача.
Измерение давления в цилиндре из соотношения давлений во впускном и выпускном коллекторах [16]. Схематичное изображение метода представлено на рисунке 1.16.
Рисунок 1.16 – Схема измерения: 1 – двигатель; 2 – блок управления; 3 – операционное устройство; 4 – датчик давления выхлопных газов; 5 – форсунка; 6 – выхлопной коллектор; 7 – выпускной клапан; 8 – камера сгорания; 9 – поршень; 10 – датчик угла поворота; 11 – впускной клапан; 12 – впускной коллектор; 13 – датчик давления на впускном коллекторе; 14 – датчик деформации, установленный на форсунке
Сигналы от датчиков передаются на вход и выход операционного устройства, где производятся вычисления. Результатом расчёта является сигнал, поступающий в блок управления двигателем, который определяет режим сгорания двигателя и регулирует параметры процесса в зависимости от текущих условий работы двигателя.
Для того чтобы упорядочить все представленные методы, на рисунке 1.17 приведено дерево классификации способов получения индикаторной диаграммы.
Рисунок 1.17 – Классификация методов
2 МЕТОД ОПРЕДЕЛЕНИЯ ИНДИКАТОРНОЙ ДИАГРАММЫ НА ОСНОВЕ ТЕНЗОМЕТРИРОВАНИЯ ШАТУНА
2.1 Основные положения
Сжимающая (растягивающая) шатун сила K, является одной из составляющих суммарной силы
, приложенной к центру поршневого пальца и объединяющей в себе силы давления газов
и силы инерции
, участвующих в поступательном движении масс
. Направление сил в кривошипно-шатунном механизме показано на рисунке 2.1.
Рисунок 2.1 – Схема сил в КШМ
Сжимающая и растягивающая шатун сила K рассчитывается по формуле
где
– суммарная сила, приложенная к центру поршневого пальца, Н;
β – угол наклона шатуна к оси цилиндра, рад., который рассчитывается по формуле
где λ – постоянная кривошипно-шатунного механизма;
φ – угол поворота коленчатого вала, град.
После преобразования формулы (2.1) получим
где
– сила давления газов, МПа;
– сила инерции механизма, Н, которая рассчитывается по формуле
где ω – угловая скорость вала,
;
D – диаметр цилиндра, м
r – радиус кривошипа, м;
– масса поступательно движущихся частей, кг, рассчитывается по формуле
Можно предположить, что при креплении тензорезистора на стержне шатуна, его сопротивление будет изменяться пропорционально силе K, а значит, при известных значениях массы движущихся поступательно деталей и угловой скорости коленчатого вала, для любого известного угла поворота коленчатого вала решением системы уравнений (2.2), (2.3), (2.4) может быть вычислена сила
. Более подробно метод изложен в источнике [17].
Наглядным примером могут служить расчёты, произведённые для одиннадцатой (875 об/мин) и пятнадцатой (1000 об/мин) позиций контроллера машиниста для дизеля «Д49» тепловоза 2ТЭ116. Исходные данные для расчёта получены теоретически в программе «Дизель РК». Графическое представление произведённых расчётов можно наблюдать на рисунках 2.2–2.5.
Рисунок 2.2 – Сжимающая и растягивающая шатун сила K на одиннадцатой позиции машиниста
Рисунок 2.3 – Восстановление индикаторной диаграммы для одиннадцатой позиции машиниста
Аналогичный расчёт выполнен для 15 позиции контроллера машиниста. После получения косвенным методом данных о изменении удельной силы K, появляется возможность восстановить данные о суммарной удельной силе
. Разность
и удельной силы инерции поступательно движущихся масс
, будет являться удельной силой давления газов
.
Рисунок 2.4 – Восстановление индикаторной диаграммы для пятнадцатой позиции машиниста
Рисунок 2.5 – Восстановление индикаторной диаграммы для пятнадцатой позиции машиниста
В данной дипломной работе проведён рад теоретических экспериментов в инженерной программе SolidWorks [18] для того чтобы проверить работоспособность предлагаемого метода, а также определить количество необходимых тензоэлементов и место их установки на стрежне шатуна.
2.2 Методика иследования в Solidworks
Для того чтобы оценить теоретическую работоспособность предлагаемого метода было проведено исследование в программе SolidWorks. Объектом исследование выбран шатун среднеоборотного четырёхтактного дизеля «ИТ-9-3» для которого на основании чертежей была построена твердотельная модель и нанесена расчётная сетка, что можно наблюдать на рисунке 2.6.
Рисунок 2.6 – Модель шатуна ИТ-9-3
Также была построена твердотельная модель поршневого пальца со специальными гранями, который можно наблюдать на рисунке 2.7.
















