ПЗ (Филенко 151) (1228550)
Текст из файла
Министерство транспорта Российской Федерации
Федеральное агентство железнодорожного транспорта
ФЕДЕРАЛЬНОЕ ГОСУДАРСТВЕННОЕ БЮДЖЕТНОЕ ОБРАЗОВАТЕЛЬНОЕ УЧРЕЖДЕНИЕ ВЫСШЕГО ОБРАЗОВАНИЯ
«ДАЛЬНЕВОСТОЧНЫЙ ГОСУДАРСТВЕННЫЙ
УНИВЕРСИТЕТ ПУТЕЙ СООБЩЕНИЯ»
Кафедра «Локомотивы»
К ЗАЩИТЕ ДОПУСТИТЬ
Заведующий кафедрой
__________А.К. Пляскин
«____»________20___г.
РАЗРАБОТКА И ИССЛЕДОВАНИЕ КОСВЕННОГО МЕТОДА ИНДИЦИРОВАНИЯ ТЕПЛОВОЗНОГО ДИЗЕЛЯ
Пояснительная записка к дипломному проекту
ДП 23.05.03.15.151.ПЗ
| Студент гр.151 | ______________ | А.В. Филенко |
| (дата, подпись) | ||
| Консультант по безопасности жизнедеятельности (профессор, д.т.н.) | ______________ | В.Д. Катин |
| (дата, подпись) | ||
| Консультант по экономике (доцент, к.э.н.) | ______________ | О.Б. Лазарева |
| (дата, подпись) | ||
| Руководитель (доцент, д.т.н.) | ______________ | А.Ю. Коньков |
| (дата, подпись) | ||
| Нормоконтроль (к.т.н.) | ______________ | Ю.С. Кабалык |
| (дата, подпись) |
Хабаровск – 2017
ABSTRACT
A new method of obtaining the indicator diagram based on strain measurement engine connecting rod is proposed. The results of research of deformation of the connecting rod are presented. The studies were conducted using a computer program with a solid model piston rod.
СОДЕРЖАНИЕ
| ВВЕДЕНИЕ………………………………………………….………………… | 6 | |
| 1 СУЩЕСТВУЮЩИЕ МЕТОДЫ ИЗМЕРЕНИЯ ИНДИКАТОРНОЙ ДИАГРАММЫ ……………………………………………………………….. | 7 | |
| 2 МЕТОД ОПРЕДЕЛЕНИЯ ИНДИКАТОРНОЙ ДИАГРАММЫ НА ОСНОВЕ ТЕНЗОМЕТРИРОВАНИЯ ШАТУНА ………………………… | 26 | |
| 2.1 Основные положения ………………………………………………….. | 26 | |
| 2.2 Методика исследования в Solidworks …………………………...…….. | 30 | |
| 2.3 Выбор числа места расположения тензодатчиков …………..……….. | 45 | |
| 2.4 Оценка возможности определения ИД без отметчика ВМТ и с вычислением коэффициентов тарировачного уравнения ………………. | 46 | |
| 3 ОПРЕДЕЛЕНИЕ ЭКОНОМИЧЕСКОГО ЭФФЕКТА ПРИ ВНЕДРЕНИИ НОВОГО МЕТОДА………………………………………... | 56 | |
| 3.1 Общая характеристика показателей оценки экономической эффективности технических решений ……………………………………. | 56 | |
| 3.2 Определение затрат на внедрение и реализацию технического решения ……………………………………………………………………... | 59 | |
| 3.3 Определение экономического эффекта от внедрения технического решения ……………………………………………………………………... | 64 | |
| 4 РАЗРАБОТКА ИНСТРУКЦИИ ПО ОХРАНЕ ТРУДА ДЛЯ СЛЕСАРЯ ПО РЕМОНТУ ТЕПЛОВОЗОВ …………………………………………… | 67 | |
| 4.1 Требования охраны труда перед началом работы ……………………. | 67 | |
| 4.2 Требования охраны труда во время работы ………………………...… | 71 | |
| 4.3 Требования охраны труда в аварийных ситуациях ………………….. | 82 | |
| 4.4 Требования охраны труда по окончанию работы ……………………. | 86 | |
| ЗАКЛЮЧЕНИЕ………………………………………………………………. | 87 | |
| Список использованных источников…………………………………....... | 88 | |
| Уменьшенные копии демонстрационных листов……………………….. | 91 | |
ВВЕДЕНИЕ
Индикаторной диаграммой двигателя называют графическую зависимость величины давления в цилиндре от хода поршня или в зависимости от объёма, занимаемого газом в цилиндре. Используется при создании двигателей для определения его параметров, также получила широкое применение в технической диагностике поршневых механизмов. Она позволяет отслеживать и оценивать, рабочий процесс механизма на протяжении всего цикла. С появлением HCCI процесса (Homogeneous Charge Compression Ignition) [1], появилась потребность в создании всё более сложных систем управления, нуждающихся в корректной и оперативной информации о рабочем процессе дизеля, которую можно получить из индикаторной диаграммы. В связи с этим увеличился интерес к использованию датчиков внутрицилиндрового давления в качестве устройств обратной связи в системах управления электронным впрыском дизеля. Но в связи с тем, что такие датчики имеют высокую стоимость и ограниченный ресурс, обусловленный тяжёлыми условиями эксплуатации, необходимо задуматься о возможных альтернативных решениях. Альтернативным решением является использование косвенных методов измерения внутрицилиндрового давления. Примером могут служить методы, основанные на тензометрировании деталей напрямую или опосредовано воспринимающих усилия от давления газа. Объектом исследования выбрана лабораторная установка ИТ-9-3, которая представляет собой одноцилиндровый, четырехтактный дизель без наддува с вихревой камерой сгорания, потому как именно данная установка имеется в лаборатории ДВГУПС, а также сама установка и её составляющие элементы имеют достаточно небольшие габариты, что облегчает проведение исследовательских манипуляций над ней.
1 СУЩЕСТВУЮЩИЕ МЕТОДЫ ИЗМЕРЕНИЯ ИНДИКАТОРНОЙ ДИАГРАММЫ
Чаще всего получение индикаторной диаграммы на промышленных двигателях производится напрямую при помощи специального оборудования, устанавливаемого в индикаторный канал, который непосредственно имеет сообщение с цилиндром. В большинстве случаев в качестве индикаторных каналов на дизельных двигателях используются индикаторные краны и разъёмы для свечей накаливания. Примером оборудования для измерения индикаторной диаграммы напрямую могут служить методы, представленные ниже.
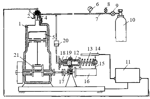
Электропневматическая индикаторная установка типа МАИ-2, которая представлена на рисунке 1.1.
Рисунок 1.1 – Принципиальная схема установки типа МАИ-2 [2]: 1 – цилиндр дизеля; 2 – мембрана приемника; 3 – приемник давления; 4 – электрод; 5 – поршень дизеля; 6 – манометр; 7 – воздухопровод; 8, 9 – краны; 10 – баллон; 11 – тиратронный блок; 12 – плунжер подвижной; 13 – пружина; 14 – шина импульса высокого напряжения; 15 – искровой штифт; 16 – барабан; 7 – кулачковая муфта; 18 – плунжер неподвижный; 19 – гильза; 20 – бачок; 21 – шатунная шейка коленчатого вала
Прибор состоит из записывающей и электрической части.
Записывающая часть представляет собой совокупность измерительного механизма и барабана, на который одевается бумажный рулон. Измерительный механизм работает следующим образом. Давление воздуха из пневматической магистрали передаётся на подвижный плунжер через бачок с жидкостью. Плунжер перемещается вдоль образующей барабана, растягивая возвратную пружину. К подвижному плунжеру прикреплен искровой штифт, следовательно, его перемещение пропорционально давлению воздуха в системе. Барабан через муфту соединён с коленчатым валом. Поэтому шкалу на окружности барабана можно считать углом поворота коленчатого вала. Длина окружности барабана составляет 360 миллиметров, поэтому каждый миллиметр на бумаге соответствует одному градусу поворота коленчатого вала.
Электрическая часть состоит из цепей низкого и высокого напряжения. Цепь низкого напряжения состоит из мембраны, воспринимающей давление газов в цилиндре. Над мембраной установлен изолированный от корпуса электрод. Когда давления в полостях над и под мембраной равны, между ней и электродом имеется очень маленький зазор. К цепи высокого напряжения относится тиратронный блок, соединённый одним выводом с электродом, а другим с шиной импульса высокого напряжения, вдоль которой перемещается искровой штифт.
Устройство работает следующим образом. Когда давление в цилиндре станет ниже чем в полости над мембраной, мембрана прогнётся и контакт с электродом нарушится и цепь разомкнётся. Тогда тиратронный блок подаст импульс высокого напряжения на шину, вследствие чего между барабаном и штифтом появится искра, которая прожжёт отверстие на бумаге. Так как барабан соединён с коленчатым валом, а искровой штифт будет выдвинут на расстояние, соответствующее давлению в магистрали, то получившееся на бумаге отверстие будет расположено в месте, которое однозначно соответствует определенному давлению в цилиндре двигателя и определенному углу поворота коленчатого вала.
Для получения индикаторной диаграммы используется стробоскопический принцип записи. Это значит, что диаграмма получается в результате фиксирования отдельных точек рабочего процесса в цилиндре поршневого механизма, при этом из каждого цикла выбирается только две точки, в результате получается последовательность точек, которые принадлежат следующим друг за другом циклам. Более подробно ознакомиться с данным методом можно в источнике [2].
Электронный индикатор, входящий в состав диагностического комплекса «Магистраль», который представлен на рисунке 1.2.
Рисунок 1.2 – Пример установки аппаратуры для снятия индикаторной диаграммы вместо свечи накаливания
Принцип работы установки заключается в том, что величина давления непрерывно преобразуется в электрический сигнал в тензоэлектрических датчиках, которые сообщены индикаторным каналом с камерой сгорания двигателя. Усилитель датчика имеет температурный компенсатор, что позволяет с высокой точность определять давление на разных режимах работы. Привязка полученных данных к углу поворота коленчатого вала осуществляется за счёт установленного на корпусе двигателя индуктивного датчика, который реагирует на зубья шестерни стартера двигателя.
Также для научных исследований двигатель препарируют и устанавливают мембрану датчика так, чтобы она находилась «заподлицо» со стенкой камеры сгорания. Такой способ позволят получить очень точную информацию о рабочем процессе. Более подробная информация в источнике [3].
Диагностический комплекс «КИПАРИС-5», который представлен на рисунке 1.3.
Рисунок 1.3 – Пример Диагностический комплекс «КИПАРИС-5»
Комплекс производственный автоматизированных реостатных испытаний типа «Кипарис-5». Назначение данного комплекса направлено на контроль параметров, обработку и представление информации в цифровом и графическом виде, а также на выдачу рекомендаций и указаний по настройке параметров дизель-генераторных установок магистральных и маневровых тепловозов 2ТЭ10, 2ТЭ116, 2ТЭП70, М62, ТЭМ2, ТЭМ7, ЧМЭ3 и т.д. при проведении реостатных испытаний в условиях локомотивных депо и ремонтных заводов.
Программное обеспечение комплекса «Кипарис-5» работает под управлением операционной системы Windows.
Помимо других измерительных устройств в состав комплекса входит датчик, предназначенный для измерения индикаторной диаграммы, определения цилиндровой мощности, а также фиксирования показателя механической напряженности двигателя. Программный анализ индикаторных диаграмм позволяет оценить техническое состояние двигателя, качество регулировки и экономичности. Более подробная информация в источнике [4].
В связи с тем, что современные транспортные двигатели в большинстве случаев не оборудуются индикаторными кранами и свечами накаливания, что делает проблематичным измерять индикаторную диаграмму напрямую, прибегают к использованию миниатюрных датчиков [3], классификацию которых вы можете видеть на рисунке 1.4.
Рисунок 1.4 – Классификация датчиков давления
Принцип действия пьезоэлектрического датчика [5] основан на том, что при механическом воздействии на некоторые материалы, которые имеют кристаллическую решётку, на их гранях появляется электрический заряд.
В пьезорезистивных датчиках давления чаще всего в качестве чувствительного элемента выступает монокристаллический кремний. Благодаря тому, что данный материал очень отзывчиво меняет своё удельное объёмное сопротивление при деформации его давлением, данные датчики имеют высокую чувствительность. Из-за агрессивных воздействий, действующих на датчик со стороны камеры сгорания, чувствительный элемент нуждается в защите. Проблема решается размещением датчика за пределами камеры сгорания, или за счёт использования защитных диафрагм. Конструктивно такие датчики могут быть реализованы в виде свечи накаливания в дизельном двигателе, а также интегрированных со свечой зажигания в бензиновом.
Характеристики
Тип файла документ
Документы такого типа открываются такими программами, как Microsoft Office Word на компьютерах Windows, Apple Pages на компьютерах Mac, Open Office - бесплатная альтернатива на различных платформах, в том числе Linux. Наиболее простым и современным решением будут Google документы, так как открываются онлайн без скачивания прямо в браузере на любой платформе. Существуют российские качественные аналоги, например от Яндекса.
Будьте внимательны на мобильных устройствах, так как там используются упрощённый функционал даже в официальном приложении от Microsoft, поэтому для просмотра скачивайте PDF-версию. А если нужно редактировать файл, то используйте оригинальный файл.
Файлы такого типа обычно разбиты на страницы, а текст может быть форматированным (жирный, курсив, выбор шрифта, таблицы и т.п.), а также в него можно добавлять изображения. Формат идеально подходит для рефератов, докладов и РПЗ курсовых проектов, которые необходимо распечатать. Кстати перед печатью также сохраняйте файл в PDF, так как принтер может начудить со шрифтами.
















