ПЗ (Филенко 151) (1228550), страница 2
Текст из файла (страница 2)
Примером может служить измерительная свеча «Kistler Model 6117B», которая производится фирмой «Kistler». Данное устройство предназначено для измерения в бензиновых двигателях. Внешний вид представлен на рисунке 1.5.
Рисунок 1.5 – Измерительная свеча «Kistler Model 6117B»
Датчик работает на собственной частоте 130 кГц, что позволяет производить очень точные измерения при достаточно высоких значениях частоты вращения коленчатого вала [6]. Максимальное рабочее давление датчика 20 МПа, критическое давление 25 МПа. Максимальная рабочая температура 3500 °С. Погрешность измерения в диапазоне температур 150–2500 °С составляет не более ±1,5 %.
Основной смысл функционирования емкостных датчиков давления заключается в том, что при деформировании датчика изменяется расстояние между его обкладками, что приводит к изменению его ёмкости в соответствии с формулой (1.1).
где С – емкость плоского конденсатора, Ф;
ε – диэлектрическая проницаемость диэлектрика, Ф/м;
– диэлектрическая проницаемость в вакууме, Ф/м;
S – площадь пластин конденсатора,
;
d – расстояние между пластинами, м.
В практике известны керамические и кремниевые ёмкостные преобразователи давления. В качестве примера такого датчика может служить кольцевой конденсатор, который изготовлен в виде набора металлических шайб с промежуточными прокладками из диэлектрика, подкладываемый под свечу зажигания. Так как при передаче сигнала имеет место промежуточное преобразование, можно говорить о том, что такой датчик является составным. Подробную информацию можно найти в источнике [3].
Наиболее современным типом датчиков на данный момент являются оптоволоконные датчики давления. Такие датчики также, как и ёмкостные являются составными, потому как измеряемый ими параметр изначально преобразуется в оптический, а только потом в электрический сигнал [7,8]. Эти датчики отличаются высокой стабильностью, помехоустойчивостью, высоким качеством сигнала. Принцип действия основан на законах преломления и отражения световых волн.
Для того чтобы установить датчики такого типа на двигатели внутреннего сгорания они встраиваются в прокладку под головку блока цилиндров или свечу зажигания, если двигатель бензиновый. На рисунке 1.6 изображена примерная схема конструкции прокладки под головку блока цилиндров со встроенными датчикам давления.
Рисунок 1.6 – Конструкция прокладки блока цилиндров
Для каждого цилиндра в прокладку блока цилиндров встроены датчики давления и преобразователи сигнала. Питание и съем полезного сигнала осуществляется через специальный разъем. Чувствительным к изменению давления элементом является диафрагма головки датчика. При воздействии давления диафрагма деформируется. Изменяя закон отражения световых волн. Конструкция головки оптоволоконного датчика изображена на рисунке 1.7.
Рисунок 1.7 – Конструкция чувствительного элемента
По оптоволокну в головку датчика поступает излучение от светодиода излучателя. Поступающий световой сигнал отражается от диафрагмы и по второму оптическому каналу поступают к фотодиоду приемника. На рисунке 1.8 изображен датчик давления и преобразователь.
Рисунок 1.8 – Современный оптоволоконный датчик с преобразователем
сигнала и управляющей схемой: 1 – оптические волокна; 2 – фотодиод –
приемник; 3 – полупроводниковый излучатель; 4 – чувствительная головка
Преобразователь сигнала является оптико-электронным модулем, который состоит из фотодиода, полупроводникового излучателя, и специальной интегральной схемы, на которой реализована система управления датчиком. Входные электрические контакты необходимы для подвода питания, а выходной контакт для получения сигнала с датчиков и диагностики неисправностей. Система управления корректирует интенсивность света, усиливает и фильтрует сигнал фотодиода, а также выполняет диагностическую функцию. Также данная система имеет возможность компенсировать температурную составляющую.
Принцип действия тензометрического датчика основан на изменении электрического сопротивления проводника при его деформации. При изготовлении датчика традиционным способом – наклеиванием проволочных или полупроводниковых тензоэлементов на бумажной или плёночной основе на мембрану – собственная частота датчика составляет около 20 кГц. Очевидно, что такой способ изготовления тензодатчика для целей индицирования дизеля практически не приемлем по температурным условиям. Несмотря на это тензодатчик имеет ряд неоспоримых преимуществ: простота усиления, близкая к линейной характеристика преобразования и другие. Благодаря этим качествам они активно применяются при испытании дизелей.
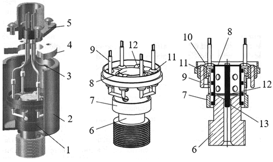
На рисунке 1.9 представлена конструкция преобразователя давления серии МИДА-ПИ-55 [3], разработанного специально для систем диагностики и регулирования дизеля.
Рисунок 1.9 – Датчик давления МИДА-ПИ-55: 1 – измерительный модуль; 2 – корпус; 3 – гибкий проводник; 4 – шайба; 5 – разъём; 6 – штуцер; 7 – корпус модуля; 8 – измерительная мембрана; 9 – вывод коллектора; 10 – токоотвод; 11 – изолятор стеклянный; 12 – воспринимающая мембрана; 13 – шток; 14 – чувствительный слой кремния; 15 – слой лейкосапфира
Важно помнить, что диапазон рабочих температур чувствительного элемента не должен превышать 300 °С. Для того чтобы выполнить данное условие, разработчикам пришлось разработать мембрану особой конструкции. Она представляет собой две мембраны, соединённых штоком выполненных в виде единого элемента. Давление от газов воспринимается мембраной, деформация которой передаётся штоком к мембране. Чувствительный слой выполнен в виде сетки резисторов, которые соединены в мостовую схему. Важным аспектом является то, что два резистора расположены так, чтобы воспринимать положительную деформацию, а два других отрицательную. Благодаря этому значительно снижается зависимость показаний датчика от температурной составляющей из-за взаимной компенсации сопротивлений.
В связи с тем, что все датчики, перечисленные выше, имеют достаточно высокую стоимость, сложную конструкцию и небольшой ресурс, получение индикаторной диаграммы альтернативным способом остаётся актуальной темой.
Одним из возможных путей решения этой проблемы является использование косвенных методов. Примером могут служить методы, основанные на тензометрировании деталей напрямую или опосредовано воспринимающих усилия от давления газа. На сегодняшний день существует достаточно большое количество уже выдвинутых способов в этой области, но каждый из них к сожалению, имеет свои слабые стороны. Некоторые из методов приведены ниже.
Среди известных методов индицирования таким путём можно выделить:
- измерение сил, действующих в соединении крышки цилиндра и блока дизеля;
- измерение деформации втулки цилиндра;
- измерение сил, действующих на форсунку со стороны цилиндра;
- получение индикаторной диаграммы путём установки индуктивного датчика в прокладку головки блока цилиндров;
- измерение сил, действующих в коренных подшипниках.
Измерение сил, действующих в соединении крышки цилиндра и блока дизеля [9].
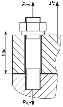
Данный метод косвенного индицирования поршневых двигателей внутреннего сгорания базируется на измерении напряжений, действующих в элементах соединения корпусных деталей. В качестве таких соединительных элементов могут выступать шпильки, болты и др. Примером соединения может выступить связь крышки цилиндра с блоком двигателя. Такой выбор элементов связи в качестве объекта измерения основан на том, что они воспринимают исключительно силы давления газов. двигатель. Расчетная схема представлена на рисунке 1.10.
Рисунок 1.10 – Расчетная схема элементов соединения корпусных деталей: Pпр – сила предварительной затяжки силовых шпилек; Pz – сила, растягивающая шпильку от давления газов; lпш – расчетная длина шпильки
Сила давления газов в момент сгорания топлива будет вызывать растяжение шпильки и сжатие головки, при этом на шпильку будет действовать сила Pz, которую можно рассчитать по формуле:
где Pпр – минимальная сила, растягивающая шпильку, МН;
χ – коэффициент основной нагрузки резьбового соединения;
– диэлектрическая проницаемость в вакууме, Ф/м;
Pz’ – сила давления газов при сгорании, приходящаяся на одну шпильку, МН;
Исполнение метода заключается в том, что под гайку или болт крепления головки блока цилиндров помещают датчик давления, который выполнен в виде стальной шайбы с закрепленными на ней тензорезисторами. Усилия, которые возникают под действием сил давления газов в цилиндре двигателя, передаются шпилькам или болтам крепления головки блока. Датчик давления воспринимает аналогичные усилия и преобразует их в электрический сигнал [10]. Такое решение существенно упрощает устройство датчика и делает его конструкцию универсальной. Минус данного метода заключается в том, что датчик установлен с предварительной затяжкой, начальное значение которой с течением времени будет изменяться из-за множества факторов, действующих в дизеле. Это означает, что значение предварительной деформации датчика будет с каждым разом изменяться, что приведёт к изменению положения нулевой линии полученных данных.
Измерение деформации втулки цилиндра [11]. Примерную конструкцию устройства можно наблюдать на рисунке 1.11.
Рисунок 1.11 – Комплект измерительного устройства: 1 – втулка цилиндра; 2 – шайба; 3 – чувствительный элемент; 4 – электроизоляционная шайба; 5 – выемка для контактов; 6 – оболочка датчика; 7 – осевой канал; 8 – вырез для приложения крутящего момента; 9 – уплотнительное кольцо; 10 – кожух; 11 – контактное кольцо; 12 – штифт; 13 – электропроводный материал; 14 – электрический контакт; 15 – неглубокий канал; 16 – уплотнительное кольцо; 17 – компрессионное кольцо
Предлагается установить ряд дополнительных устройств на гильзу цилиндра. Сам чувствительный элемент выполнен в виде шайбы, которая одевается на внешнюю часть гильзы цилиндра, с целью – улавливать упругую деформацию внешних стенок. Для того чтобы защитить тензоэлемент от внешних воздействий предназначены уплотнительные и компрессионные кольца, которые скрыты под защитным кожухом.
Основным минусом является тот факт, что данную систему необходимо изготавливать индивидуально для каждого двигателя.
Измерение силы, действующей на форсунку со стороны цилиндра [12].
Во время работы двигателя давление в камере сгорания будет действовать на форсунку с силой, которая будет стремиться вытолкнуть её из цилиндра. Таким образом в зажиме возникает сила, которая пропорциональна давлению в цилиндре.
















