диплом мой (1223579)
Текст из файла
1.Общие сведения о ленточных конвейерах
Ленточными конвейерами называют машины непрерывного транспорта, несущими и тяговыми элементами которых является гибкая лента. Ленточные конвейеры нашли широкое распространение. Их применяют для перемещения сыпучих и штучных грузов на короткие, средние и дальние расстояния во всех областях современного промышленного и сельскохозяйственного производства, при добыче полезных ископаемых, в металлургии, на складах и в портах, используют в качестве элементов погрузочных и перегрузочных устройств, а также машин, выполняющих технологические функции
Производительность ленточных конвейеров зависит от ширины и скорости ленты и колеблется в весьма широких пределах – от нескольких десятков до тысяч тонн в час. Длина конвейеров ограничивается исключительно прочностью ленты. Для перемещения на дальние расстояния применяют ряд последовательно расположенных конвейеров, образующих общую транспортную линию любой длины.
Ленточные конвейеры отличаются высокой производительностью, простотой конструкции, малой материалоемкостью, надежностью в работе, удобством в эксплуатации, относительно небольшим расходом энергии. Они могут иметь криволинейную трассу с поворотами в горизонтальной плоскости и с подъемами и спусками в вертикальной в зависимости от рельефа местности. Однако создание криволинейной трассы сопряжено с трудностями обеспечения надежного и стабильного положения ленты на криволинейных участках. Достоинствами конвейерных лент являются их относительная малая масса, отсутствие быстроизнашивающихся шарниров, возможность перемещения грузов с большими скоростями. Срок службы конвейерных резинотканевых лент в зависимости от условий эксплуатации, характеристики транспортируемого груза, типа тканевого каркаса и времени одного оборота проьега ленты составляет 25-48 мес. Применение ленточных конвейеров ограничено диапазоном температур от
. К недостаткам ленточных конвейеров следует также отнести пыление при траспортировании легких сыпучих грузов.
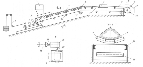
1– натяжное устройство; 2, 8, 12 – натяжной, приводной, отклоняющий барабаны; 3 – загрузочная воронка;4, 13 – роликовые опоры; 5 – роликовая батарея; 6 – плужковый сбрасыватель; 7 – лента;9 – разгрузочная коробка; 10 – скребок; 11 – металлоконструкция; 14 – электродвигатель; 15, 17 – муфты; 16 – редуктор.
Рисунок 1.1 Ленточный конвейер
Несущим и тяговым элементом ленточного конвейера общего назначения (рисунок 1) является бесконечная гибкая лента 7, опирающаяся верхней (рабочей) и нижней (холостой) ветвями на роликовые опоры 4, 13 и огибающая на концах конвейера приводной 8 и натяжной 2 барабаны. У коротких конвейеров, часто используемых для перемещения штучных грузов, рабочая ветвь ленты может скользить по деревянному или металлическому настилу. Движение передается ленте фрикционным способом от приводного барабана. Необходимое первоначальное натяжение на сбегающей ветви ленты создается натяжным барабаном при помощи натяжного устройства 1 грузового или винтового типа. Сыпучий груз подается на ленту через загрузочную воронку 3, устанавливаемую обычно в начале конвейера у концевого натяжного барабана 2. Разгрузка ленты может быть конечной или промежуточной, для чего используют передвижную разгрузочную тележку или стационарный плужковый сбрасыватель 6. Направление потока сбрасываемого груза обеспечивается разгрузочной коробкой 9, имеющей одну или две воронки.
Для очистки рабочей стороны ленты от оставшихся частиц устанавливают вращающиеся щетки (капроновые, резиновые) или неподвижный скребок 10. Для многих видов грузов установка очистного устройства совершенно необходима, так как прилипшие частицы образуют на роликах трудноудаляемую неровную корку и могут привести к неравномерному их вращению, вызывающему ускоренное изнашивание ленты. Хорошо очищает ленту вращающийся барабан резиновыми спиральными скребками.
Привод ленточного конвейера состоит из барабана 8, электродвигателя 14, редуктора 16 и соединительных муфт 15, 17. На поворотных участках ветвей трассы устанавливают роликовые батареи 5, создающие плавный перегиб ленты, или отклоняющие барабаны 12.
Все элементы конвейера монтируют на металлоконструкции 11, прикрепляемой к фундаменту или к опорным частям здания. Металлоконструкцию с приводом и разгрузочной коробкой называют приводной станцией. Часть конструкции с натяжным устройством и загрузочной воронкой составляет натяжную станцию. Между обеими станциями расположена средняя часть конвейера, которая выполнена из одинаковых линейных секций. Линейные секции, переходные участки, приводная и натяжная станции соединены болтами.
Возрастающее использование ленточных конвейеров требует повышения их качества и технико-экономических показателей, ставит перед исследователями важные задачи: создание высокопрочных и теплостойких лент , повышение срока службы роликов опор, разработка уточненных методик расчета, создание надежно действующих загрузочных и перегрузочных устройств, приводов большой мощности, снижение материалоемкости, конструкции т.п.
По профилю трассы ленточные конвейеры разделяют на горизонтальные (рисунок 2, а), наклонные (рисунок 2, б), и комбинированные: горизонтально-наклонные с двумя перегибами (рисунок 2, в) и состоящие из горизонтального и наклонного конвейеров ( рисунок 2, г)
а – горизонтальный; б – наклонный; в – комбинированный ; г – комбинированный с разгрузочной тележкой
Рисунок 1.2. Схемы конструкции конвейеров
1.1Роликовые опоры и ролики
Роликовые опоры относятся к основным элементам ленточного конвейера. От их работы во многом зависят срок службы ленты, энергоемкость и качество конвейера. К роликоопорам и прежде всего к роликам предъявляют высокие требования. Они должны быть удобными при установке и эксплуатации, недорогими и долговечными, обладать малым сопротивлением, вращению и обеспечивать необходимую устойчивость и желобчатость ленты.
Для рабочей ветви ленты при транспортировании сыпучих грузов применяют многороликовые опоры, а при перемещении штучных грузов так называемые прямые опоры, состоящие и одного ролика (рисунок 3, а). Наибольшее распространение получили трехроликовые опоры (рисунок 3, к). Двухроликовые опоры (рисунок 3, б) применяют в передвижных конвейерах легкого типа, а пятироликовые (рисунок 3, в) – в конвейерах с лентами большой ширины. При использовании пятироликовых опор увеличивается глубина желоба, увеличивается вписываемость ленты между роликамииз-за уменьшения относительных углов перегиба. Так как пятироликовые опоры имеют почти в 2 раза больше подшипников (по сравнению с трехроликовыми), условия эксплуатации конвейеров с этими опорами усложняются.
а – однороликовая; б – двухроликовая; в – пятироликовая; г – с гибкой осью; д – скольжения по настилу; е – с роликами, футерованными резиновыми кольцами; ж – с резиновыми дисками на роликах; з – центрирующая; и – с подрессориванием; к – трехроликовая с роликами в одной плоскости; л – с вынесенным горизонтальным роликом (схема в плане); м – центрирующая при реверсном движении ленты; н – самоустанавливающаяся с симметричным желобом.
Рисунок 1.3. Опоры ленточных конвейеров
Гибкий каркас современных лент со сравнительно невысокой поперечной жесткостью позволяет применять трехроликовые опоры с повышенным углом наклона боковых роликов
и 36
, благодаря чему существенно увеличиваются площадь поперечного сечения слоя груза на ленте и производительность конвейера. Нижняя ветвь ленты большей частью имеет однороликовые опоры, и только для конвейеров с широкими лентами возможно применение двухроликовых опор.
В конвейерах общего назначения используют роликовые опоры с жестким креплением осей (рисунок 3, а, б). В горнодобывающей промышленности часто применяют конвейеры с подвесными опорами, которые прикрепляют к натянутым вдоль рамы стальным проволочным канатам. Податливость подвесных опор в продольном направлении снижает динамические нагрузки при наезде на ролики крупных кусков груза. Конструкция подвесных опор сложна, а их шарниры подвержены потере подвижности. Сопротивление движению ленты на этих опорах выше, чем на опорах с жесткими осями. Аналогичные недостатки свойственны подвесным опорам с гибкой осью из стального каната (рисунок 3, г)
При жестком способе крепления оси 4 с лысками на концах (рисунок 3, к) закладывают в прорези стоек 5 поперечины 6 из уголка или швеллера. Поперечины крепят к раме конвейера болтами. Как правило, все ролики опоры размещают в одной вертикальной плоскости. Такая установка роликов упрощает конструкцию поперечины со стойками, но может вызвать повреждение обкладок ленты в местах контакта ее торцовыми кромками обечаек роликов.
Вынесение горизонтального ролика по ходу движения вперед или назад (рисунок 3, л), улучшая условия перегиба ленты, усложняет конструкцию поперечины со стойками. Какого-либо убедительного объяснения целесообразности установки ролика за пределами плоскости опоры пока еще не получено, поэтому имеющиеся рекомендации носят противоречивый характер. Решение этой задачи повлияет на создание рациональной конструкции поперечины. Масса поперечины со стойками для некоторых конвейеров все еще велика и в среднем больше массы вращающихся частей стальных роликов трехроликовой опоры в 1,2…1,5 раза.
Появившиеся в последнее время опоры с роликами на выносных подшипниках имеют уширенные в верхней части стойки для установки в широкий паз всего корпуса подшипника.
На протяжении верхней и нижней ветвей трассы устанавливают так называемые рядовые опоры. Специальные опоры располагают лишь в отдельных местах конвейера для выполнения дополнительных функций. К специальным опорам относятся переходные опоры, размещаемые у приводного барабана, центрирующие опоры различных типов, опоры с подрессориванием для смягчения ударов падающих кусков груза в пункте загрузки, пружинные опоры (рисунок 3, и) и опоры из резинометаллических блоков (рисунок 3, е), опоры с ободом из резиновых дисков, служащих для очистки ленты на нижней ветви конвейера (рисунок 3, ж)
При разработке и эксплуатации конвейеров особое внимание необходимо уделять центрированию хода ленты. Во время работы конвейера из-за неточной стыковки концов ленты, серповидности, неравномерной вытяжки по ширине и несимметричного размещения груза ленты постоянно смещается в поперечном направлении. На поперечное смещение большое влияние оказывают точность монтажа опор и установка специальных центрирующих устройств. Принцип действия одной из самоцентрирующих опор заключается в том, что сместившаяся в сторону лента 2 (рисунок 3, з) поворачивает всю опору вокруг вертикальной оси 1 в направлении вектора скорости
ленты со стороны ее смещения на некоторый угол. Эффект поворота центрирующей опоры повышается при использовании дополнительных с вертикальными осями дефлекторных роликов 3. С местившаяся лента, воздействуя на дефлекторный ролик с усилием
, увеличивает момент поворота опоры. При этом лента возвращается к середине конвейера из-за несовпадения векторов скорости ленты и окружной скорости роликов
в точках контакта. Дефлекторные ролики в рассмотренной системе устанавливают с учетом хода ленты перед опорой. При необходимости реверсирования хода ленты дефлекторные ролики не применяют вообще или, совмещая с плоскостью опоры (рисунок 3, м), закрепляют на поворотной стойке. При воздействии ленты на шарнирно закрепленный на стойке опоры дефлекторный ролик 7 его рычаг 10 совершает небольшой поворот вокруг оси 11 шарнира и фрикционная накладка 9 притормаживает боковой ролик 8, вызывая поворот всей опоры. В последнее время применяют центрирующие станции с несколькими сблокированными опорами, автоматически включающимися от привода со следящей системой.
Характеристики
Тип файла документ
Документы такого типа открываются такими программами, как Microsoft Office Word на компьютерах Windows, Apple Pages на компьютерах Mac, Open Office - бесплатная альтернатива на различных платформах, в том числе Linux. Наиболее простым и современным решением будут Google документы, так как открываются онлайн без скачивания прямо в браузере на любой платформе. Существуют российские качественные аналоги, например от Яндекса.
Будьте внимательны на мобильных устройствах, так как там используются упрощённый функционал даже в официальном приложении от Microsoft, поэтому для просмотра скачивайте PDF-версию. А если нужно редактировать файл, то используйте оригинальный файл.
Файлы такого типа обычно разбиты на страницы, а текст может быть форматированным (жирный, курсив, выбор шрифта, таблицы и т.п.), а также в него можно добавлять изображения. Формат идеально подходит для рефератов, докладов и РПЗ курсовых проектов, которые необходимо распечатать. Кстати перед печатью также сохраняйте файл в PDF, так как принтер может начудить со шрифтами.
















