диплом мой (1223579), страница 5
Текст из файла (страница 5)
2.Общие расчеты конвейера
2.1. Расчет параметров конвейера до модернизации
2.1.1 Анализ обобщение и дополнение исходных данных
Песок— осадочная горная порода, а также искусственный материал, состоящий из зёрен горных пород. Очень часто состоит из почти чистого минерала кварца (вещество — диоксид кремния).
Исходных данных не хватает, дополнительные данные приведены в таблице
Таблица 2.1 -Дополнительные данные
| Наименование груза | Песок |
| Насыпная плотность т/м. куб | 1,4 |
| Угол естественного откоса град. В покое В движении | 30 10 |
| Коэффициент внешнего трения По резине По стали | 0,4 0,5 |
| Коэффициент внутреннего трения | 0,7 |
| Подвижность | Средняя |
| Абразивность | Категория С |
2.1.2 Составление предварительной расчетной схемы конвейера
1 – натяжной барабан; 2 – загрузочное устройство;3 – роликоопоры;4 – лента; 5 – привод конвейера
Рисунок 2.1. Схема конструкции ленточного конвейера
Угол
2.1.2.1 Предварительный выбор тягового органа конвейера
В конвейерах применяют резинотканевые, резинотросовые, металлические сплошные и проволочные ленты. Они используются в качестве грузонесущего элемента, осуществляя одновременно и тяговую связь между барабанами конвейера. Лента должна быть высокопрочной, гибкой в продольном и поперечном направлениях, обладать высокой влагостойкостью и износостойкостью рабочих поверхностей, не должна расслаиваться при многократных перегибах, должна иметь небольшое упругое и остаточное удлинение.
2.1.3 Выбор типа ленты.
Тип ленты зависит от характеристики груза, а также от температуры окружающей среды. Таким образом, имея для транспортировки среднеабразивныймелкокусковойгруз в средних условиях эксплуатации, выбирается лента второго типа второго подтипа.
Ленты общего назначения шириной до 1000 мм включительно изготовляют с резиновыми или нарезными бортами; каркас ленты изготовляют из тканей типов ТА-100, ТК-100, ТА-150, ТК-200-2, ТЛК-200, ТА-300, ТК-300 с нитями основы и утка из синтетического волокна с прочностью прокладки от 100 до 300 Н/мм и из тканей из комбинации полиэфирного и хлопчатобумажного волокна типа.каркас ленты изготовляют из тканей типов ТА-100, ТК-100, ТА-150, ТК-200-2, ТЛК-200, ТА-300, ТК-300 с нитями основы и утка из синтетического волокна с прочностью прокладки от 100 до 300 Н/мм и из тканей из комбинации полиэфирного и хлопчатобумажного волокна типа БКНЛ-55 с прочностью прокладки 55 Н/мм. Минимальное число прокладок каркаса 3; между тканевыми прокладками каркаса должны быть резиновые прослойки; минимальные толщины рабочей/нерабочей наружных резиновых обкладок 3/1 мм; классы прочности резины по физико-механическим показателям для наружных обкладок ленты А, Б, И, М, Г-1, Г-2, Т-1, Т-2, Т-3
2.1.4. Предварительное определение мощности привода конвейера
Приближенная мощность привода вычисляется по следующей формуле:
(2.1)
где
- обобщенный коэффициент сопротивления (
);
- горизонтальная проекция длины конвейера, м;
- высота подъема груза по заданию,
;
- расчетная производительность конвейера по заданию;
Таким образом:
2.1.5 Определение тягового усилия на приводном барабане
Тяговое усилие на приводном барабане определяется по формуле:
, (2.2)
где
– скорость движения ленты по заданию, м/с
Натяжение в набегающей на приводной барабан ветви ленты определяется:
(2.3)
где
– тяговый фактор[1], принимается
f – коэффициент трения между лентой и поверхностью приводного барабана, назначается исходя из заданных для проектирования и дополнительно назначенных данных, а также условий работы), принимаем
;
– угол обхвата барабана лентой в радианах( первоначально принимается
, что соответствует углу обхвата 180);
Подставляя в (2.3) принятые значения, получаем:
Натяжение в сбегающей ветви:
(2.4)
2.1.6 Определение ширины ленты
Исходя из полученной нами расчетной массовой производительности конвейера, определяем необходимую полную ширину ленты по формуле:
, (2.5)
где
- коэффициент угла наклона конвейера.
;
- коэффициент типа роликовых опор.
.
Полученная по производительности ширина ленты округляется до ближайшего большего размера, предусмотренного ГОСТ 20-85. Исходя из этого, принимаем ширину ленты В=500 мм.
2.1.7 Предварительное число прокладок тягового каркаса ленты
Необходимое число прокладок определяется по формуле
(2.6)
где
- предел прочности на разрыв 1 см ширины одной прокладки
(2.7)
где
- коэффициент запаса прочности,
– для горизонтальных;
– для наклонных конвейеров
Полученное число прокладок округляем до целого числа в большую сторону с учетом существующего количества в данном типе
.
2.1.8 Определение размерных и весовых характеристик выбранной ленты
2.1.8.1 Определение толщины ленты в соответствии с ее конструкцией
По исходным данным из справочного материала определяем следующие характеристики резинотканевой ленты:
где
и
– соответственно толщина верхней и нижней обкладок, мм (принимаются по табл.7);
– толщина одной прокладки тягового каркаса, равная: для синтетических тканей – 2,0, 1,9, 1,4, 1,8, 1,2 мм соответственно для прочности ткани 400, 300, 200, 150, 100 Н/мм; для комбинированных тканей типа БКНЛ – 1,6, 1,8, 1,15 мм соответственно для прочности 150, 100, 55 Н/мм;
– число прокладок каркаса.
Тогда расчетная толщина резинотканевой ленты определится из формулы:
(2.8)
Таким образом ,
2.1.8.2 Определение массы одного погонного метра ленты
Погонная масса резинотканевой ленты определяется по формуле:
(2.9)
2.1.8.3 Составление полного условного обозначения выбранной ленты
Лента 2.2-500-3-ТК-100 -4,5-3-РБ ГОСТ 20-85.
2.1.9 Выбор конструкции и параметров направляющих и поддерживающих устройств
2.1.9 Выбор направляющих устройств
2.1.9.1 Выбор приводного барабана
Для резинотканевых лент диаметр приводного барабана определяется по формуле
, (2.10)
где
- число прокладок каркаса,
;
- коэффициент, зависящий от прочности ленты,
, для прочности 100 Н/мм;
- коэффициент назначения барабана,
- для приводного барабана;
Полученный диаметр приводного барабана округляется до ближайшего размера из нормального ряда:
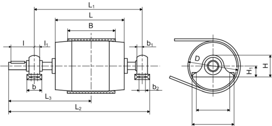
Схема приводного барабана представлена на рисунке 2, а его основные размеры в таблице 2.
Рисунок 2.2. Схема приводного барабана
Таблица 2.2 - Параметры приводного барабана.
| Ширина ленты, мм | Размеры, мм | ||||||||||||
| D | L | L1 | L2 | L3 | H | b | b3 | b4 | dб | l1 | l | Подшипник | |
| 500 | 500 | 600 | 850 | 1140 | 647 | 185 | 85 | 64 | 270 | 24 | 138 | 84 | 3516 |
2.1.9.2 Выбор натяжного барабана
Общий ход натяжного устройства определяется по формуле:
, (2.11)
где
- монтажный ход, который компенсирует изменение длины ленты при ее ремонте и перестыковке
=150мм;
- рабочий ход натяжного устройства, составляет 1% от полной длины трассы конвейера,
Тогда общий ход натяжного устройства будет равен:
Так как
нужно установить винтовое натяжное устройство
Диаметр натяжного барабана определяется по формуле (2.10)
Полученный диаметр натяжного барабана округляется до ближайшего размера из нормального ряда:
Схема и параметры винтового устройства представлены на рисунке 8 и в таблице 4 соответственно.
















