Готовый диплом (1220484), страница 11
Текст из файла (страница 11)
Таблица 3.2Технические характеристики крана СКГ-30
| Характеристика | Значение |
| Длина стрелы, м | 30,0 с гуськом 26,0 м |
| Грузоподъемность при вылете стрелы, т - наибольшем - наименьшем | 2,0 7,5 |
| Вылет стрелы, м - наибольший - наименьший | 25,93 10,5 |
| Высота подъема крюка при вылете стрелы, м - наибольшем - наименьшем | 23,2 29,5 |
Рисунок 3.1-Грузовысотные характеристики крана СКГ-30/7,5
Подготовка конструкций к подъему.
Перед монтажом наносят на фундаменты и на конструкции колонн продольные и поперечные оси и проверяют правильность положения залитых анкерных болтов. Анкерные болты заделывают в фундаменте во время бетонирования. Оставлять в фундаментах колодцы для последующей заливки болтов не рекомендуется, ввиду трудности заливки колодцев и сложности раскрепления колонны до затвердения раствора.
Для заделки болтов точно в проектном положении в плане применяется стальной шаблон-рамка с отверстиями для пропуска болтов (рис. 3.2, а). Шаблон при бетонировании фундамента поддерживает анкерные болты в проектном положении.
Рисунок 3.2-Способ крепления колонны к фундаменту: а - шаблон для установки анкерных болтов; б - колпачок для сохранения резьбы.
- фундаменты с залитыми в них анкерными болтами не доводят до проектной отметки на 50-60 мм, а после установки колонны производят подливку раствора под плиту опоры.
- толщина подливки в проектную отметку составляет 50 мм. Верхняя поверхность бетонного фундамента должна быть сравнительно ровной (высота отдельных выступов не должна превышать 10 мм). На анкерные болты наносят риски, служащие для регулирования высоты установки колонн. Колонны устанавливают на стальных подсадках строго на проектной отметке с допуском не более +3 мм и после выверки проводят подливку цементного раствора под опорную плиту.
Отверстия для анкерных болтов в башмаках колонн выполняются в 1,5-2 раза больше диаметра анкерного болта.
Для предохранения резьбы от порчи при насадке башмака применяют приспособление стахановца Калашникова, состоящее из заостренного колпачка, надеваемого на анкерный болт. Заострение облегчает наводку отверстий башмака. Применение колпачков повышает производительность труда монтажников, так как исключает необходимость в трудоемкой работе по исправлению резьбы.
Подготовку стыков конструкций перед подъемом следует выполнять заранее на складах конструкций, а при завозе их непосредственно к месту подъема – у мест выгрузки с транспорта.
В состав операций по подготовке конструкций к подъему входят: определение и разметка центра тяжести конструкции, проверка стыковых накладок, очистка стыкуемых поверхностен от ржавчины и грязи, проверка комплектности накладок, косынок, монтажных планок, проверка наличия монтажных отверстий и уголков для строповки и исправление поврежденных стыков. На монтируемые конструкции наносят риски осей и отметки высотных разбивок.
В состав работ по подготовке входит установка на монтажных элементах приспособлений для монтажников: лестниц, подмостей, люлек и т. п. Для устранения раскачивания и для регулирования положения конструкций на весу к монтажным элементам перед подъемом привязывают оттяжки (стальные или пеньковые канаты). Эти работы производятся уже у места подъема.
Для захвата конструкций при подъеме применяется строп, универсальный (рис. 3.3) представляет собой кусок троса. Концы его сплетены на длине а, которая должна равняться 20-25 d (d - диаметр троса)
Рисунок 3.3 -универсальный строп
Универсальный строп имеет широкое применение и используется для захвата большинства конструктивных элементов. Кроме универсального стропа, применяются облегченные стропы, имеющие на концах петли или крюки (рис. 3.4). Во избежание перетирания отдельных проволочек в петли вставляют коуши. Наиболее распространены стропы из тросов диаметром от 11 до 30 мм.
При подборе диаметров тросов для стропов пользуются специальными таблицами, в которых приведены диаметры троса в зависимости от веса поднимаемого груза, крутизны стропа и числа ветвей.
Строповка.
Строповка стальных колонн производится за верхний конец. Этим обеспечивается вертикальность подачи ее к месту установки, значительно облегчается наводка башмака на анкерные болты и совмещение осей башмака с разбивочными осями при установке колонны на фундамент. Поднятая колонна подается краном к фундаменту и наводится на анкерные болты, с которых сняты гайки. Гайки должны быть пригнаны к болтам, резьба их должна быть смазана и защищена от повреждения колпачками, толем и т. п.
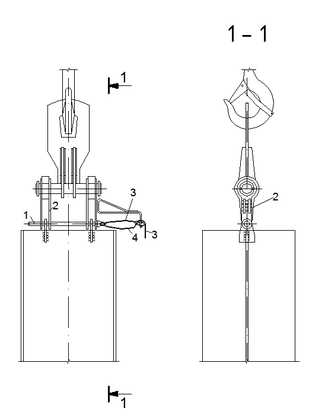
Строповка колонны производится автоматическим захватом (рис 3.4)
Рисунок 3.4-Строповка колонны полуавтоматическим захватом.
Строповку поднимаемой конструкции колонны надо производить выше ее центра тяжести так, чтобы конструкция во время подъема не могла перевернуться и чтобы для заводки стыков не требовалось ее разворачивать дополнительно в вертикальной плоскости. Кроме того, после подъема должна быть обеспечена удобная и легкая расстроповка поднятой и закрепленной конструкции. Правильно выбранный способ строповки обеспечивает повышение производительности труда монтажников.
Во избежание порчи элементов конструкции и быстрого износа стропов под них подкладывают деревянные или стальные подкладки.
Подача и подъем конструкций.
Предварительная раскладка колонн, балок длиной 15метром у мест подъема. Остальные металлические конструкции складируются на площадках в зоне действия крана.
Подъем конструкции осуществляется способом, подъем конструкций «на весу».
Большинство конструктивных элементов: балки, колонны, прогоны, связи, листовые конструкции, крупные блоки поднимают способом «на весу», т. е. при помощи крана элемент отрывают от земли, поднимают на нужную высоту и устанавливают в проектное положение.
Подъем колонны состоит из трех последовательно выполняемых операций: перевода колонны из горизонтального положения в вертикальное, подачи колонны к фундаменту в поднятом положении и опускания на фундамент.
Рисунок 3.5- Схема подъема колонны гусеничным краном: способом скольжения.
Подъем «на весу» является обычным способом при применении передвижных кранов, причем возможность одновременно совмещать монтажный элемент не только по вертикали, но по горизонтали значительно облегчает и ускоряет монтаж. Именно он и применяется при монтаже колонн возводимого здания.
В проекте принят монтаж колонн каркаса самоходным гусеничным краном при проходке его внутри здания.
Колонны большой высоты до установки необходимо дополнительно расчаливать в плоскости поперечного разреза здания. Последующая установка колонны создает полную пространственную устойчивость конструкций, и расчалки могут быть сняты.
Колонны захватывают полуавтоматическим захватом. До подъема на колоннах крепят хомуты для навески подмостей и лестницы для монтажников.
При выборе монтажного оборудования следует иметь в виду, что гусеничные краны ближе подходят к месту установки конструкций и могут монтировать их на минимальном вылете стрелы, следовательно, лучше используются по грузоподъемности и высоте подъема, чем краны на рельсовом ходу. Последние вследствие сложности и трудоемкости перекладки пути работают обычно с неполным использованием грузоподъемности, что удорожает монтаж.
3.3 Требования к качеству работ
Требования к качеству поставляемых материалов и изделий, операционный контроль качества и технологические процессы, подлежащие контролю, в соответствии с [ СП 70.13330.2012 ]Несущие и ограждающие конструкции. Приведены в табл.3.3.
Таблица 3.3
Операционный контроль технологического процесса
| Наименование технологического процесса и его операций | Контролируемый параметр | Допускаемые значения параметра, требования качества | Способ (метод) контроля, средства (приборы) контроля/контролирующее лицо |
| Установка опорных плит | Соответствие проекту | Отклонение верха плиты от проектного не должно превышать ±1,5 мм; уклон - 1/1500; смещение осей опор от разбивочных осей-5 мм. | Уровень, нивелир, рулетка/производитель работ |
Продолжение таблицы 3.3
| Наименование технологического процесса и его операций | Контролируемый параметр | Допускаемые значения параметра, требования качества | Способ (метод) контроля, средства (приборы) контроля/контролирующее лицо |
| Приемка фундаментов для установки колонн | Соответствие выполненных фундаментов рабочим чертежам | Отклонения отметок опорных поверхностей фундаментов от проектных - 5 мм. Разность отметок опорных поверхностей соседних фундаментов по ряду и в пролёте - 3 мм. Смещение осей фундаментов относительно разбивочных осей - 5 мм. Смещение анкерных болтов в плане - 5 мм. | Нивелир, рулетка |
| Монтаж колонн | Точность установки | Отклонения отметок опорных поверхностей колонн от проектных - 5 мм. Разность отметок опорных поверхностей соседних колонн по ряду и в пролёте - 3 мм. Смещение осей колонн относительно разбивочных осей в опорном сечении -5 мм. Отклонения осей колонн от вертикали в верхнем сечении - 10 мм. | Измерительный, каждый элемент. Рулетка, теодолит, линейка измерительная |
Продолжение таблицы 3.3
| Постановка болтов в монтажных стыках | Проверка плоскости стяжки и качества затяжки собранного узла | В собранном узле болты заданного в проекте диаметра должны пройти в 100% отверстий. Допускается прочистка 20% отверстий сверлом, диаметр которого равен диаметру отверстия, указанному в чертежах. Плотность стяжки собранного узла надлежит проверять щупом толщиной 0,3 мм, который в пределах зоны, ограниченной шайбой, не должен проходить между собранными деталями на глубину более 20 мм. Качество затяжки постоянных болтов следует проверять обстукиванием их молотком массой 0,4 кг, при этом болты не должны смещаться. | Гайковерт, молоток, визуальный осмотр |
| Сварочные работы | Контроль сварных соединений в процессе их выполнения, соответствие проекту марки электродов | Поверхность шва должна быть равномерно-чешуйчатая, без прожогов, наплывов, сужений и перерывов. Глубина подрезов - до 5 % толщины свариваемого проката, но не более 1 мм. Дефекты (непровары, цепочки и скопления пор), соседние по длине шва: расстояние между близлежащими концами - не менее 200 мм. | Линейка измерительная, визуальный осмотр |
3.4 Потребность в материально-технических ресурсах
Перечень машин и оборудования приведен в табл. 3.4.
Перечень технологической оснастки, инструмента, инвентаря и приспособлений приведен в табл. 3.5.
Материалы и изделия представлены в табл. 3.6.















