ПЗ (1218821), страница 3
Текст из файла (страница 3)
Расход воздуха, который необходимо подавать в лифтовой шахте для создания подпора при пожаре:
Массовый расход воздуха, который необходимо подавать для предотвращения выхода продуктов горения через открытый дверной проем, Gп, кг/с, определяют по формуле:
Расход воздуха, который необходимо подавать в лифтовом холле цокольного этажа для создания подпора при пожаре:
Проведя расчеты и проанализировав характеристики вентиляторов фирмы «ВЕЗА» мы выбираем два двигателя : ОСА501-100-Н-00400/4-У2 и ОСА501-050-Н-00400/2-У2.
Вентиляторы осевые высокого давления серии ОСА 501 состоят из рабочего колеса новой конструкции, цельносварного цилиндрического корпуса и асинхронного двигателя, размещенного в корпусе. Рабочее колесо с регулируемым углом установки лопаток. Лопатки выполнены объемными, литьем под давлением. Живое сечение потока воздуха максимально увеличено, что дает значительное снижение скорости на выходе. Внешний вид вентилятора изображен на рисунке 2.3.
Рисунок 2.3 – Внешний вид вентилятора ОСА501
Благодаря новой конструкции колеса вентиляторы спроектированы с наиболее высоким статическим КПД при напорах 400-900Па.Корпус выполнен в виде цилиндрической обечайки на специальном оборудовании с высокой точностью внутреннего кругового сечения. С двух сторон корпуса вентиляторов расположены фланцы унифицированных размеров. При отсутствии сети на входе необходимо использовать входной коллектор ВКО-ОСА или переходник тороидальный ПЕТ-ОСА. Направление потока всегда с колеса на мотор независимо от ориентации в пространстве. Вентилятор изготовлен из углеродистой стали. Все элементы вентилятора имеют защитно-декоративное лакокрасочное покрытие. Вентиляторы должны устанавливаться вне обслуживаемого помещения и за пределом зоны постоянного пребывания людей. Они предназначены для эксплуатации в условиях умеренного (У) климата 2-ой категории размещения по ГОСТ 15150-69.
Условия эксплуатации:
-
температура окружающей среды от минус 40 до +40°С;
-
перемещаемая среда в обычных условиях недолжна содержать абразивных и липких веществ, волокнистых материалов, паров или пыли, иметь агрессивность по отношению к углеродистым сталям, алюминиевым сплавам и материалу GRP выше агрессивности воздуха и содержать пыль и другие твердые примеси в концентрации более 100мг/м3;
-
среднее значение виброскорости внешних источников вибрации в местах установки вентилятора не более 2мм/с.
Расшифровка маркировки ОСА501-100-Н-00400/4-У2 и ОСА501-050-Н-00400/2-У2.
Вентилятор осевой ОСА501; типоразмер 100 и 050; общепромышленного исполнения; климатическое исполнение У2.
В таблице 2.5 представлены параметры двигателей.
Таблица 2.5 – Параметры двигателей
| Параметры двигателей | ОСА501-100-Н-00400/4-У2 | ОСА501-050-Н-00400/2-У2 |
| Номинальная мощность, кВт | 4 | 4 |
| Количество полюсов | 4 | 2 |
| Номинальная частота вращения, об/мин | 1500 | 3000 |
| Масса, кг | 8,6 | 43 |
| Ток при 380 В, А | 109 | 8,4 |
2.4 Клапан дымовой с электроприводом
Клапан КЛАД-3 - это противопожарный нормально - закрытый клапан, который предназначен для применения как в вытяжных, так и в приточных системах противодымной вентиляции зданий и сооружений. На рисунке 2.4 представлен внешний вид клапана КЛАД-3.
Рисунок 2.4 – Внешний вид клапана КЛАД-3
В вытяжных системах дымоудаления КЛАД-3 может применяться в качестве дымового клапана, в приточных - в качестве нормально - закрытого.
В исходном режиме заслонка клапана КЛАД-3 находится в закрытом положении. При переводе в рабочий режим, заслонка клапана открывается предоставляя возможность для удаления дыма и продуктов горения через шахты и вентиляционные каналы. Монтаж клапана КЛАД-3 осуществляется в горизонтальных и вертикальных проемах противодымной вентиляции, подвесных потолках, перекрытиях, ответвлениях воздуховодов.
Расшифровка маркировки клапана КЛАД-3:
-
наименование клапана: КЛАД-3;
-
тип клапана: С - клапан "стенового" типа (фланец есть только на одной (лицевой стороне), привод расположен внутри клапана, то есть, при установке клапана в стену или в проем шахты обеспечивается доступ к приводу для обслуживания, а сам привод не мешает вставить клапан в стеновой проем без дополнительного расширения проема;
-
размеры клапана: установочные размеры 1000 х 500, мм, для "стенового" клапана (1000 х 500); то есть, размеры непосредственного проходного сечения клапана, (1000 - размер по горизонтали, 500 - размер по вертикали)
-
тип электропривода заслонки: МВЕ(220) или МВЕ(24) - реверсивный привод BELIMO типа BE или BLE. Управление приводом и, соответственно, заслонкой клапана (как открытие, так и закрытие, осуществляется дистанционно, путем подачи питающего напряжения на соответствующие контакты.
-
размещение привода: ВН - привод внутри клапана;
-
плоскость установки клапана: ВГ - вертикальная(стена, перегородка и т.п.), размер 1000 горизонтален;
-
наличие соединительной коробки с клеммной колодкой: К - да;
2.5 Клапан воздушный с электроприводом
ГЕРМИК П — воздушный клапан, разработанный специально для эксплуатации в условиях пониженных температур (до 40°С), отличается конструктивными особенностями, предотвращающими теплопотери через лопатки клапана. Внешний вид клапана представлен на рисунке 2.5.
Рисунок 2.5 – Внешний вид клапана Гермик–П
Клапан ГЕРМИК П состоит из корпуса, выполненного из оцинкованной стали, лопатка клапана выполнена из усиленного алюминиевого профиля, примыкание лопаток выполнено в форме замкового уплотнения. Клапан имеет специальное пружинное уплотнение поторцам лопаток. Клапан ГЕРМИК П в своем составе не имеет никаких нагревательных элементов. Кинематика такого клапана — рычаги и тяги, раскрытие лопаток клапана — «параллельное». Стандартно клапан ГЕРМИК П клеммными коробками не оснащается. Клапан ГЕРМИК П помимо общепромышленного имеет и взрывозащищенный вариант исполнения. Внешний вид такого клапана сочетается с существующими требованиями потребителей к дизайну большинства помещений.
Расшифровка маркировки Гермик – П-500×500-Н-1×NM230A-S-1-УХЛ2
Клапан ГЕРМИК П; высотой 500мм и шириной 500 мм, общепромышленного исполнения; с одним электроприводом «открыто - закрыто» напряжением 220 В, с группой конечных выключателей; размещение внутри помещения; климатическое исполнение УХЛ2.
2.6 Клапан обратный
ТЮЛЬПАН — это обратный клапан гравитационного действия лепесткового типа – лепестковый клапан. От обычных (однолопаточных) обратных клапанов его отличает низкая инерционность срабатывания и меньшая регламентированная минимальная скорость потока, необходимая для его раскрытия. Лопатки таких клапанов открываются под действием потока воздуха и автоматически возвращаются в исходное закрытое положение при прекращении подачи воздуха. Особенно актуально использование такого клапана совместно с осевыми вентиляторами имеющими, как правило, меньшую скорость потока на выходе в сравнении с радиальными вентиляторами.
Внешний вид клапана представлен на рисунке 2.6
Рисунок 2.6 – Внешний вид обратного клапана Тюльпан
Клапан ТЮЛЬПАН — изготавливают только прямоугольного сечения в трех основных исполнениях:
-
ТЮЛЬПАН-1 – для работы на горизонтальных участках воздуховода (установлен вертикально);
-
ТЮЛЬПАН-2 – для работы на вертикальных участках воздуховода
(установлен горизонтально) при движении потока воздуха снизу вверх (на вытяжку);
-
ТЮЛЬПАН-3 – для работы на вертикальных участках воздуховода
(установлен горизонтально) при движении потока сверху вниз (на приток).
Клапан ТЮЛЬПАН состоит из четырехстенного коробчатого корпуса и профилированных лопаток, установленных в корпусе на осях и выполненных из оцинкованной стали. Примыкание лопаток клапана ТЮЛЬПАН – замковое.
Расшифровка маркировки тюльпан -1-1250×1250 – Н - УХЛ1. Клапан Тюльпан – 1 высотой 1250 и шириной 1250; общепромышленного исполнения; климатическое исполнение УХЛ1.
2.7 Противопожарный клапан
Противопожарные нормально открытые (огнезадерживающие) клапаны КЛОП-1 предназначены для блокирования распространения пожара и продуктов горения по воздуховодам, шахтам и каналам систем вентиляции и кондиционирования зданий и сооружений различного назначения. Клапаны КЛОП-1 дымовые и нормально закрытые используются в качестве клапанов противодымной вентиляции. Применение клапанов осуществляется в соответствии с нормативными требованиями. Клапаны КЛОП-1 не подлежат установке в помещениях категорий А и Б по взрыво-пожароопасности. В указанных помещениях устанавливаются клапаны КЛОП-1 во взрывозащищенном исполнении. Внешний вид клапана представлен на рисунке 2.7
Рисунок 2.7 – Внешний вид противопожарного клапана
Расшифровка маркировки клапана КЛОП – 1(60)-НЗ 200×200-МВ(220) – К.
Клапан КЛОП; предел огнестойкости 60 минут; нормально-закрытый; высотой 200 мм и шириной 200мм; МВ(220) – электромеханический привод Belimo на 220 В; с соединительной коробкой с клеммной колодкой.
Клапаны КЛОП-1 выпускаются только «канального» типа с двумя фланцами (прямоугольного сечения). Привод клапанов устанавливается снаружи корпуса. Корпус клапанов прямоугольного сечения изготавливается из углеродистой холоднокатаной стали с после- дующей окраской, корпус клапанов круглого сечения – из оцинкованной стали. По специальному заказу корпус может быть изготовлен из нержавеющей стали. Корпус и заслонка таких клапанов изготавливаются из нержавеющей стали (исп. «нерж. сталь»), остальные узлы и элементы конструкции – из углеродистой стали с антикоррозионным цинковым покрытием. Заслонки клапанов заполнены термоизоляцией
2.8 Принципиальные схемы расположения оборудования
На рисунке 2.8 представлены принципиальные схемы вытяжной противодымной вентиляции.
Рисунок 2.8 - Принципиальные схемы расположения оборудования вытяжных систем дымоудаления
На схемах мы можем видеть, что в системах ВД1 и ВД2 забор воздуха происходит через дымовой клапан КЛАД-3, далее продукты горения попадают в воздуховод с огнезащитным покрытием «WiredMat 80» толщиной 60 мм и огнестойкостью EI150, далее через обратный клапан Тюльпан – 1 и вытяжной вентилятор на улицу.
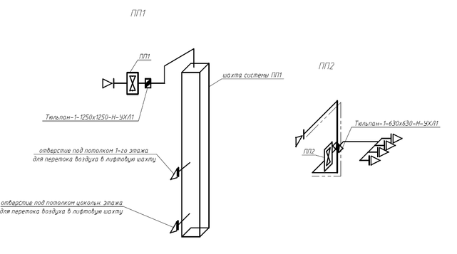
На рисунке 2.9 представлены принципиальные схемы вентиляции подпора воздуха
Рисунок 2.9 – Принципиальные схемы вентиляции подпора воздуха
На схемах мы можем видеть, что в системах ПП1 и ПП2 происходит забор воздуха с улицы, далее по лифтовой шахте поступает в здание через два отверстия под потолком 1-го этажа и под потолком цокольного этажа (автопарковки), в схеме ПП2 воздух поступает через вентиляционную шахту на первом этаже, дальше по воздуховоду поступает в тамбур-шлюз
Схемы расположения оборудования на этажах здания представлены в приложении А.
3 ВЫБОР ОБОРУДОВАНИЯ АВТОМАТИЗАЦИИ
В основе выбора оборудования автоматизация стояло сравнение двух различных охранно-пожарных систем. Первая система фирмы Рубеж. Вторая система «Орион» фирмы Болид. Сравнение характеристик этих систем представлено в таблице 3.1















