ТК фундамент-и (1218429)
Текст из файла
 
 
 
3.1 Разработка технологической карты №1 на устройство фундаментов
3.1.1 Область применения карты
Технологическая карта разработана на устройство монолитной железобетонной фундаментной плиты блок-секции жилого здания, расположенного в г. Новоуральске. Здание семиэтажное с размерами в плане 15,6×23,9 м и с железобетонным каркасом. Возводимые фундаменты – железобетонная плита, объемом 280,44 м3 (467,4 м2), высотой 600 мм по готовому песчаному основанию в земляной выемке глубиной 2,8 м с применением разборно-переставной опалубки.
Ведомость объемов работ, составленная на основании архитектурно-строительных и конструкционных решений, приведена в таблице 3.1.
Таблица 3.1 – Ведомость объемов работ
|   Наименование процесса и операций  |    Объем работ  |  |
|   Ед. изм.  |    Кол-во  |  |
|   Устройство опалубки  |    м2  |    115  |  
|   Установка арматуры  |    т  |    21,5  |  
|   Бетонирование монолитного фундамента  |    м3  |    280,44  |  
Данная технологическая карта применима для нового строительства при выполнении работ в 1 смену в период с положительными температурами воздуха (летнее время) в 1 захватку. Работы следует производить в соответствии с [1; 2; 3; 4; 5].
Рисунок 3.1 Разрез фундамента
3.1.2 Организация и технология выполнения работ
Подготовительные работы:
До начала устройства фундаментов выполнить следующие работы:
- определить пути движения механизмов, места складирования арматуры, опалубки, подготовить оснастку и приспособления;
- возвести все необходимые временные здания и сооружения;
- выполнить противопожарные мероприятия;
- произвести отрывку котлована;
- организовать отвод поверхностных вод от котлована;
- обеспечить временное электроосвещение строительной площадки, рабочих мест и подключить потребителей электроэнергии;
- выполнить бетонную подготовку и составить акт приемки основания;
- произвести геодезическую разбивку осей и разметку положения фундаментов в соответствии с проектом;
- на поверхность бетонной подготовки краской нанести риски, фиксирующие положение рабочей плоскости щитов опалубки.
Подготовленное основание под фундаменты должно быть принято по акту комиссией с участием заказчика, подрядчика и представителя проектной организации. В акте отразить соответствие расположения, отметок дна котлована, фактического напластования и природных свойств грунтов данным проекта, а также возможность заложения фундаментов на проектной отметке, отсутствие нарушений природных свойств грунтов основания или качества их уплотнения в соответствии с проектными решениями. На устройство подготовки под фундаменты составить акты на скрытые работы.
Перед установкой опалубки и арматуры железобетонных фундаментов производитель работ (прораб, мастер) должен проверить правильность устройства бетонной подготовки и разметки положения осей и отметок основания фундаментов.
Основные работы по устройству фундаментов:
Работа по устройству фундаментов состоит из следующих процессов:
-  
Подготовительные работы:
 
-  
разгрузка элементов опалубки с транспортных средств;
 
-  
сортировка конструкций;
 -  
укрупнительная сборка панелей.
 
-  
Опалубочные работы:
 
-  
подача укрупненных панелей опалубки к месту монтажа;
 -  
монтаж укрупнённых панелей опалубки;
 -  
демонтаж укрупненных панелей опалубки;
 -  
подача укрупненных панелей опалубки на площадку складирования.
 
3) Арматурные работы:
-  
укрупнительная сборка арматурных каркасов и сеток на площадке укрупнительной сборки;
 -  
установка арматурных каркасов фундаментной плиты;
 
4) Бетонные работы.
-  
подача бетонной смеси в бункерах краном;
 -  
укладка бетонной смеси в конструкции;
 -  
уход за бетоном.
 
Работы по монтажу арматуры выполняет звено из двух человек: арматурщики 4 разряда (1 чел.) и 2 разряда (1 чел.).
Работы по монтажу опалубки выполняет звено, состоящее из двух человек: слесарь строительный 4 разряда - 1 человека и 3 разряда - 1 человека. Работы по демонтажу опалубки выполняет звено, состоящее из двух человек: слесарь строительный 3 разряда - 1 человека и 2 разряда - 1 человека.
Работы по бетонированию осуществляет звено из четырех человек: бетонщик 4 разряда (1 чел.), бетонщик 2 разряда (2 чел.), слесарь строительный 4 разряда (1 чел.),
 
 
 
Арматурные работы
До монтажа арматуры фундамента должны быть выполнены следующие работы:
-  
разбивка осей и устройство бетонной подготовки;
 -  
доставка и складирование в зоне производства работ необходимого количества арматурных элементов;
 -  
подготовка к работе такелажной оснастки, инструмента и электросварочной аппаратуры.
 
Арматуру следует монтировать в последовательности, обеспечивающей правильное ее положение и закрепление. Для обеспечения проектного защитного слоя бетона необходимо устанавливать пластмассовые фиксаторы. Запрещается применение подкладок из обрезков арматуры, деревянных брусков и щебня. Смонтированная арматуры должна быть закреплена от смещения и защищена от повреждений. Для прохода по арматуре при бетонировании картой предусмотрена установка трапов.
Стыковые соединения арматуры выполняются при помощи вязальной проволоки.
Крестовые пересечения стержней арматуры, смонтированных поштучно, в местах их пересечения скрепляются вязальной проволокой.
Подачу арматурных стержней в зону производства работ осуществляют автомобильным краном. На заранее размеченное основание с интервалом 150 мм укладывают стержни в продольном направлении с одновременным фиксированием расстояния нижней арматуры от основания с помощью пластмассовых фиксаторов (защитный слой). Затем устанавливают плоские поддерживающие каркасы с шагом 300 мм, изготовленные из отдельных стержней на месте строительства. Пересечение продольных стержней с каркасами соединяют вязальной проволокой. После установки поддерживающих арматурных каркасов и крепления их к нижней арматуре укладывают верхние продольные стержни.
Приемку смонтированной арматуры осуществлять до установки опалубки и оформить актом освидетельствования скрытых работ. В акте приемки смонтированных конструкций указать номера рабочих чертежей, отступления от чертежей, оценка качества смонтированной арматуры; после установки опалубки дают разрешение на бетонирование.
Опалубочные работы
Опалубка на строительную площадку поступает комплектно, пригодной к монтажу и эксплуатации, без доделок и исправлений. Хранить элементы опалубки под навесом в условиях, исключающих их порчу. Щиты укладывать в штабели высотой не более 1 - 1,2 м на деревянных прокладках; схватки по 5 - 10 ярусов общей высотой не более 1 м с установкой деревянных прокладок между ними.
Монтаж и демонтаж опалубки вести при помощи автомобильного крана КС-55730-06.
Таблица 3.2 – Технические характеристики крана КС-55730-06
|   Характеристика  |    Значение  |  
|   Базовое шасси  |    МАЗ-6303А3  |  
|   Колесная формула  |    6x4  |  
|   Грузоподъемность  |    32 тонн  |  
|   Длина стрелы, м  |    10,0 - 25,0  |  
|   Скорость подъема (опускания) груза номинал., м/мин  |    5,4  |  
|   Скорость подъема (опускания) груза увелич., м/мин  |    11  |  
|   Скорость посадки, м/мин  |    0,4  |  
|   Частота вращения, мин-1  |    1,5  |  
|   Скорость передвижения, км/ч  |    60  |  
|   Длина, м  |    11,500  |  
|   Ширина, м  |    2,500  |  
|   Высота, м  |    4,000  |  
 
 
 
До начала монтажа опалубки произвести укрупнительную сборку щитов в панели.
Опалубка имеет следующий набор элементов:
- щиты;
- угловые элементы;
- доборы;
- опалубочные замки;
- направляющие опоры;
- подкосы;
- специальные гайки с резьбой;
Установка опалубки начинается с угловых точек. После позиционирования элементы опалубки сразу же подпираются снаружи подкосами, состоящими из консольных подпорок с функциональными распорками, согласно рисунку 3.2 на расстоянии 3,5 м друг от друга. Элементы опалубки соединяются двумя замками, а на углах плиты тремя замками. На земле крепление опалубки осуществляется двумя грунтовыми шпильками.
 
 
Рисунок 3.2 Конструкция опалубочной системы
1 - консольная подпорка, 2 - клин; 3 - щиты опалубки; 4 - клиновые замки
За состоянием опалубки вести непрерывное наблюдение в процессе бетонирования. В случае деформаций отдельных элементов опалубки или недопустимого раскрытия щелей установить дополнительные крепления и исправить деформированные места.
Разборку опалубки производят после достижения бетоном прочности не менее 0,2-0,3 МПа с последующей транспортировкой к месту нового бетонирования.
Демонтаж опалубки производить в порядке, обратном монтажу.
После снятия опалубки:
-  
произвести визуальный осмотр опалубки;
 -  
очистить все элементы опалубки;
 -  
произвести смазку палуб, проверить и нанести смазку на винтовые соединения.
 
Бетонные работы
В состав работ по бетонированию фундаментов входят:
-  
прием и подача бетонной смеси;
 -  
укладка и уплотнение бетонной смеси;
 -  
уход за бетоном.
 
Бетонную смесь к месту укладки подавать автобетононасосом СБ-126А.
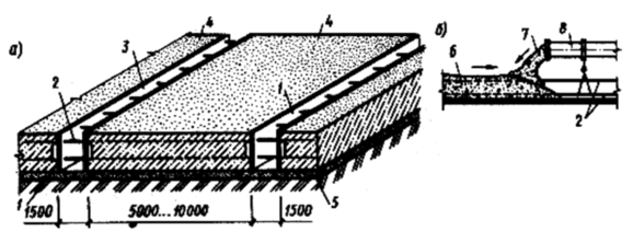
Для осуществления процесса укладки плиты разбивают на карты шириной 5... 10 м, оставляя между ними разделительные полосы шириной 1... 1,5 м (рис. 3.3). Для обеспечения непрерывной укладки смеси на всю высоту плиту разбивают на блоки без разрезки арматуры, с ограждением блоков металлическими сетками.
Рисунок3.3 Укладка бетонной смеси в большеразмерные плиты
а - разбивка на карты бетонирования; б - правила укладки бетонной смеси с применением бетоноводов;
1 - опалубка разделительной полосы; 2 - арматура;
3 - разделительная полоса; 4 - карта бетонирования;
5 - подстилающий слой; 6 - уложенный бетон;
7 - подаваемая бетонная смесь; 8 - бетоновод.
Карты бетонируют подряд, т.е. одну за другой. В разделительные полосы смесь укладывают враспор с затвердевшим бетоном карт после снятия опалубки на их границах. Бетонную смесь подвижностью 2...6 см подают на карты бетононасосами. Подавать ее следует в направлении к ранее уложенному бетону, как бы прижимая новые порции к уложенным.
В плиты даже большой толщины бетонную смесь укладывают в один слой. При этом несколько затрудняется виброуплотнение, поскольку внутренние вибраторы требуется погружать в смесь на глубину, в 1,5... 2 раза превышающую длину рабочей части.
Выравнивают бетон плит по маякам, поверхность заглаживают гладилками, кельмами или полутерками. В местах примыкания стен, опирания колонн и столбов бетон оставляют шероховатым с устройством в отдельных случаях рифления и насечки.
Перед укладкой бетонной смеси должны быть проверены и приняты все конструкции и их элементы, закрываемые в процессе последующего производства работ, с составлением акта на скрытые работы. Непосредственно перед бетонированием опалубка должна быть очищена от мусора и грязи. Поверхности опалубки должны быть покрыты смазкой.
Рабочие швы образуют установкой плоских каркасов, на которые при помощи вязальной проволоки крепят металлическую сетку с ячейками размером не более 10x10 мм (рисунок 3.4).
Рисунок 3.4 Конструкция рабочего шва
1 - металлическая сетка; 2 - защитный слой бетона;
Характеристики
Тип файла документ
Документы такого типа открываются такими программами, как Microsoft Office Word на компьютерах Windows, Apple Pages на компьютерах Mac, Open Office - бесплатная альтернатива на различных платформах, в том числе Linux. Наиболее простым и современным решением будут Google документы, так как открываются онлайн без скачивания прямо в браузере на любой платформе. Существуют российские качественные аналоги, например от Яндекса.
Будьте внимательны на мобильных устройствах, так как там используются упрощённый функционал даже в официальном приложении от Microsoft, поэтому для просмотра скачивайте PDF-версию. А если нужно редактировать файл, то используйте оригинальный файл.
Файлы такого типа обычно разбиты на страницы, а текст может быть форматированным (жирный, курсив, выбор шрифта, таблицы и т.п.), а также в него можно добавлять изображения. Формат идеально подходит для рефератов, докладов и РПЗ курсовых проектов, которые необходимо распечатать. Кстати перед печатью также сохраняйте файл в PDF, так как принтер может начудить со шрифтами.















